TOP
|
特許
|
意匠
|
商標
特許ウォッチ
Twitter
他の特許を見る
10個以上の画像は省略されています。
公開番号
2025005970
公報種別
公開特許公報(A)
公開日
2025-01-17
出願番号
2023106449
出願日
2023-06-28
発明の名称
ボイラ、発電設備、およびボイラの制御方法
出願人
三菱重工業株式会社
代理人
個人
,
個人
,
個人
主分類
F22B
35/00 20060101AFI20250109BHJP(蒸気発生)
要約
【課題】固体燃料とアンモニア燃料の双方を火炉で燃焼させるボイラの負荷を変化させる負荷変化動作を実行する際に、ボイラの負荷変化速度を高める。
【解決手段】ボイラの制御方法であって、ボイラは、火炉内に固体燃料を用いて火炎を形成する固体燃料バーナと、固体燃料バーナに供給される固体燃料の供給量を調整する固体燃料調整部と、火炉内にアンモニア燃料を用いて火炎を形成するアンモニア燃料バーナと、アンモニア燃料バーナに供給されるアンモニア燃料の供給量を調整するアンモニア燃料調整部と、を有し、固体燃料調整部およびアンモニア燃料調整部を制御する制御工程を備え、制御工程S102は、ボイラの負荷を上昇させる負荷上昇動作を実行する際に、負荷上昇動作の開始から完了に至るまでの動作期間において、アンモニア燃料バーナへ供給されるアンモニア燃料の供給量を増加させるようアンモニア燃料調整部を制御するボイラの制御方法を提供する。
【選択図】図5
特許請求の範囲
【請求項1】
火炉へ固体燃料を噴射して燃焼させる固体燃料バーナと、
前記固体燃料バーナに供給される前記固体燃料の供給量を調整する固体燃料調整部と、
前記火炉へアンモニア燃料を噴射して燃焼させるアンモニア燃料バーナと、
前記アンモニア燃料バーナに供給される前記アンモニア燃料の供給量を調整するアンモニア燃料調整部と、
前記固体燃料調整部および前記アンモニア燃料調整部を制御する制御部と、を備えるボイラであって、
前記制御部は、前記ボイラの負荷を変化させる負荷変化動作を実行する際に、前記負荷変化動作の開始から完了に至るまでの動作期間において、前記アンモニア燃料バーナへ供給される前記アンモニア燃料の供給量を変化させるよう前記アンモニア燃料調整部を制御するボイラ。
続きを表示(約 1,100 文字)
【請求項2】
前記制御部は、前記ボイラの負荷を変化させる際に、前記固体燃料バーナへ供給される前記固体燃料の供給量を変化させるよう前記固体燃料調整部を制御する請求項1に記載のボイラ。
【請求項3】
前記制御部は、前記ボイラの負荷を変化させる際に、前記固体燃料バーナへ供給される前記固体燃料の供給量が一定となるように前記固体燃料調整部を制御する請求項1に記載のボイラ。
【請求項4】
前記制御部は、前記ボイラが運転状態となる所定の運転期間中に、前記固体燃料の入熱量と前記アンモニア燃料の入熱量の合計した総入熱量に対する前記アンモニア燃料の入熱量の割合が20%以上かつ80%以下となるように前記固体燃料調整部および前記アンモニア燃料調整部を制御する請求項1から請求項3のいずれか一項に記載のボイラ。
【請求項5】
前記制御部は、前記ボイラが運転状態となる所定の運転期間中に、前記固体燃料の入熱量と前記アンモニア燃料の入熱量の合計した総入熱量に対する前記アンモニア燃料の入熱量の割合が20%以上かつ50%以下となるように前記固体燃料調整部および前記アンモニア燃料調整部を制御する請求項3に記載のボイラ。
【請求項6】
前記負荷変化動作は、前記ボイラの起動後の運転状態において実行される動作である請求項1から請求項3のいずれか一項に記載のボイラ。
【請求項7】
請求項1から請求項3のいずれか一項に記載のボイラと、
前記ボイラで生成された蒸気により駆動される蒸気タービンと、
前記蒸気タービンに連結される発電機と、を備える発電設備。
【請求項8】
ボイラの制御方法であって、
前記ボイラは、
火炉内に固体燃料を用いて火炎を形成する固体燃料バーナと、
前記固体燃料バーナに供給される前記固体燃料の供給量を調整する固体燃料調整部と、
前記火炉内にアンモニア燃料を用いて火炎を形成するアンモニア燃料バーナと、
前記アンモニア燃料バーナに供給される前記アンモニア燃料の供給量を調整するアンモニア燃料調整部と、を有し、
前記固体燃料調整部および前記アンモニア燃料調整部を制御する制御工程を備え、
前記制御工程は、前記ボイラの負荷を変化させる負荷変化動作を実行する際に、前記負荷変化動作の開始から完了に至るまでの動作期間において、前記アンモニア燃料バーナへ供給される前記アンモニア燃料の供給量を変化させるよう前記アンモニア燃料調整部を制御するボイラの制御方法。
発明の詳細な説明
【技術分野】
【0001】
本開示は、ボイラ、発電設備、およびボイラの制御方法に関する。
続きを表示(約 2,200 文字)
【背景技術】
【0002】
従来、微粉炭とアンモニアとを複合燃焼させるボイラが知られている(例えば、特許文献1参照)。特許文献1に開示されるボイラは、負荷を上昇させる負荷上昇動作を実行する際に、負荷上昇動作の開始時にはアンモニア燃料以外の他の燃料のみをバーナ部に供給し、その後にバーナ部の空気比と火炉内の温度が判定条件を満たす場合に、アンモニア燃料の供給を開始する。
【先行技術文献】
【特許文献】
【0003】
特開2022-155820号公報
【発明の概要】
【発明が解決しようとする課題】
【0004】
アンモニア燃料と微粉炭等の固体燃料とを混焼させる場合において、アンモニア燃料の混焼率(燃料の総入熱量に対するアンモニア燃料の入熱量の比率)が固体燃料の混焼率(燃料の総入熱量に対する固体燃料の入熱量の比率)よりも低い場合、主たる燃料が固体燃料となる。この場合、ボイラの負荷を変化させる際には、主たる燃料である固体燃料の供給量を変化させることで、ボイラへの入熱量を変化させることが一般的である。そのため、ボイラの負荷の変化速度は、ボイラへ供給される固体燃料量の変化速度により制限される。
【0005】
一方、液体あるいは気体であるアンモニア燃料と固体燃料とを比較すると、アンモニア燃料(特に液体アンモニア)の方が供給量を変化させやすい特性があることが知られている。特許文献1では、負荷上昇動作の開始時にはアンモニア燃料をバーナ部に供給せず、微粉炭等の他の燃料のみを供給しているため、ボイラの負荷変化速度を高めるためには改善の余地がある。
【0006】
本開示は、このような事情に鑑みてなされたものであって、固体燃料とアンモニア燃料の双方を火炉で燃焼させるボイラの負荷を変化させる負荷変化動作を実行する際に、ボイラの負荷変化速度を高めることが可能なボイラ、発電設備、およびボイラの制御方法を提供することを目的とする。
【課題を解決するための手段】
【0007】
上記課題を解決するために、本開示の一態様にかかるボイラ、発電設備、およびボイラの制御方法は以下の手段を採用する。
本開示の一態様にかかるボイラは、火炉へ固体燃料を噴射して燃焼させる固体燃料バーナと、前記固体燃料バーナに供給される前記固体燃料の供給量を調整する固体燃料調整部と、前記火炉へアンモニア燃料を噴射して燃焼させるアンモニア燃料バーナと、前記アンモニア燃料バーナに供給される前記アンモニア燃料の供給量を調整するアンモニア燃料調整部と、前記固体燃料調整部および前記アンモニア燃料調整部を制御する制御部と、を備えるボイラであって、前記制御部は、前記ボイラの負荷を変化させる負荷変化動作を実行する際に、前記負荷変化動作の開始から完了に至るまでの動作期間において、前記アンモニア燃料バーナへ供給される前記アンモニア燃料の供給量を変化させるよう前記アンモニア燃料調整部を制御する。
【0008】
本開示の一態様にかかるボイラの制御方法において、前記ボイラは、火炉内に固体燃料を用いて火炎を形成する固体燃料バーナと、前記固体燃料バーナに供給される前記固体燃料の供給量を調整する固体燃料調整部と、前記火炉内にアンモニア燃料を用いて火炎を形成するアンモニア燃料バーナと、前記アンモニア燃料バーナに供給される前記アンモニア燃料の供給量を調整するアンモニア燃料調整部と、を有し、前記固体燃料調整部および前記アンモニア燃料調整部を制御する制御工程を備え、前記制御工程は、前記ボイラの負荷を変化させる負荷変化動作を実行する際に、前記負荷変化動作の開始から完了に至るまでの動作期間において、前記アンモニア燃料バーナへ供給される前記アンモニア燃料の供給量を変化させるよう前記アンモニア燃料調整部を制御する。
【発明の効果】
【0009】
本開示によれば、固体燃料とアンモニア燃料の双方を火炉で燃焼させるボイラの負荷を変化させる負荷変化動作を実行する際に、ボイラの負荷変化速度を高めることが可能なボイラ、発電設備、およびボイラの制御方法を提供することができる。
【図面の簡単な説明】
【0010】
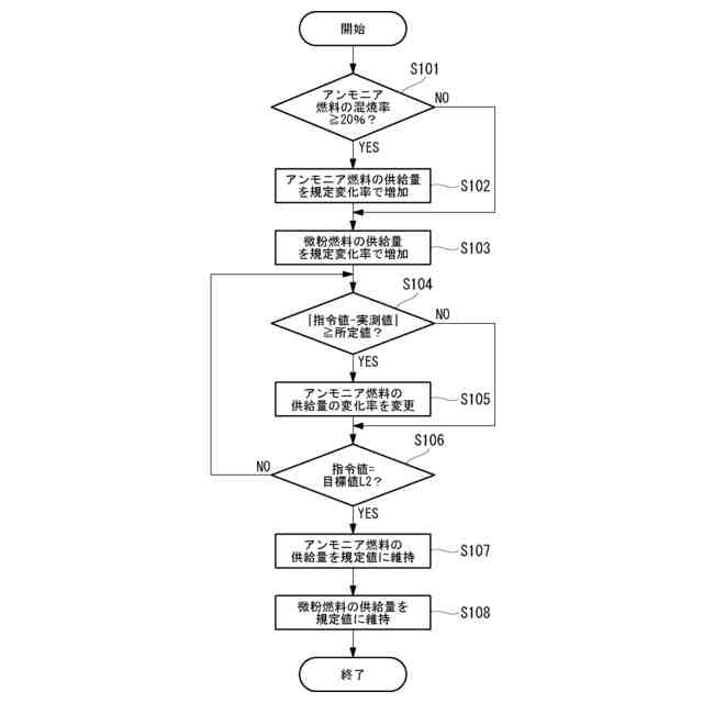
本開示の第1実施形態に係るボイラを示す概略構成図である。
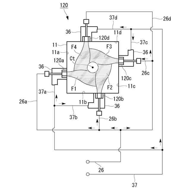
図1に示す燃焼バーナの正面図である。
図1に示す燃焼バーナが有するアンモニア燃料バーナの横断面図である。
図1に示すボイラの燃焼バーナの微粉燃料バーナの横断面図である。
本開示の第1実施形態に係るボイラの制御方法を示すフローチャートである。
ボイラの負荷の時間変化を示すグラフである。
微粉燃料の供給量の時間変化を示すグラフである。
アンモニア燃料の供給量の時間変化を示すグラフである。
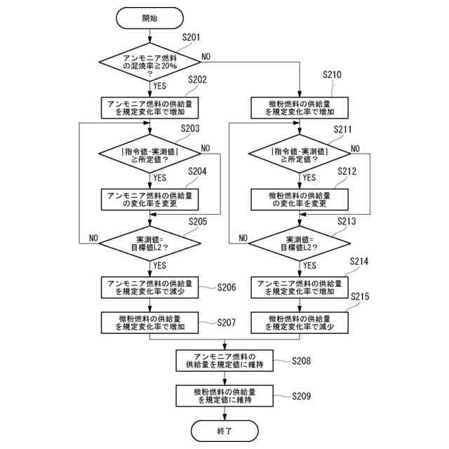
本開示の第2実施形態に係るボイラの制御方法を示すフローチャートである。
微粉燃料の供給量の時間変化を示すグラフである。
アンモニア燃料の供給量の時間変化を示すグラフである。
【発明を実施するための形態】
(【0011】以降は省略されています)
この特許をJ-PlatPat(特許庁公式サイト)で参照する
関連特許
三浦工業株式会社
ボイラ
4か月前
三浦工業株式会社
台数制御装置
22日前
三浦工業株式会社
水蒸気発生装置
15日前
三菱重工業株式会社
ボイラ壁
1日前
三浦工業株式会社
給水装置、および、ボイラ
7か月前
日精オーバル株式会社
蒸気発生装置
1か月前
三浦工業株式会社
管理装置
4か月前
三浦工業株式会社
貫流ボイラ
8日前
三浦工業株式会社
蒸気発生装置
4か月前
株式会社ミヤワキ
蒸気プラント
2か月前
三浦工業株式会社
ボイラ水の水質評価用試料水の調製装置
6か月前
栗田工業株式会社
ボイラ水処理装置および処理方法
3か月前
三菱重工業株式会社
ガスバーナ及びこれを備えたボイラ
7か月前
三菱重工業株式会社
蒸気生成システム及び蒸気生成方法
23日前
三菱重工業株式会社
伝熱管の検査装置および方法
5か月前
三浦工業株式会社
水素ボイラシステムの制御装置
3か月前
神鋼検査サービス株式会社
スケール除去ユニット
23日前
株式会社ヒラカワ
ボイラからの排ガスの温度制御方法
4か月前
JFEエンジニアリング株式会社
排熱回収ボイラ及びその給水バイパス制御方法
1日前
丸高工業株式会社
加熱装置の制御方法及び加熱装置
5か月前
三菱重工パワーインダストリー株式会社
セメントプラント排熱回収システム
7か月前
株式会社東芝
蒸気発生装置
7か月前
日本特殊陶業株式会社
蒸発器および蒸発器を備えるホットモジュール
6か月前
三菱重工業株式会社
プラント制御装置、プラント制御方法、及び、プラント制御プログラム
6か月前
東京電力ホールディングス株式会社
蒸気タービンプラント
1か月前
シェンチェン ウッディー ベイプス テクノロジー カンパニー,リミテッド
アトマイザー
5か月前
三菱重工業株式会社
熱電併給用蒸気生成システム及び熱電併給システム並びに熱電併給用蒸気生成方法
15日前
JFEエンジニアリング株式会社
過熱装置および過熱装置による過熱蒸気温度の制御方法
4か月前
三菱重工業株式会社
ボイラ制御装置、ボイラ、発電プラント、ボイラ制御方法およびボイラ制御プログラム
2か月前
DOWAテクノエンジ株式会社
熱伸縮吸収用エキスパンション構造
5か月前
トクデン株式会社
過熱水蒸気生成装置、及び、過熱水蒸気生成装置に用いられる導体管の製造方法
5か月前
三菱重工業株式会社
ボイラの制御装置、これを備えたボイラシステム、ボイラの制御方法及びボイラの制御プログラム
1か月前
三菱重工業株式会社
CO2回収装置用蒸気生成システム及びこれを備えたCO2回収装置並びにCO2回収装置用蒸気生成方法
15日前
ASTRA FOOD PLAN株式会社
過熱水蒸気発生装置
4か月前
ジーイー・ベルノバ・テクノロジー・ゲーエムベーハー
熱回収蒸気発生器用の入口ダクトシステム
1か月前
株式会社野村総合研究所
情報処理システム、情報処理方法およびコンピュータプログラム
6か月前
続きを見る
他の特許を見る