TOP
|
特許
|
意匠
|
商標
特許ウォッチ
Twitter
他の特許を見る
公開番号
2025143910
公報種別
公開特許公報(A)
公開日
2025-10-02
出願番号
2024043418
出願日
2024-03-19
発明の名称
スケール除去ユニット
出願人
神鋼検査サービス株式会社
代理人
弁理士法人三協国際特許事務所
主分類
F22B
37/48 20060101AFI20250925BHJP(蒸気発生)
要約
【課題】管同士の間隙が狭い場合においても、対象管の外周面における斜め下の領域のスケールを除去することができるスケール除去ユニットを提供する。
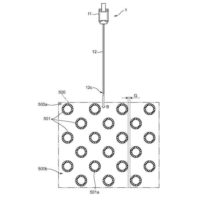
【解決手段】スケール除去ユニット1は、振動発生装置11とロッド12とを備える。振動発生装置11は、作業者が把持する把持部11d,11eと、振動発生源が内蔵され、操作部が設けられた装置本体部11aと、ロッド12が取り付けられる取付ベース部11cと、を備える。ロッド12は、取付ベース部11cに着脱可能な基端部12bと、弧状に曲がった曲折部12cとを有し、基端部12bから曲折部12cに亘って延びる棒状の部材である。ロッド12は、振動発生装置11が管群の外側に位置した状態で、曲折部12cが対象管に到達するように管同士の間隙に挿入される。曲折部12cは、振動発生装置11で生成された振動の伝達を受けて振動する。
【選択図】図1
特許請求の範囲
【請求項1】
多数の管が互いに間隙を形成した状態で配置される管群を構成する管のうちのスケール除去対象となる対象管に付着したスケールを除去するためのスケール除去ユニットであって、
作業者の操作によって作動する振動発生源を備えた振動発生装置と、
前記振動発生装置が取り付けられる基端部と、弧状に曲がった形状の先端部と、を有し、前記基端部から前記先端部に亘って延びる棒状のロッドと、
を備え、
前記ロッドは、前記振動発生装置が前記管群の外側に位置した状態で、前記先端部が前記対象管に到達するように前記管同士の前記間隙に挿入されるとともに、作動により前記振動発生源で生成される振動の伝達を受けることによって前記先端部が振動するように構成されている、
スケール除去ユニット。
続きを表示(約 490 文字)
【請求項2】
前記先端部は、四分円以上半円以下の円弧形状に曲がっている、
請求項1に記載のスケール除去ユニット。
【請求項3】
前記先端部は、当該先端部の途中の箇所から弧の内側に向けて突出する突起部を有する、
請求項1または請求項2に記載のスケール除去ユニット。
【請求項4】
前記ロッドは、長手方向における前記基端部と前記先端部との間の中間部が直線状に延びるとともに、前記先端部は、前記中間部が延びる方向に対して交差する方向に弧状に曲がっており、
前記振動発生装置は、前記基端部が取り付けられるロッド取付部を有するとともに、前記振動発生源が作動することによって、前記ロッド取付部が、前記交差する方向に対して直交する面内で円または楕円の外周に沿って旋回する形態で振動するように構成されている、
請求項1または請求項2に記載のスケール除去ユニット。
【請求項5】
前記ロッドの前記基端部は、前記振動発生装置に対して着脱可能に構成されている、
請求項1または請求項2に記載のスケール除去ユニット。
発明の詳細な説明
【技術分野】
【0001】
本発明は、スケール除去ユニットに関する。
続きを表示(約 1,700 文字)
【背景技術】
【0002】
ボイラ等に備えられる管群に対しては、超音波による肉厚測定がなされることがある。超音波による肉厚測定は、測定対象の管における外周面に超音波探触子を当接させて行われる。
【0003】
ところで、ボイラ等の管群においては、外周面にスケールが付着する場合がある。スケールは、燃焼物の灰や塵などが管の外周面に付着堆積したものである。スケールは、不規則な形状を有するとともに、超音波を通さない場合が多い。よって、超音波により管の肉厚測定を行おうとする場合には、測定対象である管の外周面の内の肉厚測定を行おうとする箇所についてスケールを除去する必要がある。
【0004】
特許文献1では、管の外周面に付着したスケールに対して振動を加えて除去する装置が提案されている。特許文献1で提案されている装置は、作業者が把持するハウジングと、ハウジングから延びるフレキシブルホースと、フレキシブルホースに接合された棒状振動体と、を備える。棒状振動体は、外装を構成する外筒と、外筒の内部に配置された偏心錘と、を備える。棒状振動体の偏心錘を駆動するための駆動モータは、ハウジング内に収容されている。特許文献1で提案されている装置では、棒状振動体がボイラの深層部へと挿入された状態で偏心錘が駆動され、これによって棒状振動体が振動することでスケールを除去できる。
【先行技術文献】
【特許文献】
【0005】
特開2019-168135号公報
【発明の概要】
【発明が解決しようとする課題】
【0006】
ボイラにおいては、管の外周面における斜め下の領域が減肉し易いことが知られている。このため、減肉し易い領域である斜め下のスケールを除去することが求められる。このような要望を鑑み、特許文献1には、装置の棒状振動体を鉛直方向に対して斜め方向に進入させる使用方法が開示されている。
【0007】
しかしながら、ボイラには、管が収容された領域の周囲を囲むボイラ側壁が設けられているため、特許文献1に開示のような使用方法では、深層部に位置する管に対して棒状振動体を到達させることができない場合が生じ得る。
【0008】
また、ボイラを上から見た場合に、管同士の間隙が狭い場合には、棒状振動体を深層部に挿入することができない場合がある。これは、特許文献1の装置では、棒状振動体が内部に収容された偏心錘を備えるとともに、フレキシブルホースが内部に収容されたフレキシブルシャフトを備えるため、これら棒状振動体やフレキシブルホースの外径を小さくすることには限界があるためである。特に多数の管を各軸芯方向から見る場合に、多数の管が千鳥状に配列された形態のボイラにおいては、当該ボイラを上から見た場合の管同士の間隙は非常に狭い。このため、内部に偏心錘が収容された棒状振動体を深層部に位置する管に到達させることができない場合も生じ得る。
【0009】
本発明は、上記のような問題の解決を図ろうとなされたものであって、管同士の間隙が狭い場合においても、対象管の外周面における斜め下の領域のスケールを除去することができるスケール除去ユニットを提供することを目的とする。
【課題を解決するための手段】
【0010】
本発明の一態様に係るスケール除去ユニットは、多数の管が互いに間隙を形成した状態で配置される管群を構成する管のうちのスケール除去対象となる対象管に付着したスケールを除去するためのユニットである。本態様に係るスケール除去ユニットは、振動発生装置と、ロッドと、を備える。前記振動発生装置は、作業者の操作によって作動する振動発生源と、を備える。前記ロッドは、前記振動発生装置が取り付けられる基端部と、弧状に曲がった形状の先端部と、を有し、前記基端部から前記先端部に亘って延びる棒状の部材である。
(【0011】以降は省略されています)
この特許をJ-PlatPat(特許庁公式サイト)で参照する
関連特許
三浦工業株式会社
台数制御装置
18日前
三浦工業株式会社
ボイラ
3か月前
三浦工業株式会社
ドレン回収装置
7か月前
三浦工業株式会社
水蒸気発生装置
11日前
三浦工業株式会社
給水装置、および、ボイラ
7か月前
日精オーバル株式会社
蒸気発生装置
1か月前
三浦工業株式会社
管理装置
3か月前
三浦工業株式会社
貫流ボイラ
4日前
株式会社ミヤワキ
蒸気プラント
1か月前
三浦工業株式会社
ボイラ水の水質評価用試料水の調製装置
6か月前
三浦工業株式会社
蒸気発生装置
4か月前
栗田工業株式会社
ボイラ水処理装置および処理方法
3か月前
株式会社日本汽罐
ボイラーシステム及びボイラーの稼働方法
7か月前
三菱重工業株式会社
ガスバーナ及びこれを備えたボイラ
7か月前
三菱重工業株式会社
蒸気生成システム及び蒸気生成方法
19日前
三浦工業株式会社
水素ボイラシステムの制御装置
3か月前
神鋼検査サービス株式会社
スケール除去ユニット
19日前
三菱重工業株式会社
伝熱管の検査装置および方法
5か月前
株式会社ヒラカワ
ボイラからの排ガスの温度制御方法
3か月前
株式会社JERA
ボイラ炉内の伝熱管の管壁温度解析方法
7か月前
三菱重工パワーインダストリー株式会社
セメントプラント排熱回収システム
7か月前
丸高工業株式会社
加熱装置の制御方法及び加熱装置
5か月前
株式会社東芝
蒸気発生装置
6か月前
日本特殊陶業株式会社
蒸発器および蒸発器を備えるホットモジュール
6か月前
三菱重工業株式会社
プラント制御装置、プラント制御方法、及び、プラント制御プログラム
6か月前
東京電力ホールディングス株式会社
蒸気タービンプラント
1か月前
シェンチェン ウッディー ベイプス テクノロジー カンパニー,リミテッド
アトマイザー
5か月前
三菱重工業株式会社
熱電併給用蒸気生成システム及び熱電併給システム並びに熱電併給用蒸気生成方法
11日前
JFEエンジニアリング株式会社
過熱装置および過熱装置による過熱蒸気温度の制御方法
3か月前
三菱重工業株式会社
ボイラ制御装置、ボイラ、発電プラント、ボイラ制御方法およびボイラ制御プログラム
2か月前
DOWAテクノエンジ株式会社
熱伸縮吸収用エキスパンション構造
5か月前
トクデン株式会社
過熱水蒸気生成装置、及び、過熱水蒸気生成装置に用いられる導体管の製造方法
5か月前
三菱重工業株式会社
ボイラの制御装置、これを備えたボイラシステム、ボイラの制御方法及びボイラの制御プログラム
1か月前
三菱重工業株式会社
CO2回収装置用蒸気生成システム及びこれを備えたCO2回収装置並びにCO2回収装置用蒸気生成方法
11日前
ASTRA FOOD PLAN株式会社
過熱水蒸気発生装置
4か月前
ジーイー・ベルノバ・テクノロジー・ゲーエムベーハー
熱回収蒸気発生器用の入口ダクトシステム
1か月前
続きを見る
他の特許を見る