TOP
|
特許
|
意匠
|
商標
特許ウォッチ
Twitter
他の特許を見る
公開番号
2025065812
公報種別
公開特許公報(A)
公開日
2025-04-22
出願番号
2023175265
出願日
2023-10-10
発明の名称
蒸発器および蒸発器を備えるホットモジュール
出願人
日本特殊陶業株式会社
代理人
弁理士法人プロスペック特許事務所
主分類
F22B
1/18 20060101AFI20250415BHJP(蒸気発生)
要約
【課題】水の突沸を防止または抑制できる蒸発器を提供する。
【解決手段】蒸発器10は、水が滴下される上面113を有する底板部112を備え、前記上面113に滴下された水が蒸発することにより水蒸気が生成される空間である内部空間111と、前記内部空間111内の気体を排出する排出口116とが形成される本体部11と、前記上面113に水を滴下するために前記本体部11に取り付けられた水供給経路部材12と、前記水供給経路部材12を加熱する第一加熱器13と、を備え、前記水供給経路部材12は、前記上面113の互いに異なる2か所以上の位置に水を滴下することができるように構成される。
【選択図】図1
特許請求の範囲
【請求項1】
水が滴下される滴下面を有する蒸発皿を備え、前記滴下面に滴下された水が蒸発することにより水蒸気が生成される空間である蒸発空間と、前記蒸発空間内の気体を排出する排出口とが形成される本体部と、
水が供給されるとともに、供給された水が前記滴下面に滴下されるように前記本体部に取り付けられた水供給経路部材と、
前記水供給経路部材を加熱する第一加熱器と、
を備え、
前記水供給経路部材は、前記滴下面の互いに異なる2か所以上の位置に水を滴下することができるように構成される、蒸発器。
続きを表示(約 1,100 文字)
【請求項2】
請求項1に記載の蒸発器であって、
前記水供給経路部材は、それぞれ前記滴下面に向けて開口する開口部を有する複数の水供給管を備える、蒸発器。
【請求項3】
請求項2に記載の蒸発器であって、
前記第一加熱器は、前記複数の水供給管を異なる温度に加熱する、蒸発器。
【請求項4】
請求項3に記載の蒸発器であって、
前記第一加熱器は、前記排出口に近い位置に設けられる前記水供給管ほど高い温度に加熱されるように、前記複数の水供給管を加熱する、蒸発器。
【請求項5】
請求項4に記載の蒸発器であって、
前記第一加熱器は、熱源から供給される高温流体が通過する第一流体通過経路を備え、
前記複数の水供給管は、前記排出口に近い位置に設けられる前記水供給管ほど前記第一流体通過経路を通過する前記高温流体の流れの上流位置にて前記高温流体に接触する、蒸発器。
【請求項6】
請求項1に記載の蒸発器であって、
前記滴下面を加熱する第二加熱器を備える、蒸発器。
【請求項7】
請求項6に記載の蒸発器であって、
前記第二加熱器は、前記滴下面を、前記排出口に近いほど高温になるように加熱する、蒸発器。
【請求項8】
外部から供給された水を加熱することにより水蒸気を生成する蒸発器と、
前記蒸発器にて生成された水蒸気が供給されるとともに、供給された水蒸気を電気分解することにより水素を生成する電気化学セルと、
を備えるホットモジュールであって、
前記蒸発器は、
水が滴下される滴下面を有する蒸発皿を備え、前記滴下面に滴下された水が蒸発することにより水蒸気が生成される空間である蒸発空間と、前記蒸発空間内の気体を排出する排出口とが形成される本体部と、
水が供給されるとともに、供給された水が前記滴下面に滴下されるように前記本体部に取り付けられた水供給経路部材と、
前記水供給経路部材を加熱する第一加熱器と、
を備え、
前記水供給経路部材は、前記滴下面の互いに異なる2か所以上の位置に水を滴下することができるように構成される、ホットモジュール。
【請求項9】
請求項8に記載のホットモジュールであって、
前記水供給経路部材は、それぞれ前記滴下面に向けて開口する開口部を有する複数の水供給管により構成される、ホットモジュール。
【請求項10】
請求項9に記載のホットモジュールであって、
前記第一加熱器は、前記複数の水供給管を異なる温度に加熱する、ホットモジュール。
(【請求項11】以降は省略されています)
発明の詳細な説明
【技術分野】
【0001】
本発明は、蒸発器および蒸発器を備えるホットモジュールに関する。
続きを表示(約 1,900 文字)
【背景技術】
【0002】
固体酸化物形電解セル(SOEC)またはリバーシブル固体酸化物セル(R-SOC)と、蒸発器と、を備え、蒸発器により生成された水蒸気をセルにおいて電気分解することにより水素を製造するホットモジュールが知られている。このようなホットモジュールに適用される蒸発器は、外部から供給される水が加熱された蒸発皿に滴下されるように構成される。蒸発皿に滴下された水は蒸発皿の熱により蒸発し、水蒸気が生成する。しかしながら、蒸発皿に水を滴下した場合、蒸発皿のうちの水が触れた部分の温度は低下するが、水が触れない部分の温度は高温に維持される。温度が高温に維持された部分に水が触れると突沸が引き起こされ、この突沸に起因して水蒸気の圧力に脈動が生じることがある。そして、水蒸気の圧力に脈動が生じると、セルに不測の影響を与えるおそれがある。
【0003】
特許文献1には、SOFCと蒸発器とを備える燃料電池装置が記載されている。特許文献1に記載の蒸発器は、水が供給される供給面を含む蒸発部と、蒸発部に熱を供給する熱源と、蒸発部に水を供給する水供給管とを備える。水供給管は、斜め下方にむけて開口された吐出口を備える。そして、水供給管は、蒸発部の供給面に対して、吐出口から吐出された水が表面張力により吐出口と蒸発部の供給面との間で保持されるような間隔をおいて配置される。
【0004】
特許文献1に記載の蒸発器によれば、水供給管から供給された水は、表面張力により水供給管と蒸発部の供給面との間で保持され、表面張力により保持できない水量のみが供給面に沿って落下する。このため、供給面が過度に冷却されることが防止され、供給面における安定した水の気化が実現される。また、水供給管から供給された水は、表面張力により水供給管の吐出口と蒸発部の供給面との間で薄く拡がった状態で保持される。このため、表面張力により保持できなくなった水は、水滴状にならずに広がりながら供給面を流れるため、より安定した水の気化が実現される。
【0005】
しかしながら、SOECやR-SOCで要求される水素の原料である水蒸気の量は、SOFCで要求される水蒸気の量よりも多い。このため、SOECやR-SOCに水蒸気を供給する蒸発器に前記特許文献1に記載の蒸発器を適用することは困難である。
【先行技術文献】
【特許文献】
【0006】
特開2016-225123号公報
【発明の概要】
【0007】
(発明が解決しようとする課題)
上記実情に鑑み、本発明の目的の1つは、SOECやR-SOCに水蒸気を供給する蒸発器であって、突沸を防止または抑制できる蒸発器、およびこの蒸発器を備えるホットモジュールを提供することである。
【0008】
(課題を解決するための手段)
前記目的を達成するため、本発明に係る蒸発器は、
水が滴下される滴下面を有する蒸発皿を備え、前記滴下面に滴下された水が蒸発することにより水蒸気が生成される空間である蒸発空間と、前記蒸発空間内の気体を排出する排出口とが形成される本体部と、
水が供給されるとともに、供給された水が前記滴下面に滴下されるように前記本体部に取り付けられた水供給経路部材と、
前記水供給経路部材を加熱する第一加熱器と、
を備え、
前記水供給経路部材は、前記滴下面の互いに異なる2か所以上の位置に水を滴下することができるように構成される。
【0009】
本発明に係る蒸発器によれば、滴下面の2カ所以上の位置に水が滴下されるから、滴下面の1カ所にのみ水が滴下される構成に比較して、滴下面の温度分布が不均一になることを抑制できる。すなわち、水供給経路部材から滴下されて滴下面に接触した水は、滴下面の熱を奪う。滴下面の2カ所以上に水が滴下される構成であると、1カ所にのみ水が滴下される構成に比較して、滴下面の広い範囲から熱を奪うことができる。このため、滴下面に温度が高い部分が発生することを防止または温度が高い部分の領域を狭めることができるから、「温度が高い部分に水が接触する」ことに起因する水の突沸を防止または抑制できる。
【図面の簡単な説明】
【0010】
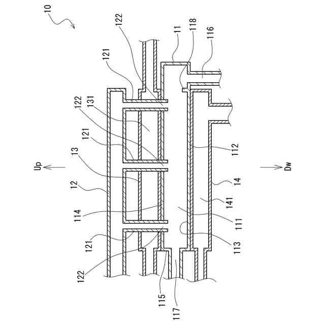
図1は、蒸発器の構成を模式的に示す断面図である。
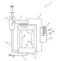
図2は、ホットモジュールの構成を模式的に示す図である。
【発明を実施するための形態】
(【0011】以降は省略されています)
この特許をJ-PlatPat(特許庁公式サイト)で参照する
関連特許
三浦工業株式会社
ボイラ
4か月前
三浦工業株式会社
台数制御装置
20日前
三浦工業株式会社
水蒸気発生装置
13日前
三浦工業株式会社
給水装置、および、ボイラ
7か月前
日精オーバル株式会社
蒸気発生装置
1か月前
三浦工業株式会社
管理装置
3か月前
三浦工業株式会社
貫流ボイラ
6日前
三浦工業株式会社
ボイラ水の水質評価用試料水の調製装置
6か月前
三浦工業株式会社
蒸気発生装置
4か月前
株式会社ミヤワキ
蒸気プラント
1か月前
栗田工業株式会社
ボイラ水処理装置および処理方法
3か月前
三菱重工業株式会社
蒸気生成システム及び蒸気生成方法
21日前
三菱重工業株式会社
ガスバーナ及びこれを備えたボイラ
7か月前
三菱重工業株式会社
伝熱管の検査装置および方法
5か月前
三浦工業株式会社
水素ボイラシステムの制御装置
3か月前
神鋼検査サービス株式会社
スケール除去ユニット
21日前
株式会社ヒラカワ
ボイラからの排ガスの温度制御方法
3か月前
丸高工業株式会社
加熱装置の制御方法及び加熱装置
5か月前
三菱重工パワーインダストリー株式会社
セメントプラント排熱回収システム
7か月前
株式会社東芝
蒸気発生装置
6か月前
日本特殊陶業株式会社
蒸発器および蒸発器を備えるホットモジュール
6か月前
三菱重工業株式会社
プラント制御装置、プラント制御方法、及び、プラント制御プログラム
6か月前
東京電力ホールディングス株式会社
蒸気タービンプラント
1か月前
シェンチェン ウッディー ベイプス テクノロジー カンパニー,リミテッド
アトマイザー
5か月前
三菱重工業株式会社
熱電併給用蒸気生成システム及び熱電併給システム並びに熱電併給用蒸気生成方法
13日前
JFEエンジニアリング株式会社
過熱装置および過熱装置による過熱蒸気温度の制御方法
3か月前
三菱重工業株式会社
ボイラ制御装置、ボイラ、発電プラント、ボイラ制御方法およびボイラ制御プログラム
2か月前
DOWAテクノエンジ株式会社
熱伸縮吸収用エキスパンション構造
5か月前
トクデン株式会社
過熱水蒸気生成装置、及び、過熱水蒸気生成装置に用いられる導体管の製造方法
5か月前
三菱重工業株式会社
ボイラの制御装置、これを備えたボイラシステム、ボイラの制御方法及びボイラの制御プログラム
1か月前
三菱重工業株式会社
CO2回収装置用蒸気生成システム及びこれを備えたCO2回収装置並びにCO2回収装置用蒸気生成方法
13日前
ASTRA FOOD PLAN株式会社
過熱水蒸気発生装置
4か月前
ジーイー・ベルノバ・テクノロジー・ゲーエムベーハー
熱回収蒸気発生器用の入口ダクトシステム
1か月前
株式会社野村総合研究所
情報処理システム、情報処理方法およびコンピュータプログラム
6か月前
ゼネラル エレクトリック テクノロジー ゲゼルシャフト ミット ベシュレンクテル ハフツング
複合サイクル発電所の水・蒸気系統を運転前に洗浄する方法、及びこの方法のために構成された複合サイクル発電所
3か月前
株式会社デンソー
通信レシーバ
3か月前
続きを見る
他の特許を見る