TOP
|
特許
|
意匠
|
商標
特許ウォッチ
Twitter
他の特許を見る
10個以上の画像は省略されています。
公開番号
2025010967
公報種別
公開特許公報(A)
公開日
2025-01-23
出願番号
2023113304
出願日
2023-07-10
発明の名称
フィルター装置
出願人
大成技研株式会社
代理人
個人
,
個人
,
個人
主分類
B01D
46/42 20060101AFI20250116BHJP(物理的または化学的方法または装置一般)
要約
【課題】排気ガスに起因する異物が配管の内部に付着することを抑制する。
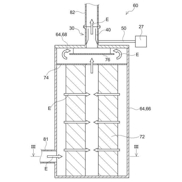
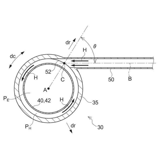
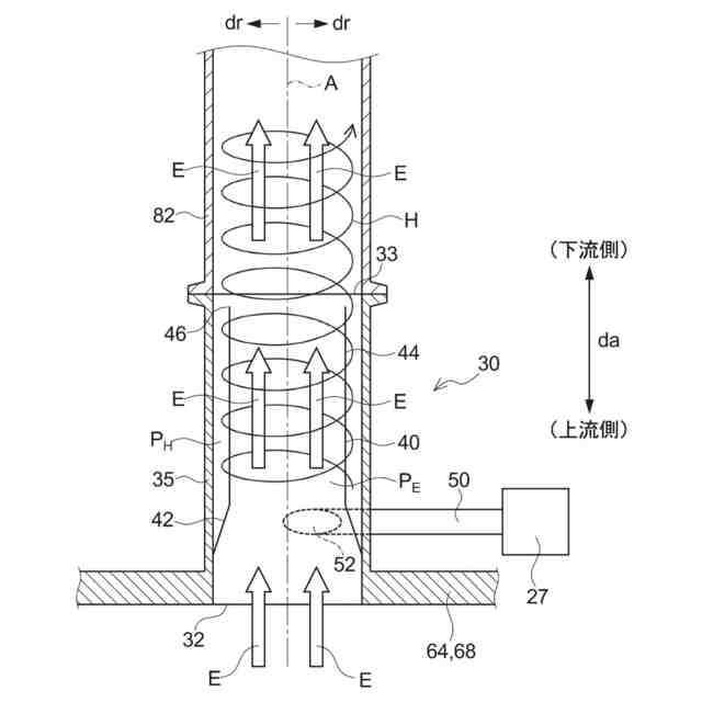
【解決手段】フィルター装置60は、排気ガス中に含まれる異物を除去するためのフィルター装置60であって、筐体64と、筐体64内に収容されたフィルターユニット72と、筐体64と後続の配管82とを接続し、フィルターユニット72を通過した排気ガスを配管82へ流出させる出口ユニット30と、を備え、出口ユニット30は、出口ユニット30の内部に導入された熱ガスにより、出口ユニット30の内面に沿って排気ガスの流れの上流側から下流側へ向かって螺旋状に流れる渦旋回流を形成する。
【選択図】図6
特許請求の範囲
【請求項1】
排気ガス中に含まれる異物を除去するためのフィルター装置であって、
筐体と、
前記筐体内に収容されたフィルターユニットと、
前記筐体と後続の配管とを接続し、前記フィルターユニットを通過した前記排気ガスを前記配管へ流出させる出口ユニットと、を備え、
前記出口ユニットは、前記出口ユニットの内部に導入された熱ガスにより、前記出口ユニットの内面に沿って前記排気ガスの流れの上流側から下流側へ向かって螺旋状に流れる渦旋回流を形成する、フィルター装置。
続きを表示(約 380 文字)
【請求項2】
前記出口ユニットは、壁部と、前記壁部の内側に配置された案内管を有し、
前記壁部と前記案内管との間に、前記熱ガスが通る熱ガス流路が形成される、請求項1に記載のフィルター装置。
【請求項3】
前記案内管は、前記下流側へ向かうにつれて中心軸線に近づくように延びる傾斜部と、前記傾斜部の前記下流側の端部に接続され、前記中心軸線と平行に延びる平行部と、を有する、請求項2に記載のフィルター装置。
【請求項4】
前記出口ユニットは、前記熱ガス流路に前記熱ガスを導入する導入管と、前記壁部において前記導入管が開口する開口部とを有する、請求項2又は3に記載のフィルター装置。
【請求項5】
前記導入管は、前記開口部において径方向に対して傾斜した方向に延びる、請求項4に記載のフィルター装置。
発明の詳細な説明
【技術分野】
【0001】
本発明は、フィルター装置に関する。
続きを表示(約 1,600 文字)
【背景技術】
【0002】
半導体製造プロセスや液晶製造プロセスで生じる排気ガスには、人体に有害な成分が含まれている。例えば、半導体製造プロセスには、イオン注入法、アルミ等の金属エッチング法、CVD法を含む各種の方式が採用されている。いずれの方式を採用した半導体製造プロセスにおいても、フッ化水素酸、シランガス、テトラエトキシシラン、アンモニア等の有害ガスや反応生成物等の夾雑物、その他ミストやダストといった微粒子が混在する排気ガスが発生する。そのため、半導体製造プロセスや液晶製造プロセスでは、排気ガス中に混在する微粒子を除去するための除害設備が用いられている。例えば特許文献1には、排気ガス中に含まれる微粒子を除去することができるフィルター装置が開示されている。
【先行技術文献】
【特許文献】
【0003】
特開2005-74362号公報
【発明の概要】
【発明が解決しようとする課題】
【0004】
半導体製造プロセスや液晶製造プロセスで生じる高温の排気ガス中には、気化した状態の成分(気化成分)も含まれる。このような気化成分は、従来のフィルター装置を用いても十分に除去できない場合がある。従来の除害設備は、配管で互いに接続されたフィルター装置や後段の除害装置を含んでいる。排気ガスは、配管を通って各装置へ送られる。このとき、排気ガス中の気化成分が、配管の壁面で冷却されて凝縮又は固化(粉化)して異物となり、配管の壁面に付着することがある。壁面に付着した異物は、配管の詰まりの原因となり得る。したがって、従来は、定期的に配管を取り外して配管の内部を清掃する必要があった。
【0005】
本発明は、このような点を考慮してなされたものであり、排気ガスに起因する異物が配管の内部に付着することを抑制することを目的とする。
【課題を解決するための手段】
【0006】
本発明によるフィルター装置は、
[1]排気ガス中に含まれる異物を除去するためのフィルター装置であって、
筐体と、
前記筐体内に収容されたフィルターユニットと、
前記筐体と後続の配管とを接続し、前記フィルターユニットを通過した前記排気ガスを前記配管へ流出させる出口ユニットと、を備え、
前記出口ユニットは、前記出口ユニットの内部に導入された熱ガスにより、前記出口ユニットの内面に沿って前記排気ガスの流れの上流側から下流側へ向かって螺旋状に流れる渦旋回流を形成する、フィルター装置、である。
【0007】
本発明によるフィルター装置は、
[2]前記出口ユニットは、壁部と、前記壁部の内側に配置された案内管を有し、
前記壁部と前記案内管との間に、前記熱ガスが通る熱ガス流路が形成される、[1]に記載のフィルター装置、である。
【0008】
本発明によるフィルター装置は、
[3]前記案内管は、前記下流側へ向かうにつれて中心軸線に近づくように延びる傾斜部と、前記傾斜部の前記下流側の端部に接続され、前記中心軸線と平行に延びる平行部と、を有する、[2]に記載のフィルター装置、である。
【0009】
本発明によるフィルター装置は、
[4]前記出口ユニットは、前記熱ガス流路に前記熱ガスを導入する導入管と、前記壁部において前記導入管が開口する開口部とを有する、[2]又は[3]に記載のフィルター装置、である。
【0010】
本発明によるフィルター装置は、
[5]前記導入管は、前記開口部において径方向に対して傾斜した方向に延びる、[4]に記載のフィルター装置、である。
【発明の効果】
(【0011】以降は省略されています)
この特許をJ-PlatPat(特許庁公式サイト)で参照する
関連特許
大成技研株式会社
クライオポンプ
4日前
大成技研株式会社
フィルター装置
8か月前
株式会社西部技研
除湿装置
3日前
ユニチカ株式会社
複合中空糸膜
17日前
東レ株式会社
中空糸膜モジュール
16日前
株式会社ニクニ
液体処理装置
1か月前
日本化薬株式会社
メタノール改質触媒
1か月前
株式会社MRT
微細バブル発生装置
20日前
株式会社笹山工業所
濁水処理システム
20日前
個人
攪拌装置
20日前
東京理化器械株式会社
クリップ
24日前
ヤマシンフィルタ株式会社
フィルタ装置
18日前
ノリタケ株式会社
ガス吸収シート
1か月前
大和ハウス工業株式会社
反応装置
10日前
本田技研工業株式会社
ガス回収装置
12日前
大陽日酸株式会社
CO2の回収方法
12日前
杉山重工株式会社
回転円筒型反応装置
20日前
本田技研工業株式会社
二酸化炭素回収装置
16日前
ノリタケ株式会社
触媒材料およびその利用
10日前
ノリタケ株式会社
触媒材料およびその利用
10日前
本田技研工業株式会社
二酸化炭素回収装置
10日前
本田技研工業株式会社
分離システム
20日前
本田技研工業株式会社
二酸化炭素回収装置
18日前
株式会社インパクト
消臭剤又は消臭紙の製造方法
23日前
本田技研工業株式会社
二酸化炭素回収装置
18日前
本田技研工業株式会社
二酸化炭素回収装置
10日前
本田技研工業株式会社
二酸化炭素回収装置
18日前
ノリタケ株式会社
触媒材料およびその利用
10日前
本田技研工業株式会社
二酸化炭素回収装置
5日前
本田技研工業株式会社
二酸化炭素回収装置
12日前
本田技研工業株式会社
二酸化炭素回収装置
10日前
本田技研工業株式会社
二酸化炭素回収装置
10日前
株式会社プロテリアル
触媒複合物および触媒前駆体複合物
11日前
セイコーエプソン株式会社
気体分離膜
20日前
東京応化工業株式会社
ろ過処理方法、及び多孔質膜
10日前
日東電工株式会社
吸着材
16日前
続きを見る
他の特許を見る