TOP
|
特許
|
意匠
|
商標
特許ウォッチ
Twitter
他の特許を見る
公開番号
2025156879
公報種別
公開特許公報(A)
公開日
2025-10-15
出願番号
2024059617
出願日
2024-04-02
発明の名称
クライオポンプ
出願人
大成技研株式会社
代理人
個人
,
個人
,
個人
主分類
F04B
37/08 20060101AFI20251007BHJP(液体用容積形機械;液体または圧縮性流体用ポンプ)
要約
【課題】クライオポンプの外面に結露が生じることを抑制する。
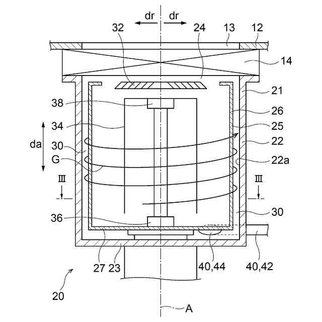
【解決手段】クライオポンプ20は、筐体21と、筐体21の内面22aと対面するように配置されたシールド25であって、シールド25が冷却されることにより筐体21内の気体が凝縮してシールド25に付着するように構成された、シールド25と、筐体21とシールド25との間の隙間30に再生ガスGを導入する導入ユニット40と、を備え、導入ユニット40は、再生ガスGにより、筐体21の内面22aに沿って螺旋状に流れる渦旋回流を形成する。
【選択図】図2
特許請求の範囲
【請求項1】
筐体と、
前記筐体の内面と対面するように配置されたシールドであって、前記シールドが冷却されることにより前記筐体内の気体が凝縮して前記シールドに付着するように構成された、シールドと、
前記筐体と前記シールドとの間の隙間に再生ガスを導入する導入ユニットと、を備え、
前記導入ユニットは、前記再生ガスにより、前記筐体の前記内面に沿って螺旋状に流れる渦旋回流を形成する、クライオポンプ。
続きを表示(約 450 文字)
【請求項2】
前記導入ユニットは、前記筐体内に前記再生ガスを導入する導入管と、前記筐体において前記導入管が開口する開口部とを有する、請求項1に記載のクライオポンプ。
【請求項3】
前記導入管は、前記筐体に近づくにつれて前記再生ガスの流れの下流側へ向かうように、軸方向に対して傾斜した方向に延びる、請求項2に記載のクライオポンプ。
【請求項4】
前記導入ユニットは、前記筐体の内側に配置された案内管を有し、
前記案内管は、前記再生ガスの流れの上流側から下流側へ向かうにつれて中心軸線に近づくように延びる傾斜部を有する、請求項2に記載のクライオポンプ。
【請求項5】
前記開口部の全体が、軸方向における前記傾斜部が配置された区間内に位置する、請求項4に記載のクライオポンプ。
【請求項6】
前記案内管は、前記傾斜部の前記下流側の端部に接続され、前記中心軸線と平行に延びる平行部をさらに有する、請求項4又は5に記載のクライオポンプ。
発明の詳細な説明
【技術分野】
【0001】
本発明は、クライオポンプに関する。
続きを表示(約 1,500 文字)
【背景技術】
【0002】
真空槽内を高真空の状態にするための装置の1つとして、従来、クライオポンプが使用されている。クライオポンプは、筐体内に収容されるとともに冷凍機と熱的に接続されたシールド、バッフル、クライオパネル等の冷却部材を備える。クライオポンプが真空槽に接続された状態で、冷凍機により冷却部材が極低温に冷却されることにより、筐体内の気体が冷却部材において凝縮し又は冷却部材に吸着される。これにより、真空槽内の空間が排気され、真空槽内を高真空の状態にすることができる。特許文献1には、このようなクライオポンプの一例が開示されている。
【先行技術文献】
【特許文献】
【0003】
特開2020-143646号公報
【発明の概要】
【発明が解決しようとする課題】
【0004】
クライオポンプにおいて、真空槽内の気体が固化して形成される物質が冷却部材に付着すると、クライオポンプの排気効率が低下していく。このため、真空槽とクライオポンプとの間の流路を閉塞し、クライオポンプ内の温度を上昇させて冷却部材に付着した物質を液化又は気化させて除去する再生工程が行われる。再生工程では、クライオポンプ内に再生ガスが導入される。高真空の状態では、冷却部材と筐体との間における気体を介した熱伝導は極めて小さい。この状態からクライオポンプ内に再生ガスが導入されると、導入された再生ガスを介して、冷却部材と筐体との間で熱伝導が行われ、筐体が急激に冷却される。これにより、筐体の外面に結露が生じ得る。結露で生じた水滴がクライオポンプの周囲の装置に落下すると、当該装置に不具合を生じるおそれがある。
【0005】
本発明は、このような点を考慮してなされたものであり、クライオポンプの外面に結露が生じることを抑制することを目的とする。
【課題を解決するための手段】
【0006】
本発明によるクライオポンプは、
[1]
筐体と、
前記筐体の内面と対面するように配置されたシールドであって、前記シールドが冷却されることにより前記筐体内の気体が凝縮して前記シールドに付着するように構成された、シールドと、
前記筐体と前記シールドとの間の隙間に熱ガスを導入する導入ユニットと、を備え、
前記導入ユニットは、前記熱ガスにより、前記筐体の前記内面に沿って螺旋状に流れる渦旋回流を形成する、クライオポンプ、である。
【0007】
本発明によるクライオポンプは、
[2]
前記導入ユニットは、前記筐体内に前記再生ガスを導入する導入管と、前記筐体において前記導入管が開口する開口部とを有する、[1]に記載のクライオポンプ、である。
【0008】
本発明によるクライオポンプは、
[3]
前記導入管は、前記筐体に近づくにつれて前記再生ガスの流れの下流側へ向かうように、軸方向に対して傾斜した方向に延びる、[2]に記載のクライオポンプ、である。
【0009】
本発明によるクライオポンプは、
[4]
前記導入ユニットは、前記筐体の内側に配置された案内管を有し、
前記案内管は、前記再生ガスの流れの上流側から下流側へ向かうにつれて中心軸線に近づくように延びる傾斜部を有する、[2]又は[3]に記載のクライオポンプ、である。
【0010】
本発明によるクライオポンプは、
[5]
前記開口部の全体が、軸方向における前記傾斜部が配置された区間内に位置する、[4]に記載のクライオポンプ、である。
(【0011】以降は省略されています)
この特許をJ-PlatPat(特許庁公式サイト)で参照する
関連特許
大成技研株式会社
クライオポンプ
3日前
大成技研株式会社
フィルター装置
8か月前
個人
海流製造装置。
1か月前
株式会社スギノマシン
圧縮機
9日前
株式会社ツインバード
送風装置
29日前
株式会社ツインバード
送風装置
29日前
日機装株式会社
遠心ポンプ
1日前
カヤバ株式会社
電動ポンプ
2か月前
株式会社不二越
蓄圧装置
2か月前
ビッグボーン株式会社
送風装置
1か月前
株式会社酉島製作所
ポンプ
3か月前
株式会社ノーリツ
ロータリ圧縮機
1か月前
株式会社不二越
ベーンポンプ
2か月前
小倉クラッチ株式会社
ルーツブロア
2か月前
樫山工業株式会社
真空ポンプ
10日前
株式会社ノーリツ
ロータリー圧縮機
3か月前
サンデン株式会社
スクロール圧縮機
15日前
サンデン株式会社
スクロール圧縮機
15日前
サンデン株式会社
スクロール圧縮機
15日前
株式会社坂製作所
スクロール圧縮機
3か月前
株式会社島津製作所
真空ポンプ
29日前
株式会社チロル
送風機、送風機付衣服
1か月前
株式会社豊田自動織機
流体機械
1か月前
株式会社アイシン
ポンプケース
22日前
エドワーズ株式会社
真空ポンプ
23日前
株式会社島津製作所
真空ポンプ
1か月前
株式会社豊田自動織機
電動圧縮機
1か月前
株式会社豊田自動織機
電動圧縮機
1か月前
NTN株式会社
電動オイルポンプ
16日前
株式会社豊田自動織機
電動圧縮機
1か月前
株式会社豊田自動織機
電動圧縮機
3か月前
株式会社豊田自動織機
電動圧縮機
2か月前
株式会社豊田自動織機
電動圧縮機
2か月前
已久工業股ふん有限公司
空気圧縮機構造
2か月前
株式会社豊田自動織機
電動圧縮機
1か月前
株式会社豊田自動織機
電動圧縮機
1か月前
続きを見る
他の特許を見る