TOP
|
特許
|
意匠
|
商標
特許ウォッチ
Twitter
他の特許を見る
公開番号
2025019998
公報種別
公開特許公報(A)
公開日
2025-02-07
出願番号
2024093179
出願日
2024-06-07
発明の名称
結晶成長方法および結晶成長装置
出願人
シアメン タングステン カンパニー リミテッド
代理人
個人
主分類
C30B
29/16 20060101AFI20250131BHJP(結晶成長)
要約
【課題】本発明は、結晶成長方法および結晶成長装置に関する。
【手段】前記結晶成長方法は、順次に、仕込み、点火、溶融池拡張、結晶成長および降温などの過程を行い、結晶を得ることを含む。そのうち、点火過程では、光源の焦点を結晶原料の表面において移動させることで、溶融池の表面積が目標サイズに拡大するまでその表面を融解させて溶融池を形成する。溶融池拡張過程では、坩堝の外側に設けられた誘導コイルを起動させ、同期にして坩堝内へ結晶原料を添加し、溶融池が、坩堝の底部における種晶に接触するまで継続して下向きに拡張する。結晶成長過程では、誘導コイルの電力を低減することで、結晶が溶融池の頂部に到達するまで、種晶の頂部より下から上まで絶え間なく結晶させる。本発明に係る結晶成長方法および結晶成長装置は、有効な溶融池を取得するとともに、径方向の温度勾配を形成して、結晶の劈開度を改善することができる。
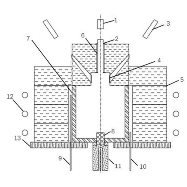
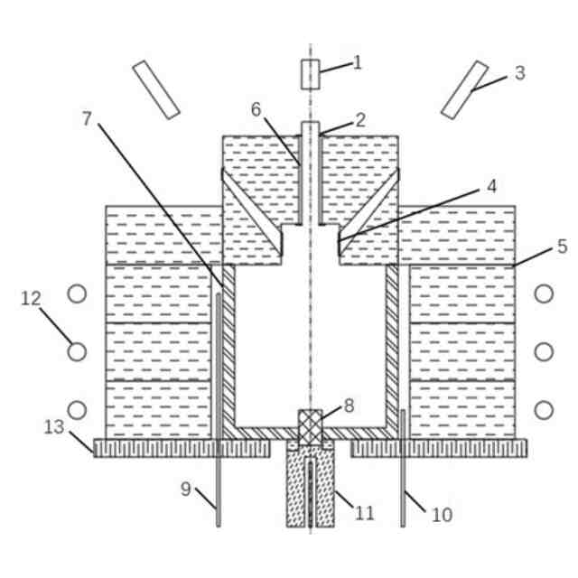
【選択図】図1
特許請求の範囲
【請求項1】
種晶を坩堝の底部に固定し、坩堝内へ結晶原料を充填する仕込みステップと、
坩堝の上方に位置する光源エミッターを起動させ、溶融池の表面積が目標サイズに拡大するまで、光源の焦点を結晶原料の表面において移動させることでその表面を融解させて溶融池を形成する点火ステップと、
坩堝の外側に設けられた誘導コイルを起動させ、同期にして坩堝内へ結晶原料を添加し、溶融池が、坩堝の底部の種晶に接触するまで、継続して下向きに拡張する溶融池拡張ステップと、
誘導コイルの電力を段階的に低減し、結晶が溶融池の頂部に到達するまで、種晶の頂部より下から上まで絶え間なく結晶させる結晶成長ステップと、
誘導コイルの電力を、誘導コイルの電源をオフにするまで段階的に低減し、冷却した後、結晶を取り出す降温ステップと、を含む結晶成長方法であって、
前記誘導コイルと坩堝との間に保温層が設けられ、
前記結晶成長の過程では、種晶の底部に位置する冷却システムが同期にして冷却を実行し、
前記溶融池拡張の過程では、前記溶融池と坩堝の内側壁との間に多結晶シェル層を形成する、
ことを特徴とする結晶成長方法。
続きを表示(約 1,100 文字)
【請求項2】
前記結晶は酸化ガリウム結晶であり、
前記結晶原料の粒径は3~10mmである、
ことを特徴とする請求項1に記載の結晶成長方法。
【請求項3】
前記坩堝の頂部には、少なくとも1つの透過口が設けられた保温カバーが設けられ、
前記透過口は、サファイアで封止される、
ことを特徴とする請求項1に記載の結晶成長方法。
【請求項4】
前記点火の過程では、前記光源の焦点が結晶原料の表面において楕円形軌跡で周期的に移動し、
前記楕円形軌跡の長軸は2cm以上であり、
前記目標サイズの溶融池の直径は5cm以上であり、5~8cmであることが好ましい、
ことを特徴とする請求項1に記載の結晶成長方法。
【請求項5】
前記点火の過程では、使用する光源エミッターはレーザエミッターを含み、
前記レーザエミッターの放射電力は、100~300Wであり、
前記レーザエミッターの数は、4~8個である、
ことを特徴とする請求項1に記載の結晶成長方法。
【請求項6】
前記溶融池拡張の過程および結晶成長の過程では、前記誘導コイルの動作周波数は、30~100kHzであり、
前記溶融池拡張の過程および結晶成長の過程では、前記誘導コイルの動作電力は、40~100kWである、
ことを特徴とする請求項1に記載の結晶成長方法。
【請求項7】
前記結晶成長の過程では、前記誘導コイルの動作電力は、0.05~0.2kW/hの速度で降下する、
ことを特徴とする請求項1に記載の結晶成長方法。
【請求項8】
前記溶融池拡張の過程では、結晶原料の添加速度は、300~500g/minである、
ことを特徴とする請求項1に記載の結晶成長方法。
【請求項9】
前記点火の過程では、さらに坩堝内へ結晶原料を添加する、
ことを特徴とする請求項1に記載の結晶成長方法。
【請求項10】
請求項1~9のいずれか一項に記載の結晶成長方法に用いられる結晶成長装置であって、
坩堝と、
前記坩堝の外周面に包まれた保温層と、
前記保温層の外側周方向に設けられた誘導コイルと、
前記坩堝の下方に位置し且つ種晶を固定するためのサセプタであって、前記種晶が前記坩堝内に深く入り、前記サセプタ内に冷却システムが設けられたサセプタと、
前記坩堝の上方に設けられた光源エミッターと、
前記坩堝の頂部に設けられた原料添加口と、を含む、ことを特徴とする結晶成長装置。
発明の詳細な説明
【技術分野】
【0001】
本発明は、結晶成長の技術分野に関し、具体的に、結晶成長方法および結晶成長装置に関する。
続きを表示(約 2,300 文字)
【背景技術】
【0002】
結晶材料は、非常に重要な機能材料であり、種類が多様であるだけでなく、性能が豊かであり、力学、電気学、光学又は熱学などの精密デバイスに広く用いられている。そのうち、半導体結晶は、通信、コンピューター、自動車及び電子情報産業を支持する基礎であり、半導体結晶を用いて製造された電子デバイス、半導体デバイス、固体レーザデバイス及び光学デバイスは、広い適用見込みがある。
【0003】
現在、酸化ガリウム結晶は、炭化ケイ素及びガリウム砒素に続いて発展してきた第3世代半導体材料であり、より広い禁制帯幅、より高い破壊電界、より高い熱伝導率、より大きい電子飽和速度、より短い紫外線カット吸収端及びより高い放射防止能力を有し、特にβ晶の酸化ガリウム結晶は、ワイドバンドギャップ半導体分野の重要な材料となると期待されている。しかし、酸化ガリウム結晶の製造方法において、依然として、原料の揮発分解、イリジウム貴金属坩堝の腐食、結晶の厚さが薄いこと、結晶の螺旋成長及び着色問題などの多くのチャレンジに直面している。
【0004】
公開日2022年11月1日、公開番号CN115261973Aの中国特許では、大サイズの酸化ガリウム結晶の成長方法が開示されている。該方法は、冷坩堝または合金坩堝に酸化ガリウム原料を装填しており、圧力範囲が0.1<p<0.7MPaの純酸素ガスの雰囲気下で、酸化ガリウム結晶成長を行う。該方法は、冷坩堝を採用すれば、点火剤として酸化ガリウム原料の中間領域に金属Gaまたはグラファイトシートを入れる必要があり、且つ冷坩堝が水冷セグメントおよび水冷台から構成され、成長過程で、外部の粉末が水冷の作用により加熱溶融されないため、1層の未溶融シェルを形成し、溶融体が未溶融シェル内に結晶成長する。該方法には、以下の欠陥が存在する。(1)点火剤として金属Gaまたはグラファイトシートを採用し、金属Gaが室温下で液体状態であり、且つ高価であり、消費品として使用するのに適さず、グラファイトシートによる電気火花が酸化ガリウム原料球を点火できていないが、同じプロセスで融点がより高い酸化アルミニウム粒子球を点火でき、さらに、グラファイトシートが還元性不純物に属し、溶融体に進入すると、高温下で原料を分解しやすい。(2)坩堝の側壁に水冷セグメントが増設されるので、外部の粉末が溶融されないようにすることができるが、その持ち去る熱量が極めて大きく、径方向において極めて大きな温度差が形成され、引上げ法などの急速成長法に適し、結晶が開裂しやすく、大サイズで高品質の酸化ガリウム結晶を形成しにくい。(3)炉内に高純度の酸素ガスを導入し、装置構造及びプロセスステップを増加する必要がある。
【0005】
従って、酸化ガリウム結晶成長に有利であり、成長コストを低減する結晶成長方法および成長装置を提供することは、重要な意義を有する。
【発明の概要】
【発明が解決しようとする課題】
【0006】
上述した課題に対して、本発明は、結晶成長方法および結晶成長装置を提供することを目的とする。従来技術と比べて、本発明に係る結晶成長方法は、プロセスがシンプルであり、溶融池の径方向温度勾配を効果的に縮小し、酸化ガリウムの分解を抑制し、大サイズで、高品質の酸化ガリウム結晶の成長を実現することができる。本発明に係る結晶成長装置は、安定した軸方向温度勾配場を形成して結晶成長を促進することができる。
【課題を解決するための手段】
【0007】
本発明の目的を達成するために、本発明は、以下の技術方案を講じた。
【0008】
第1の態様として、本発明は、
種晶を坩堝の底部に固定し、坩堝内へ結晶原料を充填する仕込みステップと、
坩堝の上方に位置する光源エミッターを起動させ、溶融池の表面積が目標サイズに拡大するまで、光源の焦点を結晶原料の表面において移動させることでその表面を融解させて溶融池を形成する点火ステップと、
坩堝の外側に設けられた誘導コイルを起動させ、同期にして坩堝内へ結晶原料を添加し、溶融池が、坩堝の底部の種晶に接触するまで、継続して下向きに拡張する溶融池拡張ステップと、
誘導コイルの電力を段階的に低減し、結晶が溶融池の頂部に到達するまで、種晶の頂部より下から上まで絶え間なく結晶させる結晶成長ステップと、
誘導コイルの電力を、誘導コイルの電源をオフにするまで段階的に低減し、冷却した後、結晶を取り出す降温ステップと、を含む結晶成長方法であって、
前記結晶成長方法では、前記誘導コイルと坩堝との間に保温層が設けられており、
前記結晶成長の過程では、種晶の底部に位置する冷却システムが同期にして冷却を実行し、保温層が熱損失を回避することができ、坩堝の外壁の温度を1400℃下回らないように維持し、
前記溶融池拡張の過程では、前記溶融池と坩堝の内側壁との間に多結晶シェル層を形成する、結晶成長方法を提供する。
【0009】
本発明に係る結晶成長方法は、順次に仕込み、点火、溶融池拡張、結晶成長および降温などのステップがある。
【0010】
点火ステップでは、光源焦点の移動軌跡を制御することにより、溶融池の表面積が目標サイズを形成するまで拡大して、有効な溶融池を形成する。
(【0011】以降は省略されています)
この特許をJ-PlatPat(特許庁公式サイト)で参照する
関連特許
SECカーボン株式会社
坩堝
5か月前
株式会社CUSIC
SiC積層体の製造方法
3か月前
SECカーボン株式会社
結晶成長装置
5か月前
住友金属鉱山株式会社
結晶育成装置
1か月前
学校法人 東洋大学
マルチカラー結晶の結晶成長方法
4か月前
株式会社FLOSFIA
構造体および構造体の製造方法
1か月前
株式会社東芝
ウエーハ及びその製造方法
6か月前
株式会社SUMCO
単結晶の製造方法
3か月前
信越化学工業株式会社
炭化金属被覆材料
3か月前
コマディール・エス アー
サファイア棒状体の製造方法
4か月前
セイコーエプソン株式会社
人工水晶製造装置
1か月前
株式会社C&A
処理装置および方法
4か月前
日本碍子株式会社
AlN単結晶基板及びデバイス
3日前
株式会社レゾナック
SiCエピタキシャルウェハ
4か月前
住友金属鉱山株式会社
圧電性酸化物単結晶基板の製造方法
3か月前
住友金属鉱山株式会社
圧電性酸化物単結晶基板の製造方法
4か月前
信越半導体株式会社
3C-SiC膜の結晶性評価方法
6か月前
住友電気工業株式会社
炭化珪素基板の製造方法
2か月前
住友電気工業株式会社
炭化珪素基板の製造方法
2か月前
住友化学株式会社
窒化物積層体の製造方法および窒化物積層体
2か月前
信越半導体株式会社
3C-SiC単結晶基板の評価方法
2か月前
旭化成株式会社
結晶の製造方法、六方晶系半導体結晶及び素子
4か月前
グローバルウェーハズ・ジャパン株式会社
半導体基板の製造方法
3か月前
サイクリスタル ゲーエムベーハー
バルクSiC結晶の製造方法
7日前
株式会社Kanazawa Diamond
ダイヤモンド
4か月前
株式会社SUMCO
単結晶シリコンインゴットの製造方法
3か月前
住友化学株式会社
窒化物結晶基板の製造方法、および窒化物結晶基板
5か月前
信越半導体株式会社
ヘテロエピタキシャルウェーハの製造方法
3か月前
学校法人 名城大学
結晶成長用基板の作製方法
1か月前
株式会社豊田中央研究所
種結晶基板および種結晶基板付黒鉛サセプタ
5か月前
住友化学株式会社
窒化物結晶基板、および窒化物結晶基板の製造方法
3か月前
株式会社プロテリアル
炭化珪素単結晶の製造方法
5か月前
学校法人 名城大学
半導体発光素子用エピウエハ
1か月前
株式会社レゾナック
SiCインゴット及びSiC基板の製造方法
2か月前
株式会社レゾナック
SiCインゴット及びSiC基板の製造方法
2か月前
株式会社SUMCO
エピタキシャルシリコンウェーハ及びその製造方法
3か月前
続きを見る
他の特許を見る