TOP
|
特許
|
意匠
|
商標
特許ウォッチ
Twitter
他の特許を見る
公開番号
2025122719
公報種別
公開特許公報(A)
公開日
2025-08-22
出願番号
2024018314
出願日
2024-02-09
発明の名称
結晶成長用基板の作製方法
出願人
学校法人 名城大学
代理人
弁理士法人グランダム特許事務所
主分類
C30B
29/38 20060101AFI20250815BHJP(結晶成長)
要約
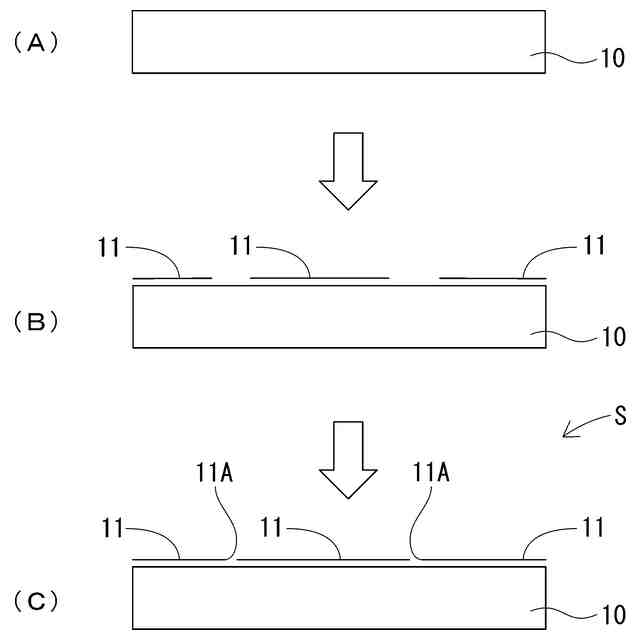
【課題】安定して高品質な半導体結晶を結晶成長させることができる結晶成長用基板の作製方法を提供する。
【解決手段】結晶成長用基板Sの作製方法は、サファイア基板10の表面にグラフェン層11を積層するグラフェン層積層工程を備え、グラフェン層積層工程は、サファイア基板10の表面が露出する複数の貫通孔11Aがグラフェン層11に形成された状態で実行を終了する。
【選択図】図1
特許請求の範囲
【請求項1】
基板の表面にグラフェン層を積層するグラフェン層積層工程を備え、
前記グラフェン層積層工程は、前記基板の表面が露出する複数の貫通孔が前記グラフェン層に形成された状態で実行を終了する、結晶成長用基板の作製方法。
続きを表示(約 510 文字)
【請求項2】
基板の表面にグラフェン層を積層するグラフェン層積層工程と、
前記グラフェン層積層工程を実行後、前記基板の表面が露出するように前記グラフェン層に複数の貫通孔を形成する貫通孔形成工程と、
を備える、結晶成長用基板の作製方法。
【請求項3】
基板の表面にグラフェン層を積層するグラフェン層積層工程を備え、
前記グラフェン層積層工程は、前記グラフェン層に七員環以上の大きさを持つ欠陥を複数形成する、結晶成長用基板の作製方法。
【請求項4】
前記グラフェン層積層工程では、前記基板と前記グラフェン層との間に水素原子を保持し、
前記グラフェン層積層工程実行後に前記基板を加熱すると、前記水素原子は、前記貫通孔を介して脱離する、請求項1又は請求項2に記載の結晶成長用基板の作製方法。
【請求項5】
前記グラフェン層積層工程では、前記基板と前記グラフェン層との間に水素原子を保持し、
前記グラフェン層積層工程実行後に前記基板を加熱すると、前記水素原子は、前記欠陥を介して脱離する、請求項3に記載の結晶成長用基板の作製方法。
発明の詳細な説明
【技術分野】
【0001】
本発明は結晶成長用基板の作製方法に関するものである。
続きを表示(約 1,300 文字)
【背景技術】
【0002】
特許文献1には、GaN層に積層したグラフェン層に、溝状の開口部を形成したマスク層を積層し、CVD法を用いて転位を抑えたGaN結晶を結晶成長させる技術が開示されている。
【先行技術文献】
【特許文献】
【0003】
特開2021-175694号公報
【発明の概要】
【発明が解決しようとする課題】
【0004】
しかし、特許文献1の手法を用いると、開口部の上部に相当する領域の転位が多い等、得られたGaN結晶の品質にばらつきが生じがちであり、安定して高品質なGaN結晶を結晶成長させる技術が望まれていた。
【0005】
本発明は、上記従来の実情に鑑みてなされたものであって、安定して高品質な半導体結晶を結晶成長させることができる結晶成長用基板の作製方法を提供することを解決すべき課題としている。
【課題を解決するための手段】
【0006】
第1発明の結晶成長用基板の作製方法は、
基板の表面にグラフェン層を積層するグラフェン層積層工程を備え、
前記グラフェン層積層工程は、前記基板の表面が露出する複数の貫通孔が前記グラフェン層に形成された状態で実行を終了する。
【0007】
第2発明の結晶成長用基板の作製方法は、
基板の表面にグラフェン層を積層するグラフェン層積層工程と、
前記グラフェン層積層工程を実行後、前記基板の表面が露出するように前記グラフェン層に複数の貫通孔を形成する貫通孔形成工程と、
を備える。
【0008】
第3発明の結晶成長用基板の作製方法は、
基板の表面にグラフェン層を積層するグラフェン層積層工程を備え、
前記グラフェン層積層工程は、前記グラフェン層に七員環以上の大きさを持つ欠陥を複数形成する。
【0009】
第1発明、第2発明、及び第3発明の結晶成長用基板の作製方法によれば、安定して高品質な半導体結晶を製造することができる基板を作製することができる。
【図面の簡単な説明】
【0010】
実施例1の結晶成長用基板の作製方法を示す概略図である。
(A)は作製した結晶成長用基板の表面側から見た原子間力顕微鏡像であり、(B)は、サファイア基板に積層されたグラフェン層をラマン散乱分光法によって観察した結果を示すグラフである。
結晶成長用基板に保持された水素原子が脱離する仕組みを説明する概略図である。
グラフェン-サファイア界面の水素終端状況のXPS測定結果である。
作製した結晶成長用基板を用いてGaN層を結晶成長させる工程を示す概略図である。
結晶成長工程の実行時間を変化させてGaN層を結晶成長させた各結晶成長用基板を表面側から見たSEM画像である。
グラフェン層の表面の全体を覆うように結晶成長したGaN層にエッチピットエッチング(リン酸、180℃3分)を施した表面のSEM画像である。
他の実施例の結晶成長用基板のグラフェン層の模式図である。
【発明を実施するための形態】
(【0011】以降は省略されています)
この特許をJ-PlatPat(特許庁公式サイト)で参照する
関連特許
学校法人千葉工業大学
光電変換素子
3か月前
学校法人 名城大学
中心線の検出方法
4か月前
学校法人 名城大学
レーザ端面の形成方法
1か月前
学校法人 名城大学
結晶成長用基板の作製方法
1か月前
学校法人 名城大学
半導体発光素子用エピウエハ
1か月前
学校法人 名城大学
保護画像の生成方法及びプログラム
10日前
学校法人 名城大学
保護画像の生成方法及びプログラム
10日前
学校法人 名城大学
単層カーボンナノチューブの製造方法
1か月前
学校法人 名城大学
軟骨診断システムおよび生体診断システム
4か月前
学校法人 名城大学
LEDデバイス、及びLEDデバイスの製造方法。
24日前
豊田合成株式会社
III族窒化物半導体およびその製造方法
2か月前
学校法人 名城大学
窒化物半導体発光素子の製造方法、及び窒化物半導体発光素子
2か月前
株式会社小糸製作所
半導体発光素子および半導体発光素子の製造方法
2か月前
株式会社小糸製作所
半導体発光素子、および半導体発光素子の製造方法
2か月前
株式会社小糸製作所
半導体発光素子、および半導体発光素子の製造方法
2か月前
河村電器産業株式会社
無線給電システム、無線給電装置及び無線給電方法
2か月前
SECカーボン株式会社
坩堝
6か月前
株式会社CUSIC
SiC積層体の製造方法
4か月前
SECカーボン株式会社
結晶成長装置
5か月前
住友金属鉱山株式会社
結晶育成装置
2か月前
学校法人 東洋大学
マルチカラー結晶の結晶成長方法
5か月前
株式会社FLOSFIA
構造体および構造体の製造方法
1か月前
株式会社SUMCO
単結晶の製造方法
3か月前
株式会社東芝
ウエーハ及びその製造方法
6か月前
信越化学工業株式会社
炭化金属被覆材料
3か月前
コマディール・エス アー
サファイア棒状体の製造方法
4か月前
セイコーエプソン株式会社
人工水晶製造装置
1か月前
株式会社C&A
処理装置および方法
4か月前
株式会社レゾナック
SiCエピタキシャルウェハ
5か月前
日本碍子株式会社
AlN単結晶基板及びデバイス
14日前
住友金属鉱山株式会社
圧電性酸化物単結晶基板の製造方法
5か月前
住友金属鉱山株式会社
圧電性酸化物単結晶基板の製造方法
3か月前
信越半導体株式会社
3C-SiC膜の結晶性評価方法
6か月前
住友金属鉱山株式会社
単結晶の育成方法及びその装置
4日前
住友化学株式会社
窒化物積層体の製造方法および窒化物積層体
2か月前
信越半導体株式会社
3C-SiC単結晶基板の評価方法
2か月前
続きを見る
他の特許を見る