TOP
|
特許
|
意匠
|
商標
特許ウォッチ
Twitter
他の特許を見る
公開番号
2025117662
公報種別
公開特許公報(A)
公開日
2025-08-13
出願番号
2024012511
出願日
2024-01-31
発明の名称
結晶育成装置
出願人
住友金属鉱山株式会社
代理人
個人
,
個人
主分類
C30B
15/14 20060101AFI20250805BHJP(結晶成長)
要約
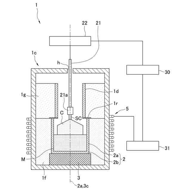
【課題】ルツボの底部における原料固化を防止することができ、原料融液の状態を結晶育成に適した状態にすることができる結晶育成装置を提供する。
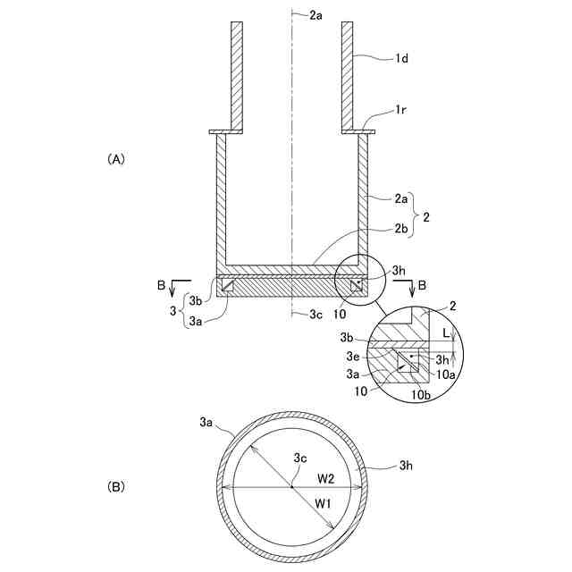
【解決手段】誘導加熱によって原料を溶融した原料融液Mから単結晶Cを育成する結晶育成装置1であって、原料が溶融した原料融液Mを収容する、有底円筒状のルツボ2と、ルツボ2を誘導加熱する誘導コイル5と、ルツボ2の下方に設けられ、誘導コイル5によって誘導加熱される補助発熱体10と、を備えており、補助発熱体10が、環状の部材であって、ルツボ2側に位置する表面が内方から外方に向かうに従ってルツボ2から離間するように傾斜した傾斜面のみを有している。ルツボ2の底部の中央部の温度の低下を防止できるので、単結晶Cの育成にともなう原料融液Mの温度低下を防止できる。したがって、単結晶Cの育成に伴うルツボ2の底部での原料の固化を防止できる。
【選択図】図1
特許請求の範囲
【請求項1】
誘導加熱によって原料を溶融した原料融液から単結晶を育成する結晶育成装置であって、
原料が溶融した原料融液を収容する、有底円筒状のルツボと、
該ルツボを誘導加熱する誘導コイルと、
前記ルツボの下方に設けられ、前記誘導コイルによって誘導加熱される補助発熱体と、を備えており、
該補助発熱体が、
環状の部材であって、前記ルツボ側に位置する表面が内方から外方に向かうに従って前記ルツボから離間するように傾斜した傾斜面のみを有している
ことを特徴とする結晶育成装置。
続きを表示(約 360 文字)
【請求項2】
前記補助発熱体の傾斜面は、
その表面の傾斜角度が、前記貫通孔の中心軸に対して15度~45度である
ことを特徴とする請求項1記載の結晶育成装置。
【請求項3】
前記補助発熱体は、
その外径が、前記ルツボの底面の外径よりも0~20mm短い
ことを特徴とする請求項1記載の結晶育成装置。
【請求項4】
前記補助発熱体は、
内径と外径の差が、前記ルツボ底面の外径の15%~40%である
ことを特徴とする請求項1記載の結晶育成装置。
【請求項5】
前記補助発熱体は、
その上端から前記ルツボの底面までの距離が5~20mmとなるように配設されている
ことを特徴とする請求項1記載の結晶育成装置。
発明の詳細な説明
【技術分野】
【0001】
本発明は、結晶育成装置に関する。
続きを表示(約 1,900 文字)
【背景技術】
【0002】
タンタル酸リチウムやニオブ酸リチウムなどの酸化物単結晶の製造方法としては、チョクラルスキー法による結晶育成方法が広く実施されている。チョクラルスキー法では、酸化物単結晶となる原料を充填したルツボを高温に加熱してこの原料を溶融し、ルツボ内の原料融液の液面に上方から種結晶を接触させた後、種結晶を回転させながら上昇させることによって種結晶と同一方位の酸化物単結晶を育成することができる。なお、種結晶には、ある結晶方位に従って切り出された、原料融液と同一組成の直方体単結晶(通常は断面の一辺が数mm程度)が使用される。
【0003】
チョクラルスキー法による単結晶育成を行う装置として、誘導加熱を利用する装置が知られている(特許文献1、2参照)。かかる誘導加熱を利用する装置では、金属製のルツボを使用しており、このルツボの周囲に誘導コイルが配置されているので、誘導コイルに高周波の電流を流せばルツボに渦電流を発生させることができる。すると、渦電流によってルツボが発熱するので、ルツボの熱によってルツボ内の原料を溶融することができる。
【0004】
近年、酸化物単結晶は表面弾性波デバイス材料として市場が拡大しており、生産量の確保のため、より直径が大きい単結晶を育成することが求められている。
【0005】
チョクラルスキー法による単結晶育成では、育成する結晶(以下引き上げる結晶という場合がある)の直径を大きくするためには、使用するルツボも大きくしなければならずルツボ内に収容されている原料融液の量も多くなる。引き上げる単結晶の直径が大きくなると、引き上げる単結晶の直径が小さい場合に比べて、原料融液の加熱に必要な熱量が大きくなる。また、品質の良い単結晶を成長させるためにはルツボ内の温度勾配を適正に管理しなければ均一な単結晶を育成することができない。
【0006】
ここで、誘導コイルはルツボの側壁を囲むように設けられているので、ルツボの側壁に比べてルツボの底部の発熱は小さくなっている。とくに、ルツボの底部の中央部は誘導コイルから離れているので、ルツボの底部の中央部やその近傍の原料融液は温度が下がりやすい。このため、原料融液は、その上部では単結晶育成に適切な温度になっていても、ルツボの底部の中央部近傍では温度が低下し、原料融液の固化が開始することがある。ルツボの直径を大きくした場合には、誘導コイルとルツボ底部の中央部との距離が大きくなるため、この現象が生じやすくなる。
【0007】
また、ルツボ底部の中央部の原料融液の固化が開始した状態で単結晶の育成を続けた場合には、ルツボの底部近傍で固化した結晶が上方に成長し、育成している単結晶と融着する可能性がある。かかる融着が発生すれば、それ以降の単結晶成長が行えないため、単結晶の育成を中止しなければならない事態が発生することがある。
【0008】
そこで、ルツボ底部の温度の低下を防止するために、特許文献1、2の技術が開発されている。
【0009】
特許文献1には、円筒状部材によって側面を形成し円板状部材によって底面を形成した坩堝を有する単結晶引上装置が開示されている。この単結晶引上装置の坩堝は、円板状部材が円筒状部材の外周面よりも半径方向外方に突出しており、突出した部分がフランジ状外周部を形成している。かかるフランジ状外周部は、加熱コイルに最も近い位置となるため、円板状部材が上部或いは円筒状部材よりも発熱して高温になるため、坩堝の下部の方が上部よりも高温となる温度勾配を付加することができる旨の記載がある。
【0010】
特許文献2には、るつぼ内の結晶材料を高周波加熱して溶融液として引上げ法により単結晶を得る酸化物単結晶の製造方法が開示されている。特許文献2には、酸化物単結晶の製造方法に使用する結晶作成炉として、耐火物るつぼ内に耐火物製の台上に配置された白金―ロジウム性のるつぼと、耐火物るつぼの周囲に配置された加熱コイルと、耐火物製の台の空間に補助熱源体を設けたものが開示されている。そして、補助発熱体として、るつぼの底面の面積より小さくかつるつぼの高さ方向に所定の長さを有するものが開示されており、かかる補助発熱体は高周波ののりがよく適度に加熱されることによって結晶の晶出を防止することができる旨の記載がある。
【先行技術文献】
【特許文献】
(【0011】以降は省略されています)
この特許をJ-PlatPat(特許庁公式サイト)で参照する
関連特許
株式会社CUSIC
SiC積層体の製造方法
4か月前
住友金属鉱山株式会社
結晶育成装置
2か月前
アムジエン・インコーポレーテツド
SLC30A8発現を阻害するためのRNAiコンストラクト及びその使用方法
1日前
株式会社FLOSFIA
構造体および構造体の製造方法
1か月前
株式会社SUMCO
単結晶の製造方法
3か月前
信越化学工業株式会社
炭化金属被覆材料
3か月前
コマディール・エス アー
サファイア棒状体の製造方法
4か月前
セイコーエプソン株式会社
人工水晶製造装置
1か月前
株式会社C&A
処理装置および方法
4か月前
日本碍子株式会社
AlN単結晶基板及びデバイス
17日前
住友金属鉱山株式会社
圧電性酸化物単結晶基板の製造方法
3か月前
住友金属鉱山株式会社
単結晶の育成方法及びその装置
7日前
住友電気工業株式会社
炭化珪素基板の製造方法
2か月前
住友化学株式会社
窒化物積層体の製造方法および窒化物積層体
2か月前
信越半導体株式会社
3C-SiC単結晶基板の評価方法
2か月前
住友電気工業株式会社
炭化珪素基板の製造方法
2か月前
グローバルウェーハズ・ジャパン株式会社
半導体基板の製造方法
4か月前
サイクリスタル ゲーエムベーハー
バルクSiC結晶の製造方法
21日前
株式会社Kanazawa Diamond
ダイヤモンド
4か月前
株式会社SUMCO
単結晶シリコンインゴットの製造方法
3か月前
三菱マテリアル電子化成株式会社
シリコンインゴット
今日
学校法人 名城大学
結晶成長用基板の作製方法
1か月前
住友化学株式会社
窒化物結晶基板、および窒化物結晶基板の製造方法
3か月前
信越半導体株式会社
ヘテロエピタキシャルウェーハの製造方法
3か月前
株式会社レゾナック
SiCインゴット及びSiC基板の製造方法
3か月前
学校法人 名城大学
半導体発光素子用エピウエハ
1か月前
株式会社SUMCO
エピタキシャルシリコンウェーハ及びその製造方法
4か月前
株式会社レゾナック
SiCインゴット及びSiC基板の製造方法
3か月前
国立大学法人茨城大学
Mg3Sb2薄膜の製造方法、Mg3Sb2薄膜
1か月前
住友化学株式会社
III族窒化物積層体およびIII族窒化物積層体の製造方法
3か月前
住友化学株式会社
III族窒化物積層体およびIII族窒化物積層体の製造方法
3か月前
住友化学株式会社
III族窒化物積層体およびIII族窒化物積層体の製造方法
3か月前
国立大学法人東海国立大学機構
金属ナノワイヤ製造方法および金属ナノワイヤデバイス
2か月前
パナソニックホールディングス株式会社
III族窒化物基板およびその製造方法
2か月前
住友化学株式会社
窒化ガリウム単結晶基板および窒化ガリウム単結晶基板の製造方法
1か月前
住友化学株式会社
窒化ガリウム単結晶基板および窒化ガリウム単結晶基板の製造方法
1か月前
続きを見る
他の特許を見る