TOP
|
特許
|
意匠
|
商標
特許ウォッチ
Twitter
他の特許を見る
公開番号
2025049812
公報種別
公開特許公報(A)
公開日
2025-04-04
出願番号
2023158261
出願日
2023-09-22
発明の名称
建設機械
出願人
日本車輌製造株式会社
代理人
個人
,
個人
主分類
B66D
1/42 20060101AFI20250327BHJP(巻上装置;揚重装置;牽引装置)
要約
【課題】操作対象として選択したウインチドラムを特定でき、操作時においてウインチドラムと操作系との対応関係を容易に確認できる建設機械を提供する。
【解決手段】複数のウインチドラムを選択的に操作する単一のドラム操作レバーと、各ウインチドラムに対応する複数のドラムブレーキペダルと、操作対象のウインチドラムを選択する選択スイッチ38aと、該選択スイッチで選択した操作対象のウインチドラムをランプの点灯によって知らせる複数のドラム表示ランプ39a,39bとをそれぞれ配置した建設機械であって、第1ドラムブレーキペダル及び第1ドラム表示ランプ39aを第1ウインチ操作に関連する色として同一色で着色し、第2ドラムブレーキペダル及び第2ドラム表示ランプ39bを、第1ウインチ操作に関連する色とは異なる第2ウインチ操作に関連する色として同一色で着色した。
【選択図】図2
特許請求の範囲
【請求項1】
下部走行体の上部に上部旋回体を旋回可能に設け、該上部旋回体には、複数のウインチドラムと、各ウインチドラムに巻回したワイヤロープと、運転室とが備えられ、該運転室内に、前記各ウインチドラムを選択的に操作する単一のドラム操作レバーと、前記各ウインチドラムに対応する複数のドラムブレーキペダルと、操作対象のウインチドラムを選択する選択スイッチと、該選択スイッチで選択した前記操作対象のウインチドラムをランプの点灯によって知らせる複数のドラム表示ランプとをそれぞれ配置した建設機械であって、
前記複数のウインチドラムは、第1ワイヤロープを巻回する第1ウインチドラムと、第2ワイヤロープを巻回する第2ウインチドラムとからなり、
前記複数のドラムブレーキペダルは、前記第1ウインチドラム制動用の第1ドラムブレーキペダルと、前記第2ウインチドラム制動用の第2ドラムブレーキペダルからなり、
前記複数のドラム表示ランプは、前記第1ウインチドラム表示用の第1ドラム表示ランプと、前記第2ウインチドラム表示用の第2ドラム表示ランプとからなり、
前記第1ドラムブレーキペダル及び前記第1ドラム表示ランプを第1ウインチ操作に関連する色として同一色で着色し、
前記第2ドラムブレーキペダル及び前記第2ドラム表示ランプを、前記第1ウインチ操作に関連する色とは異なる第2ウインチ操作に関連する色として同一色で着色したことを特徴とする建設機械。
発明の詳細な説明
【技術分野】
【0001】
本発明は、クレーンや杭打機、掘削機などの建設機械に関し、詳しくは、運転室にウインチ操作のための操作レバー及びブレーキペダルを備えた建設機械に関する。
続きを表示(約 2,600 文字)
【背景技術】
【0002】
クレーンや杭打機、掘削機などの建設機械の運転室には、旋回体に搭載された複数のウインチドラムを操作するための複数の操作レバーや、各ウインチドラムに対応した複数のブレーキペダルが設けられている。こうしたウインチ系の操作装置は、互いに隣り合うレバー同士の配置間隔やペダル同士の配置間隔が狭く操作性に優れている反面、ペダルの踏み間違えなどの誤操作を招きやすいという実情がある。そこで、各ウインチドラムに対応する操作レバー及びブレーキペダルを同色に着色し、各ウインチドラムと各操作系との対応関係を運転者が容易に確認できるようにした建設機械が提案されている(例えば、特許文献1参照)。
【先行技術文献】
【特許文献】
【0003】
特開2012-56751号公報
【発明の概要】
【発明が解決しようとする課題】
【0004】
近年の建設機械の多機能化に伴って、操作装置に統合機能を持たせようとする考えがある。例えば、図7に示すように、前後左右に傾動可能な操作レバー100の前後傾動方向に対してウインチドラムの操作(繰り出し及び巻き取り)を割り当て、図8に示すように、第1ウインチドラム101及び第2ウインチドラム102をそれぞれ駆動する2つの油圧モータ103,104と制御弁105との間の油圧回路上に切替弁106を設けた構成とし、スイッチ操作による切替指令を切替弁106に与えて操作対象を設定することにより、単一の操作レバー100からの操作指令で第1ウインチドラム101及び第2ウインチドラム102を選択的に操作することができる。しかしながら、こうした統合操作装置に特許文献1記載の技術を適用する場合、操作レバーの数と操作ペダルの数との対応関係(原則として1対1の関係)が崩れ、単純に色分けすることができないという問題がある。
【0005】
そこで本発明は、操作対象として選択したウインチドラムを特定でき、操作時においてウインチドラムと操作系との対応関係を容易に確認できる建設機械を提供することを目的としている。
【課題を解決するための手段】
【0006】
上記目的を達成するため、本発明の建設機械は、下部走行体の上部に上部旋回体を旋回可能に設け、該上部旋回体には、複数のウインチドラムと、各ウインチドラムに巻回したワイヤロープと、運転室とが備えられ、該運転室内に、前記各ウインチドラムを選択的に操作する単一のドラム操作レバーと、前記各ウインチドラムに対応する複数のドラムブレーキペダルと、操作対象のウインチドラムを選択する選択スイッチと、該選択スイッチで選択した前記操作対象のウインチドラムをランプの点灯によって知らせる複数のドラム表示ランプとをそれぞれ配置した建設機械であって、前記複数のウインチドラムは、第1ワイヤロープを巻回する第1ウインチドラムと、第2ワイヤロープを巻回する第2ウインチドラムとからなり、前記複数のドラムブレーキペダルは、前記第1ウインチドラム制動用の第1ドラムブレーキペダルと、前記第2ウインチドラム制動用の第2ドラムブレーキペダルからなり、前記複数のドラム表示ランプは、前記第1ウインチドラム表示用の第1ドラム表示ランプと、前記第2ウインチドラム表示用の第2ドラム表示ランプとからなり、前記第1ドラムブレーキペダル及び前記第1ドラム表示ランプを第1ウインチ操作に関連する色として同一色で着色し、前記第2ドラムブレーキペダル及び前記第2ドラム表示ランプを、前記第1ウインチ操作に関連する色とは異なる第2ウインチ操作に関連する色として同一色で着色したことを特徴としている。
【発明の効果】
【0007】
本発明の建設機械によれば、複数のウインチドラムにそれぞれ対応するドラムブレーキペダル及びドラム表示ランプを、ウインチ操作の対象ごとに異ならせて同一色に着色したので、単一のドラム操作レバーで複数のウインチドラムを操作する際に、ドラム表示ランプの点灯によって、運転者が操作対象を正しく認識した状態で所望のウインチ操作が行えるようになる。しかも、ドラム表示ランプの色と同じ色に着色されたドラムブレーキペダルの位置に注意を向けて操作することが可能となり、ウインチ操作における誤操作防止の観点からも優れたものとなる。
【図面の簡単な説明】
【0008】
本発明の一形態例を示す建設機械に設けられた運転席の斜視図である。
同じく第1ドラム表示ランプの点灯状態を示す操作パネルの図である。
同じく第2ドラム表示ランプの点灯状態を示す操作パネルの図である。
本発明を適用可能な建設機械の一例を示す掘削機の側面図である。
同じく第1及び第2ウインチドラムの正面図である。
同じく第1及び第2ウインチドラムの斜視図である。
従来技術におけるウインチ操作レバーの説明図である。
従来技術におけるウインチドラムの制御回路図である。
【発明を実施するための形態】
【0009】
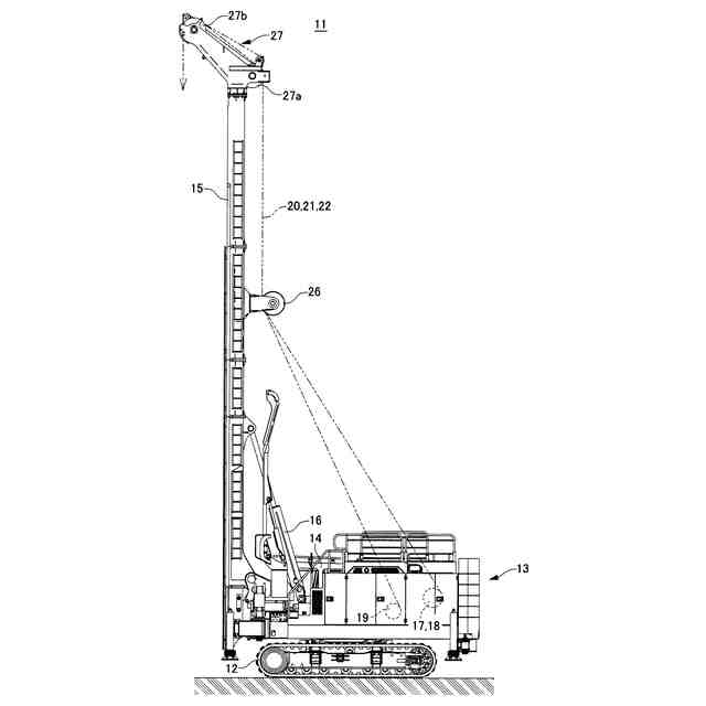
図1乃至図6は、本発明の適用可能な建設機械の一例を示す掘削機である。掘削機11は、図4に示すように、ケーシング掘削や地盤改良などの各種施工が可能な多目的掘削仕様機であって、クローラを備えた下部走行体12と、該下部走行体12上に旋回可能に設けられ、一側部に運転室14を備えた上部旋回体13と、該上部旋回体13の前部に起伏可能に設けられたリーダ(起伏部材)15と、該リーダ15を後方から支持する起伏シリンダ16と、各種用途に用いるワイヤロープ20,21,22を巻回する複数のウインチドラム17,18,19とを備えている。
【0010】
複数のウインチドラム17,18,19は、上部旋回体13の幅方向中央部において前後2列で設けられている。具体的には、後側に第1ワイヤロープ20を巻回する第1ウインチドラム(メインドラム)17と第2ワイヤロープ21を巻回する第2ウインチドラム(サブドラム)18とが横並びに配置され、前側には第3ワイヤロープ22を巻回する第3ウインチドラム(サードドラム)19が配置されている。
(【0011】以降は省略されています)
この特許をJ-PlatPat(特許庁公式サイト)で参照する
関連特許
日本車輌製造株式会社
鉄道車両及びその製造方法
3日前
個人
自走手摺
2か月前
ユニパルス株式会社
吊具
4か月前
個人
海上コンテナ昇降装置
9か月前
ユニパルス株式会社
荷役装置
9か月前
ユニパルス株式会社
吊具装置
10か月前
水戸工業株式会社
吊り具
6か月前
株式会社いうら
車椅子用昇降機
2か月前
株式会社豊田自動織機
産業車両
25日前
株式会社豊田自動織機
荷役車両
9か月前
ユニパルス株式会社
リフト装置
4か月前
株式会社豊田自動織機
荷役車両
8か月前
株式会社豊田自動織機
産業車両
10か月前
大栄産業株式会社
クランプ
4か月前
個人
垂直自動搬送機
26日前
白山工業株式会社
バランサ
6か月前
株式会社大林組
安全支援システム
1か月前
ユニパルス株式会社
荷役助力装置
5か月前
株式会社伊藤
滑り止め装置
2か月前
ユニパルス株式会社
荷役助力装置
4か月前
ユニパルス株式会社
荷役助力装置
2か月前
愛知製鋼株式会社
受け架台
1か月前
個人
建築部材の吊り上げ装置
11か月前
株式会社キトー
タイヤ用吊具
5か月前
株式会社ユピテル
システム等
5か月前
株式会社五十鈴製作所
搬送装置
4か月前
新英運輸株式会社
自動車用台車
5か月前
株式会社豊田自動織機
フォークリフト
18日前
大和ハウス工業株式会社
吊上具
1か月前
フジテック株式会社
エレベータ
8か月前
株式会社豊田自動織機
フォークリフト
7か月前
中国計量大学
電子安全クランプ
7日前
山崎産業株式会社
手摺り拭用器具
27日前
有限会社サエキ
玉掛用器具
9か月前
中坪造園有限会社
吊り荷降ろし具
4か月前
株式会社タダノ
高所作業車
12か月前
続きを見る
他の特許を見る