TOP
|
特許
|
意匠
|
商標
特許ウォッチ
Twitter
他の特許を見る
公開番号
2025054819
公報種別
公開特許公報(A)
公開日
2025-04-08
出願番号
2023163981
出願日
2023-09-26
発明の名称
車両用灯具
出願人
株式会社小糸製作所
代理人
個人
主分類
F21S
43/237 20180101AFI20250331BHJP(照明)
要約
【課題】 板状導光体の発光むらを抑制し得る車両用灯具を提供する。
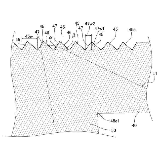
【解決手段】 車両用灯具1は、第1光源20、一端側から他端側に向かって第1光源20からの光を導光する柱状導光体40、柱状導光体40に接続される板状導光体50を備え、柱状導光体40は、外周面のうち板状導光体50が接続される側と反対側に、柱状導光体40の長手方向に沿って並ぶ複数のステップ45を含み、ステップ45は、一端側から他端側に向かって板状導光体50側と反対側に傾斜する第1斜面46と、第1斜面46より他端側に位置し一端側から他端側に向かって板状導光体50側に傾斜する第2斜面47とを有し、板状導光体50は、柱状導光体40から導光される光L1を主面50s1から出射し、一端側に位置するステップ45における第2斜面47の柱状導光体40の長手方向に対する傾きαは、他端側に位置するステップ45における第2斜面47の傾きαより大きい。
【選択図】 図4
特許請求の範囲
【請求項1】
光源と、
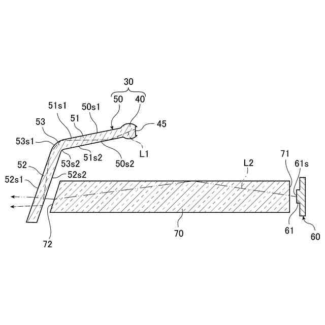
一端側における入射部から入射する前記光源からの光を他端側に向かって導光する柱状導光体と、
一方の主面の面内方向が前記柱状導光体の長手方向に沿うように当該前記柱状導光体の外周面に接続される板状導光体と、
を備え、
前記柱状導光体は、前記外周面のうち前記板状導光体が接続される側と反対側に、前記柱状導光体の長手方向に沿って並ぶ複数のステップを含み、
前記ステップは、前記一端側から前記他端側に向かって前記板状導光体側と反対側に傾斜する第1斜面と、前記第1斜面より前記他端側に位置し前記一端側から前記他端側に向かって前記板状導光体側に傾斜し前記光源からの光を前記板状導光体に向けて内面反射する第2斜面とを有し、
前記板状導光体は、前記柱状導光体から導光される光を前記一方の主面から出射し、
前記一端側に位置する前記ステップにおける前記第2斜面の前記柱状導光体の長手方向に対する傾きは、前記他端側に位置する前記ステップにおける前記第2斜面の前記柱状導光体の長手方向に対する傾きより大きい
ことを特徴とする車両用灯具。
続きを表示(約 670 文字)
【請求項2】
前記一端に近い前記ステップにおける前記第2斜面ほど、前記柱状導光体の長手方向に対する傾きが大きい
ことを特徴とする請求項1に記載の車両用灯具。
【請求項3】
それぞれの前記ステップの前記第1斜面における前記柱状導光体の長手方向に対する傾きは、同じである
ことを特徴とする請求項1に記載の車両用灯具。
【請求項4】
前記他端側に位置する前記ステップの前記第2斜面における前記柱状導光体の長手方向と垂直かつ前記板状導光体側に向かう方向の幅は、前記一端側に位置する前記ステップの前記第2斜面における前記柱状導光体の長手方向と垂直かつ前記板状導光体側に向かう方向の幅より広い
ことを特徴とする請求項1に記載の車両用灯具。
【請求項5】
前記他端に近い前記ステップの前記第2斜面ほど、前記柱状導光体の長手方向と垂直かつ前記板状導光体側に向かう方向における幅が広い
ことを特徴とする請求項4に記載の車両用灯具。
【請求項6】
前記一端に最も近い前記ステップは、前記柱状導光体と前記板状導光体との接続部における前記一端側の端より前記一端側に位置する
ことを特徴とする請求項1に記載の車両用灯具。
【請求項7】
前記他端に最も近い前記ステップは、前記柱状導光体と前記板状導光体との接続部における前記他端側の端より前記他端側に位置する
ことを特徴とする請求項1から6のいずれか1項に記載の車両用灯具。
発明の詳細な説明
【技術分野】
【0001】
本発明は、車両用灯具に関する。
続きを表示(約 1,900 文字)
【背景技術】
【0002】
車両用灯具として、光源と、光源からの光を導光する導光体と、を備えるものがあり、下記特許文献1には、このような車両用灯具が開示されている。
【0003】
下記特許文献1の車両用灯具では、導光体は、柱状導光体と、一方の主面の面内方向が柱状導光体の長手方向に沿うように柱状導光体の外周面に接続される板状導光体と、から成る。光源からの光は、柱状導光体の一方の端面から柱状導光体に入射し、柱状導光体を伝搬する。柱状導光体は、外周面のうち板状導光体が接続される側と反対側に、柱状導光体の延在方向に沿って並ぶ複数のステップを含む。複数のステップは、互いに同じ形状とされ、光源からの光を板状導光体に向けて内面反射して板状導光体に導光する。板状導光体は、柱状導光体から導光される光を一方の主面から出射する。このため、光源からの光は、柱状導光体から板状導光体に導光され、板状導光体の一方の主面から出射され、板状導光体を一方の主面から見る場合に板状導光体が発光して見える。
【先行技術文献】
【特許文献】
【0004】
特開2017-147105号公報
【発明の概要】
【発明が解決しようとする課題】
【0005】
このような柱状導光体と板状導光体とから成る導光体は、板状導光体のうち光源側の部位に光を導光し難い傾向にあり、板状導光体の発光にむらが生じることが懸念される。
【0006】
そこで本発明は、板状導光体の発光むらを抑制し得る車両用灯具を提供することを目的とする。
【課題を解決するための手段】
【0007】
上記目的の達成のため、本発明の車両用灯具は、光源と、一端側における入射部から入射する前記光源からの光を他端側に向かって導光する柱状導光体と、一方の主面の面内方向が前記柱状導光体の長手方向に沿うように当該前記柱状導光体の外周面に接続される板状導光体と、を備え、前記柱状導光体は、前記外周面のうち前記板状導光体が接続される側と反対側に、前記柱状導光体の長手方向に沿って並ぶ複数のステップを含み、前記ステップは、前記一端側から前記他端側に向かって前記板状導光体側と反対側に傾斜する第1斜面と、前記第1斜面より前記他端側に位置し前記一端側から前記他端側に向かって前記板状導光体側に傾斜し前記光源からの光を前記板状導光体に向けて内面反射する第2斜面とを有し、前記板状導光体は、前記柱状導光体から導光される光を前記一方の主面から出射し、前記一端側に位置する前記ステップにおける前記第2斜面の前記柱状導光体の長手方向に対する傾きは、前記他端側に位置する前記ステップにおける前記第2斜面の前記柱状導光体の長手方向に対する傾きより大きいことを特徴とする。
【0008】
この車両用灯具では、一端側に位置するステップでは、他端側に位置するステップと比べて、柱状導光体を伝搬する光の第2斜面への入射角が小さくなり得る。このため、一端側に位置するステップでは、光が第2斜面から出射し、当該光が隣のステップにおける第1斜面から入射し当該隣のステップにおける第2斜面で内面反射するようにし得る。この場合、第2斜面、及び隣のステップの第1斜面で光が屈折するため、隣のステップの第2斜面に入射する際の光の伝搬方向を柱状導光体の長手方向に近づくようにし得る。このため、隣のステップの第2斜面で内面反射する光が、柱状導光体の長手方向と垂直な方向や、柱状導光体の長手方向と垂直な方向を基準とした一端側に向かう方向に伝搬するようにし得る。従って、この車両用灯具によれば、それぞれのステップにおける第2斜面の傾きが同じであり、光が第2斜面から出射せずに当該第2斜面で内面反射する場合と比べて、板状導光体における光源側の部位に光を導光し易くし得る。また、他端側に位置するステップでは、光が第2斜面から出射せずに当該第2斜面で内面反射し、柱状導光体の長手方向と垂直な方向を基準とした他端側に向かう方向に伝搬するようにし得る。このため、板状導光体における光源側と反対側の部位に光が向かい易くし得る。従って、この車両用灯具によれば、上記の場合と比べて、板状導光体の発光むらを抑制し得る。
【0009】
前記一端に近い前記ステップにおける前記第2斜面ほど、前記柱状導光体の長手方向に対する傾きが大きくてもよい。
【0010】
このような構成によれば、板状導光体の発光むらをより抑制し得る。
(【0011】以降は省略されています)
この特許をJ-PlatPat(特許庁公式サイト)で参照する
関連特許
個人
室外機器
4か月前
個人
照明システム
3か月前
個人
気泡を用いた遊具。
6か月前
個人
車載機器の通気構造
1か月前
株式会社遠藤照明
照明装置
1か月前
株式会社遠藤照明
照明器具
5か月前
株式会社小糸製作所
車両用灯具
18日前
個人
LEDライト
3か月前
株式会社小糸製作所
車両用灯具
18日前
デンカ株式会社
照明装置
4か月前
能美防災株式会社
表示灯
1か月前
デンカ株式会社
道路用照明
4か月前
アクア株式会社
冷蔵庫
2か月前
株式会社小糸製作所
投光装置
1か月前
株式会社小糸製作所
投光装置
1か月前
フルトラム株式会社
光学機器
17日前
スタンレー電気株式会社
照射用光源
22日前
株式会社小糸製作所
誘導装置
29日前
株式会社小糸製作所
表示用灯具
22日前
株式会社小糸製作所
車両用灯具
6か月前
株式会社小糸製作所
車両用灯具
4か月前
株式会社小糸製作所
車両用灯具
4か月前
株式会社小糸製作所
車両用灯具
6か月前
株式会社小糸製作所
車両用灯具
4か月前
株式会社小糸製作所
車両用灯具
3か月前
株式会社小糸製作所
車両用灯具
4か月前
株式会社小糸製作所
車両用灯具
5か月前
株式会社小糸製作所
車両用灯具
3か月前
株式会社小糸製作所
車両用灯具
4日前
株式会社小糸製作所
車両用灯具
3か月前
株式会社小糸製作所
車両用灯具
2日前
株式会社小糸製作所
車両用灯具
6か月前
株式会社小糸製作所
車両用灯具
1日前
株式会社小糸製作所
車両用灯具
1日前
株式会社小糸製作所
表示用灯具
22日前
株式会社パクマケ
スポットライト
4か月前
続きを見る
他の特許を見る