TOP
|
特許
|
意匠
|
商標
特許ウォッチ
Twitter
他の特許を見る
10個以上の画像は省略されています。
公開番号
2025146634
公報種別
公開特許公報(A)
公開日
2025-10-03
出願番号
2024207338
出願日
2024-11-28
発明の名称
表示用灯具
出願人
株式会社小糸製作所
代理人
個人
主分類
F21S
43/50 20180101AFI20250926BHJP(照明)
要約
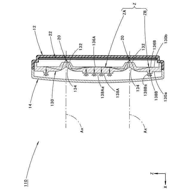
【課題】光源からの出射光を、透光制御部材を介して灯具前方へ向けて照射することにより、透光制御部材の一部領域を発光させるように構成された表示用灯具において、灯具点灯時に上記一部領域が明るく光って見えるようにする。
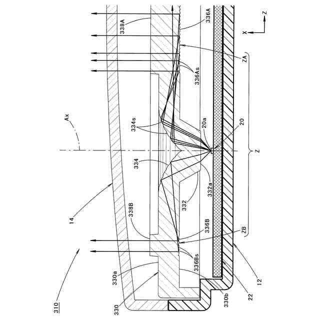
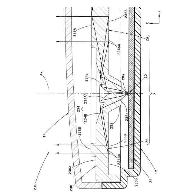
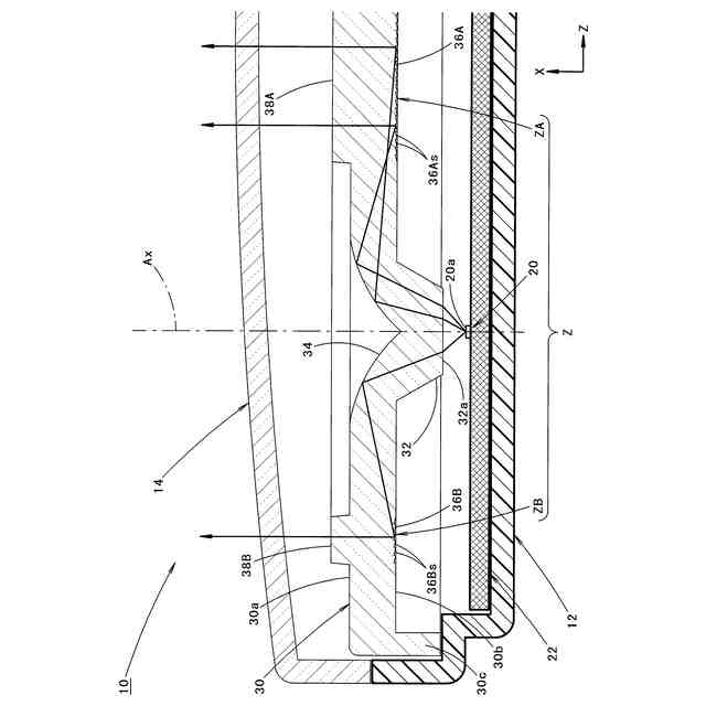
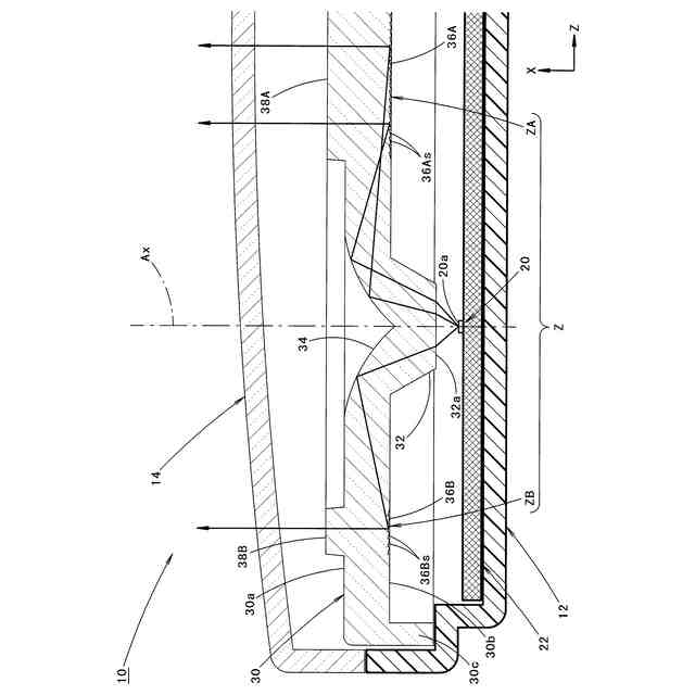
【解決手段】透光制御部材30として、光源20からの出射光を入射させる入射部32と、この入射部32の後端面32aから入射した光を順次全反射させる第1および第2反射面34、36とを備えた構成とする。その際、第1反射面34は、透光制御部材30の前面30aにおいて、入射部32から入射した光を、灯具前後方向に延びる仮想軸線Axを中心にして外周方向へ向けて全反射させるように形成する。また、第2反射面36は、透光制御部材30の後面30bにおける一部領域Zに対応する部位に、第1反射面34で全反射した光を前面30aから出射する方向へ向けて全反射させる反射素子36As、36Bsが形成された構成とする。
【選択図】図3
特許請求の範囲
【請求項1】
光源からの出射光を、透光制御部材を介して灯具前方へ向けて照射することにより、上記透光制御部材の一部領域を発光させるように構成された表示用灯具において、
上記透光制御部材は、上記光源からの出射光を入射させる入射部と、上記入射部から入射した光を順次全反射させる第1および第2反射面とを備えており、
上記第1反射面は、上記透光制御部材の前面において、上記入射部から入射した光を、灯具前後方向に延びる仮想軸線を中心にして外周方向へ向けて全反射させるように形成されており、
上記第2反射面は、上記透光制御部材の後面における上記一部領域に対応する部位に、上記第1反射面で全反射した光を上記前面から出射する方向へ向けて全反射させる複数の反射素子が形成された構成となっている、ことを特徴とする表示用灯具。
続きを表示(約 1,000 文字)
【請求項2】
上記第1反射面は、上記仮想軸線を中心とする複数の環状反射領域に区分けされており、
上記複数の環状反射領域の各々は、上記仮想軸線を含む平面内において、上記入射部から入射した光を収束光として全反射させるように形成された環状凸曲面部で構成されている、ことを特徴とする請求項1記載の表示用灯具。
【請求項3】
上記第1反射面は、内周側反射領域と外周側反射領域とが段差部を介して階段状に形成された構成となっており、かつ、上記内周側反射領域で全反射した光の一部が上記段差部から出射した後に上記外周側反射領域から再入射するように構成されている、ことを特徴とする請求項1記載の表示用灯具。
【請求項4】
上記透光制御部材の前面は、上記一部領域に対応する部位が灯具前方側へ突出した状態で形成されている、ことを特徴とする請求項1または2記載の表示用灯具。
【請求項5】
上記透光制御部材よりも灯具前方側に、上記透光制御部材からの照射光の一部を遮光する遮光部材が配置されており、
上記遮光部材は、上記一部領域に対応する部位に開口部が形成された構成となっている、ことを特徴とする請求項1または2記載の表示用灯具。
【請求項6】
上記光源は、上記一部領域以外の領域の複数箇所に配置されており、
上記透光制御部材は、上記複数箇所の各々に上記第1および第2反射面が形成された構成となっている、ことを特徴とする請求項1または2記載の表示用灯具。
【請求項7】
上記第1反射面は、上記透光制御部材の前面において上記仮想軸線を中心にして放射状に区分けされた複数の楔状領域に割り付けられた複数の反射素子で構成されており、
上記複数の反射素子の各々は、山形の断面形状で外周方向へ向けて延びる1対の傾斜面で構成されており、かつ、上記1対の傾斜面において上記入射部から入射した光を順次全反射させるように構成されている、ことを特徴とする請求項1記載の表示用灯具。
【請求項8】
上記複数の反射素子の各々は、外周方向へ向けて灯具前方側に傾斜して延びるように形成されている、ことを特徴とする請求項7記載の表示用灯具。
【請求項9】
上記透光制御部材の後面は、灯具前後方向と直交する平面で構成されており、
上記入射部は、上記後面と面一の平面で構成されている、ことを特徴とする請求項7または8記載の表示用灯具。
発明の詳細な説明
【技術分野】
【0001】
本願発明は、車両等に装着される表示用灯具に関するものである。
続きを表示(約 1,400 文字)
【背景技術】
【0002】
従来より、車両等に装着される表示用灯具として、光源からの出射光を、透光制御部材を介して灯具前方へ向けて照射することにより、透光制御部材の一部領域を発光させるように構成されたものが知られている。
【0003】
「特許文献1」には、このような表示用灯具における透光制御部材として、光源からの出射光を、その後面に形成された光入射面から入射させた後、その前面に形成された内部反射面によって外周方向へ向けて全反射させ、さらに、その後面に形成された光拡散面で拡散反射させるように構成されたものが記載されている。
【0004】
この「特許文献1」に記載された透光制御部材の後面は、光入射面以外の全領域が光拡散面として構成されており、この光拡散面は粗面処理による凹凸面として平面状に延びるように形成されている。
【0005】
そして、この「特許文献1」に記載された透光制御部材は、その内部反射面で全反射した光が光拡散面で拡散反射するとともに光源からの直射光が光拡散面から入射することによって、その後面における光入射面以外の全領域が略均一に光って見えるように構成されている。
【先行技術文献】
【特許文献】
【0006】
特開2018-185953号公報
【発明の概要】
【発明が解決しようとする課題】
【0007】
このような表示用灯具の構成として、その表示機能を高めるという観点からは、灯具点灯時に透光制御部材の一部領域が光って見えるようにした上で、この一部領域ができるだけ明るく光って見えるようにすることが望ましい。
【0008】
本願発明は、このような事情に鑑みてなされたものであって、光源からの出射光を、透光制御部材を介して灯具前方へ向けて照射することにより、透光制御部材の一部領域を発光させるように構成された表示用灯具において、灯具点灯時に上記一部領域が明るく光って見えるようにすることができる表示用灯具を提供することを目的とするものである。
【課題を解決するための手段】
【0009】
本願発明は、透光制御部材の構成に工夫を施すことにより、上記目的達成を図るようにしたものである。
【0010】
すなわち、本願発明に係る表示用灯具は、
光源からの出射光を、透光制御部材を介して灯具前方へ向けて照射することにより、上記透光制御部材の一部領域を発光させるように構成された表示用灯具において、
上記透光制御部材は、上記光源からの出射光を入射させる入射部と、上記入射部から入射した光を順次全反射させる第1および第2反射面とを備えており、
上記第1反射面は、上記透光制御部材の前面において、上記入射部から入射した光を、灯具前後方向に延びる仮想軸線を中心にして外周方向へ向けて全反射させるように形成されており、
上記第2反射面は、上記透光制御部材の後面における上記一部領域に対応する部位に、上記第1反射面で全反射した光を上記前面から出射する方向へ向けて全反射させる複数の反射素子が形成された構成となっている、ことを特徴とするものである。
(【0011】以降は省略されています)
この特許をJ-PlatPat(特許庁公式サイト)で参照する
関連特許
株式会社小糸製作所
水分解装置
14日前
株式会社小糸製作所
車両用灯具
11日前
株式会社小糸製作所
表示用灯具
10日前
株式会社小糸製作所
表示用灯具
10日前
株式会社小糸製作所
車両用灯具
6日前
株式会社小糸製作所
車両用灯具
3日前
株式会社小糸製作所
車両用灯具
4日前
株式会社小糸製作所
車両用灯具
6日前
株式会社小糸製作所
車両用灯具
3日前
株式会社小糸製作所
虚像表示装置
5日前
株式会社小糸製作所
照明表示装置
3日前
株式会社小糸製作所
表示システム
5日前
株式会社小糸製作所
表示制御装置及び表示装置
5日前
株式会社小糸製作所
電子ユニット及び車両用灯具
3日前
株式会社小糸製作所
発光素子搭載用基板および照明装置
14日前
株式会社小糸製作所
車両用灯具及び車両用灯具の製造方法
3日前
株式会社小糸製作所
開閉機構、車両用灯具及び車両用前照灯
3日前
株式会社小糸製作所
素子搭載基板、車両用灯具および素子搭載方法
14日前
株式会社小糸製作所
車両用灯具、ハウジング及びハウジングの製造方法
3日前
株式会社小糸製作所
光源ユニット、光源ユニットの製造方法、および車両用灯具
4日前
株式会社小糸製作所
配光制御装置、配光制御プログラムおよび車両用前照灯システム
3日前
株式会社小糸製作所
車両用センサ装置
6日前
株式会社小糸製作所
調整装置、調整システム、制御方法、制御プログラム、および記録媒体
10日前
個人
室外機器
3か月前
個人
照明システム
3か月前
個人
気泡を用いた遊具。
5か月前
個人
車載機器の通気構造
1か月前
株式会社遠藤照明
照明器具
4か月前
株式会社遠藤照明
照明装置
24日前
デンカ株式会社
照明装置
3か月前
能美防災株式会社
表示灯
1か月前
株式会社小糸製作所
車両用灯具
6日前
株式会社小糸製作所
車両用灯具
6日前
個人
LEDライト
3か月前
デンカ株式会社
道路用照明
3か月前
フルトラム株式会社
光学機器
5日前
続きを見る
他の特許を見る