TOP
|
特許
|
意匠
|
商標
特許ウォッチ
Twitter
他の特許を見る
10個以上の画像は省略されています。
公開番号
2025145518
公報種別
公開特許公報(A)
公開日
2025-10-03
出願番号
2024045723
出願日
2024-03-21
発明の名称
表示用灯具
出願人
株式会社小糸製作所
代理人
個人
主分類
F21S
43/20 20180101AFI20250926BHJP(照明)
要約
【課題】光源からの出射光を、透光制御部材を介して灯具前方へ向けて照射することにより、透光制御部材の一部領域を発光させるように構成された表示用灯具において、灯具非点灯時には上記一部領域が任意の色調で見えるようにした上で、灯具点灯時には上記一部領域がそれ以外の領域に対して十分な明暗差を確保した状態で発光して見えるようにする。
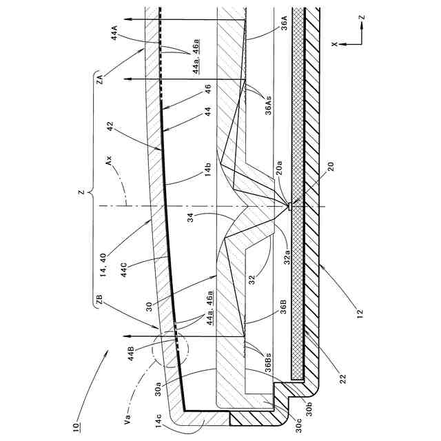
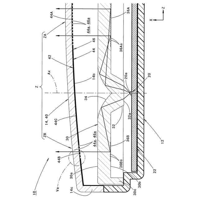
【解決手段】透光制御部材40として、透光カバー14の後面14bに、第1遮光膜44とこれよりも明度が低い第2遮光膜46とが、無色透明のフィルム42を介してこの順番で積層された構成とする。その際、第1遮光膜44は、一部領域Zに対応する部位に複数の第1貫通孔44aが形成された構成とする。また、第2遮光膜46は、複数の第1貫通孔44aの各々に対応する部位に第2貫通孔46aがそれぞれ形成された構成とする。
【選択図】図3
特許請求の範囲
【請求項1】
光源からの出射光を、透光制御部材を介して灯具前方へ向けて照射することにより、上記透光制御部材の一部領域を発光させるように構成された表示用灯具において、
上記透光制御部材は、透光板と上記透光板の表面に形成された遮光膜とを備えており、
上記遮光膜は、灯具前方側に位置する第1遮光膜と灯具後方側に位置する第2遮光膜とが灯具正面視において重複した状態で配置された構成となっており、
上記第1遮光膜は、上記一部領域に対応する部位に複数の第1貫通孔が形成された構成となっており、
上記第2遮光膜は、上記第1遮光膜よりも明度が低い遮光膜として構成されており、かつ、上記複数の第1貫通孔の各々に対応する部位に第2貫通孔がそれぞれ形成された構成となっている、ことを特徴とする表示用灯具。
続きを表示(約 400 文字)
【請求項2】
上記第1遮光膜は、上記一部領域に対応する部位が、互いに色調の異なる複数の領域に区分けされている、ことを特徴とする請求項1記載の表示用灯具。
【請求項3】
上記第2遮光膜は、黒色の遮光膜として構成されている、ことを特徴とする請求項1または2記載の表示用灯具。
【請求項4】
上記複数の第2貫通孔の各々は、上記複数の第1貫通孔の各々よりも小さい開口径で形成されている、ことを特徴とする請求項1または2記載の表示用灯具。
【請求項5】
上記透光制御部材は、上記第1および第2遮光膜が印刷されたフィルムが上記透光板の表面に積層された構成となっている、ことを特徴とする請求項1または2記載の表示用灯具。
【請求項6】
上記透光制御部材は、フィルムインサート成形品として構成されている、ことを特徴とする請求項5記載の表示用灯具。
発明の詳細な説明
【技術分野】
【0001】
本願発明は、車両等に装着される表示用灯具に関するものである。
続きを表示(約 1,300 文字)
【背景技術】
【0002】
従来より、車両等に装着される表示用灯具として、光源からの出射光を、透光制御部材を介して灯具前方へ向けて照射することにより、透光制御部材の一部領域を発光させるように構成されたものが知られている。
【0003】
「特許文献1」には、このような表示用灯具の構成として、その透光制御部材における前面の一部に金属調の遮光膜層が形成されたものが記載されている。
【0004】
この「特許文献1」に記載された表示用灯具は、灯具非点灯時には外光によって遮光膜層が反射して見える一方、灯具点灯時には光源からの出射光によって遮光膜層の周辺領域が光って見える構成となっている。
【先行技術文献】
【特許文献】
【0005】
実開平06ー010983号公報
【発明の概要】
【発明が解決しようとする課題】
【0006】
このような表示用灯具の構成として、灯具非点灯時には透光制御部材の一部領域が任意の色調で見えるようにした上で、灯具点灯時には上記一部領域がそれ以外の領域に対して十分な明暗差を確保した状態で発光して見えるようにすることが、その表示機能を高めるという観点から望ましい。
【0007】
本願発明は、このような事情に鑑みてなされたものであって、光源からの出射光を、透光制御部材を介して灯具前方へ向けて照射することにより、透光制御部材の一部領域を発光させるように構成された表示用灯具において、灯具非点灯時には上記一部領域が任意の色調で見えるようにした上で、灯具点灯時には上記一部領域がそれ以外の領域に対して十分な明暗差を確保した状態で発光して見えるようにすることができる表示用灯具を提供することを目的とするものである。
【課題を解決するための手段】
【0008】
本願発明は、透光制御部材の構成に工夫を施すことにより、上記目的達成を図るようにしたものである。
【0009】
すなわち、本願発明に係る表示用灯具は、
光源からの出射光を、透光制御部材を介して灯具前方へ向けて照射することにより、上記透光制御部材の一部領域を発光させるように構成された表示用灯具において、
上記透光制御部材は、透光板と上記透光板の表面に形成された遮光膜とを備えており、
上記遮光膜は、灯具前方側に位置する第1遮光膜と灯具後方側に位置する第2遮光膜とが灯具正面視において重複した状態で配置された構成となっており、
上記第1遮光膜は、上記一部領域に対応する部位に複数の第1貫通孔が形成された構成となっており、
上記第2遮光膜は、上記第1遮光膜よりも明度が低い遮光膜として構成されており、かつ、上記複数の第1貫通孔の各々に対応する部位に第2貫通孔がそれぞれ形成された構成となっている、ことを特徴とするものである。
【0010】
上記「表示用灯具」は、透光制御部材の一部領域が発光し得るように構成されたものであれば、その種類は特に限定されるものではなく、例えば、車両等に装着される発光エンブレムやインジケータランプ等が採用可能である。
(【0011】以降は省略されています)
この特許をJ-PlatPat(特許庁公式サイト)で参照する
関連特許
個人
室外機器
3か月前
個人
照明システム
3か月前
個人
気泡を用いた遊具。
5か月前
個人
車載機器の通気構造
26日前
株式会社遠藤照明
照明器具
4か月前
株式会社遠藤照明
照明装置
17日前
個人
LEDライト
3か月前
能美防災株式会社
表示灯
26日前
デンカ株式会社
照明装置
3か月前
デンカ株式会社
道路用照明
3か月前
株式会社小糸製作所
誘導装置
10日前
スタンレー電気株式会社
照射用光源
3日前
株式会社小糸製作所
投光装置
26日前
株式会社小糸製作所
投光装置
26日前
アクア株式会社
冷蔵庫
2か月前
瀧住電機工業株式会社
ダクトレール
6か月前
株式会社小糸製作所
車両用灯具
4か月前
株式会社小糸製作所
車両用灯具
3か月前
株式会社小糸製作所
車両用灯具
6か月前
株式会社小糸製作所
車両用灯具
6か月前
株式会社小糸製作所
車両用灯具
4か月前
株式会社小糸製作所
車両用灯具
3か月前
株式会社小糸製作所
車両用灯具
6か月前
株式会社小糸製作所
車両用灯具
4か月前
株式会社オカムラ
間仕切り装置
6か月前
株式会社小糸製作所
描画用灯具
6か月前
株式会社小糸製作所
車両用灯具
7か月前
株式会社小糸製作所
車両用灯具
2か月前
株式会社小糸製作所
車両用灯具
6か月前
株式会社小糸製作所
表示用灯具
3日前
株式会社小糸製作所
車両用灯具
3か月前
株式会社小糸製作所
車両用灯具
3か月前
株式会社小糸製作所
表示用灯具
3日前
株式会社小糸製作所
車両用灯具
6か月前
株式会社北井地所
照明装置
10日前
シャープ株式会社
照明装置
5か月前
続きを見る
他の特許を見る