TOP
|
特許
|
意匠
|
商標
特許ウォッチ
Twitter
他の特許を見る
10個以上の画像は省略されています。
公開番号
2025145587
公報種別
公開特許公報(A)
公開日
2025-10-03
出願番号
2024045856
出願日
2024-03-22
発明の名称
照射用光源
出願人
スタンレー電気株式会社
代理人
主分類
F21S
2/00 20160101AFI20250926BHJP(照明)
要約
【課題】測定装置、検査装置、照明装置その他の様々な装置の光源として利用できる照射用光源として、小型化と低コスト化を図った照射用光源を提供する。
【解決手段】照射用光源は、少なくとも第1照明光学系1を収容可能な固定枠6を備える。第1照明光学系1は、固定枠6の第1照明光学系収容部21の中に挿入する第1保持部材10に固定されている。第1保持部材10の外周には複数の突条部12が形成されている。第1照明光学系収容部21には、複数の突条部12に対応する溝28が形成されている。溝28には、それぞれの突条部12に対応する場所にストレート領域が形成されている。ストレート領域と突条部12の箇所の精度のみを高くすることでコスト低減を図ることができる。
【選択図】 図5
特許請求の範囲
【請求項1】
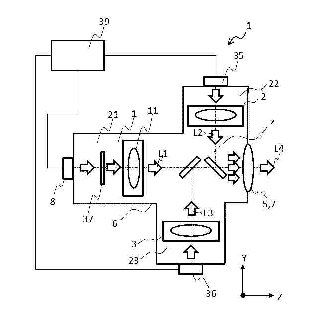
第1の光源から出光した通過する第1レンズを有し第1の光を出光する第1照明光学系と、前記第1の光と異なる主波長の光を出光する少なくとも一つの他の照明光学系と、
前記第1の光と前記他の照明光学系とから出光した光を合波して出光する合波光学系と、
前記合波光学系からの出光した光が入光し外部に向かって出光する出射レンズを有する出射光学系と、
前記第1照明光学系と、前記他の照明光学系と、前記合波光学系と、前記出射光学系とを内部に固定する固定枠と、を備えた、照射用光源であって、
前記第1レンズは、前記第1の光源からの光が入光する入光面と、当該入光面と反対側に位置する出光面を備え、前記第1の光源からの光を前記合波光学系に向かってコリメート光もしくは集光した光として第1の光を出射する1枚または複数枚のレンズであり、
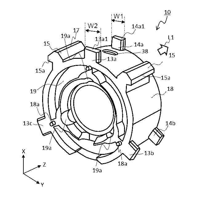
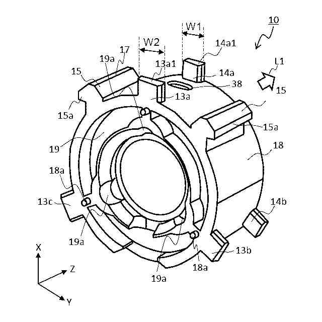
前記第1照明光学系は、筒形状の第1保持部材の内週側に前記第1レンズが保持されており、
前記第1保持部材は、外周側に周方向に突出する複数の突条部と、前記固定枠と接着する接着固定部が一体に設けられており、
前記固定枠は、少なくとも前記第1の光源からの光の出光面位置を所定位置に固定する第1光源固定部と、前記第1保持部材の外周に対向する内壁を備えた第1照明光学系収容部と、前記出射レンズを固定する出射レンズ固定部とを備え、
前記内壁には、前記第1保持部材の前記複数の突条部が移動可能な大きさとした溝と、前記接着固定部に対向する領域に設けられた取り付け部とを有し、
前記複数の突条部は、前記第1保持部材の軸心方向において離間している一対の突起が、前記第1保持部材の周方向において離間して2対もしくは3対形成されており、
前記一対の突条部は、前記第1レンズの入光面より前記第1の光源側に位置する光源側突条部と、前記第1レンズの出光面より前記合波光学系側に位置する合波光学系側突条部からなり、前記第1保持部材の軸心から前記光源側突条部の先端までの距離が、前記軸心から前記合波光学系側突条部の先端までの距離よりも長く、且つ、前記光源側突条部の先端の幅が前記合波光学系側突条部の先端の幅よりも大きく、
前記内壁の溝は、前記軸心と当該溝を結ぶ仮想直線に対して略直交する溝底面と、前記溝底面の両側に位置する溝側面を有する凹部溝であり、
前記溝底面は、前記軸心に対して平行面からなるストレート領域と、前記軸心に対して傾斜するとともに前記第1光源固定部側に向かって拡開する傾斜面からなるテーパー領域とを備え、
前記ストレート領域は、前記軸心から当該ストレート領域までの長さが、前記軸心から前記光源側突条部までの距離よりも短い第1ストレート領域と、前記第1ストレート領域よりも前記軸心からの距離が長い第2ストレート領域を有し、前記第1ストレート領域が前記第2ストレート領域よりも前記合波光学系側に位置している照射用光源。
続きを表示(約 530 文字)
【請求項2】
前記第1保持部材を前記第1照明光学系収容部内に収容した状態において、
前記光源側突条部の側面と前記第1ストレート領域に接続する前記溝側面までの距離が、
前記合波光学系側突条部の側面と前記第2ストレート領域に接続する前記溝側面までの距離よりも狭い請求項1に記載の照射用光源。
【請求項3】
前記第1照明光学系収容部には、前記接着固定部に対応する位置に前記固定枠の外周から前記記第1照明光学系収容部の内壁に到達する貫通孔からなる接着孔部が設けられており、
前記接着孔部から前記接着固定部に亘って接着剤にて接着固定されており、
当該接着固定された前記接着固定部には、接着面積を大きくする凸部が設けられている請求項2に記載の照射用光源。
【請求項4】
前記内壁の溝におけるストレート領域の割合は、前記内壁の溝に対して50%未満である請求項2または請求項3に記載の照射用光源。
【請求項5】
前記出射レンズは、外部側に第1の焦点を有する第1凸レンズ部と、外部側に前記第1の焦点と異なる位置に第2の焦点を有する第2凸レンズ部とが一体に形成されている請求項4に記載の照射用光源。
発明の詳細な説明
【技術分野】
【0001】
本発明は、物体に照射される光を発光する照射用光源、例えば、物体に対して複数の波長のレーザ光を走査して所定パターンを形成する描画装置や、物体に照射して反射光を検出することで物体の有無や物体までの距離を測定するLiDARなどに用いることができる照射用光源に関するもので、特に、レンズを所定位置に固定するレンズ固定構造を備えた照射用光源である。
続きを表示(約 2,600 文字)
【背景技術】
【0002】
赤外光等の非可視光を車両等の物体に照射して反射光を検出することで物体の有無や物体までの距離を測定するLiDAR(Light Detection And Ranging)が実用化されている。車両にLiDARを搭載するために小型化することが求められている。また、特許文献1のように照射用光源として2つ以上の半導体光源を用いるものも提案されている。
【0003】
また、車両の前方路面などにレーザ光などの可視光線を用いて路面描画するランプも提案されている。例えば、特許文献2では、複数個の光源を有し車両前方の路面に向かって照射する光源ユニットを用いている。
【先行技術文献】
【特許文献】
【0004】
特開2021-110739号公報
特許第7091346号公報
【発明の概要】
【発明が解決しようとする課題】
【0005】
上記特許文献1に記載されたLiDARにおいては、複数の光源を含み、前記複数の光源で生成された光を対象体に向けて照射する光送信部を記載している。光送信部は複数の互いに異なる波長帯域の光を生成照射することもできる光源部と、光源部からの光を対象体全体をスキャンさせるビームステアリング素子を含んでいる。しかしながら、光源部をビームステアリング装置に向けて所定位置に設置するためにどのように配置しているのかについては記載していない。
【0006】
上記特許文献2に記載された車両用照明システムにおいては、光源ユニットからの光を反射鏡に向かって照射し、反射鏡によって前方路面に向かって反射させて所定の描画パターンを形成している。光源ユニットは、支持プレートに固定されており、内部に複数の光源と複数のレンズを備えている。しかしながら、光源ユニット内において光源およびレンズが所定位置に設置されるようにするためにどのように配置しているのかについては記載していない。上記特許文献1および上記特許文献2には、特に、小型化を図りながらも比較的簡単な構成でレンズ位置を調整することが難しいという問題があった。
【0007】
本願発明は、このような事情に鑑みてなされたものであって、小型化を図りながらも比較的簡単な構成でレンズ位置を調整可能とすることができる照射用光源を提供することを目的とするものである。また、照射用光源のコストダウンを図ることを他の目的とする。
【課題を解決するための手段】
【0008】
本願発明は、出射レンズ素子を固定した固定枠と、光源側に設けた第1レンズを保持する第1保持部材を可動可能とする点に工夫を施すことにより、上記目的達成を図るようにしたものである。
【0009】
本発明に係る一態様は、[1] 第1の光源から出光した通過する第1レンズを有し第1の光を出光する第1照明光学系と、前記第1の光と異なる主波長の光を出光する少なくとも一つの他の照明光学系と、
前記第1の光と前記他の照明光学系とから出光した光を合波して出光する合波光学系と、
前記合波光学系からの出光した光が入光し外部に向かって出光する出射レンズを有する出射光学系と、
前記第1照明光学系と、前記他の照明光学系と、前記合波光学系と、前記出射光学系とを内部に固定する固定枠と、を備えた、照射用光源であって、
前記第1レンズは、前記第1の光源からの光が入光する入光面と、当該入光面と反対側に位置する出光面を備え、前記第1の光源からの光を前記合波光学系に向かってコリメート光もしくは集光した光として第1の光を出射する1枚または複数枚のレンズであり、
前記第1照明光学系は、筒形状の第1保持部材の内週側に前記第1レンズが保持されており、
前記第1保持部材は、外周側に周方向に突出する複数の突条部と、前記固定枠と接着する接着固定部が一体に設けられており、
前記固定枠は、少なくとも前記第1の光源からの光の出光面位置を所定位置に固定する第1光源固定部と、前記第1保持部材の外周に対向する内壁を備えた第1照明光学系収容部と、前記出射レンズを固定する出射レンズ固定部とを備え、
前記内壁には、前記第1保持部材の前記複数の突条部が移動可能な大きさとした溝と、前記接着固定部に対向する領域に設けられた取り付け部とを有し、
前記複数の突条部は、前記第1保持部材の軸心方向において離間している一対の突起が、前記第1保持部材の周方向において離間して2対もしくは3対形成されており、
前記一対の突条部は、前記第1レンズの入光面より前記第1の光源側に位置する光源側突条部と、前記第1レンズの出光面より前記合波光学系側に位置する合波光学系側突条部からなり、前記第1保持部材の軸心から前記光源側突条部の先端までの距離が、前記軸心から前記合波光学系側突条部の先端までの距離よりも長く、且つ、前記光源側突条部の先端の幅が前記合波光学系側突条部の先端の幅よりも大きく、
前記内壁の溝は、前記軸心と当該溝を結ぶ仮想直線に対して略直交する溝底面と、前記溝底面の両側に位置する溝側面を有する凹部溝であり、
前記溝底面は、前記軸心に対して平行面からなるストレート領域と、前記軸心に対して傾斜するとともに前記第1光源固定部側に向かって拡開する傾斜面からなるテーパー領域とを備え、
前記ストレート領域は、前記軸心から当該ストレート領域までの長さが、前記軸心から前記光源側突条部までの距離よりも短い第1ストレート領域と、前記第1ストレート領域よりも前記軸心からの距離が長い第2ストレート領域を有し、前記第1ストレート領域が前記第2ストレート領域よりも前記合波光学系側に位置している照射用光源である。
【0010】
上記発明によれば、出射光学系を備えた固定枠に対し、比較的簡単な構成で第1照明光学系の位置を調整することができる照射用光源を提供することができる。また、高い精度が必要な箇所を少なくすることができ、総じてコストダウンを図ることができる。
(【0011】以降は省略されています)
この特許をJ-PlatPat(特許庁公式サイト)で参照する
関連特許
個人
室外機器
3か月前
個人
照明システム
3か月前
個人
LED光源基盤
7か月前
個人
気泡を用いた遊具。
5か月前
個人
車載機器の通気構造
1か月前
株式会社遠藤照明
照明器具
4か月前
株式会社遠藤照明
照明装置
21日前
株式会社小糸製作所
車両用灯具
3日前
デンカ株式会社
照明装置
3か月前
株式会社小糸製作所
車両用灯具
3日前
個人
LEDライト
3か月前
能美防災株式会社
表示灯
1か月前
デンカ株式会社
道路用照明
3か月前
株式会社小糸製作所
投光装置
1か月前
株式会社小糸製作所
誘導装置
14日前
アクア株式会社
冷蔵庫
2か月前
スタンレー電気株式会社
照射用光源
7日前
瀧住電機工業株式会社
ダクトレール
7か月前
フルトラム株式会社
光学機器
2日前
株式会社小糸製作所
投光装置
1か月前
株式会社小糸製作所
車両用灯具
6か月前
株式会社小糸製作所
描画用灯具
6か月前
株式会社小糸製作所
表示用灯具
7日前
株式会社小糸製作所
車両用灯具
4か月前
株式会社オカムラ
間仕切り装置
7か月前
株式会社小糸製作所
車両用灯具
3か月前
株式会社小糸製作所
車両用灯具
3か月前
常盤電業株式会社
表示機
7か月前
株式会社小糸製作所
車両用灯具
3か月前
株式会社小糸製作所
車両用灯具
7か月前
株式会社小糸製作所
車両用灯具
3か月前
株式会社小糸製作所
車両用灯具
3か月前
株式会社小糸製作所
車両用灯具
6か月前
株式会社小糸製作所
車両用灯具
4か月前
株式会社小糸製作所
表示用灯具
7日前
株式会社小糸製作所
車両用灯具
6か月前
続きを見る
他の特許を見る