TOP
|
特許
|
意匠
|
商標
特許ウォッチ
Twitter
他の特許を見る
10個以上の画像は省略されています。
公開番号
2025066424
公報種別
公開特許公報(A)
公開日
2025-04-23
出願番号
2023176024
出願日
2023-10-11
発明の名称
電子線照射装置
出願人
浜松ホトニクス株式会社
代理人
個人
,
個人
,
個人
主分類
G21K
5/00 20060101AFI20250416BHJP(核物理;核工学)
要約
【課題】電子線源の窓部のメンテナンス性の確保と電子線の照射時におけるX線の遮蔽性の確保との両立を図ることができる電子線照射装置を提供する。
【解決手段】電子線照射装置1は、電子線照射ユニット10と、対象物支持ユニット50と、を備える。電子線照射ユニット10は、電子線源11と、第1開口12cが形成された第1壁部12と、を有する。第1開口12cは、電子線源11の窓部4を収容している。対象物支持ユニット50は、支持部51と、第2開口52cが形成された第2壁部52と、を有する。第1壁部12の表面12bには、第1開口12cを含む凸部61が設けられている。第2壁部52の表面52aには、第2開口52cを含む凹部62が設けられている。第1壁部12及び第2壁部52が互いに接触した状態において、表面12b及び表面52aは、互いに接触しており、凹部62及び凸部61は、互いに嵌まり合っている。
【選択図】図1
特許請求の範囲
【請求項1】
電子線照射ユニットと、対象物支持ユニットと、を備え、
前記電子線照射ユニットは、
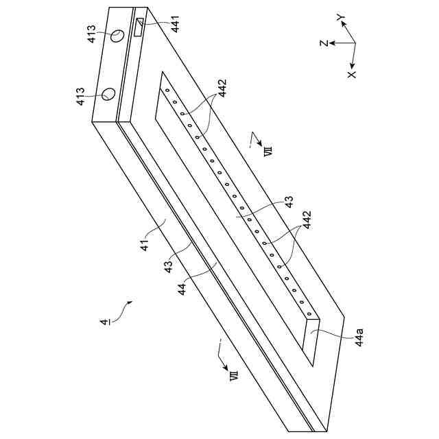
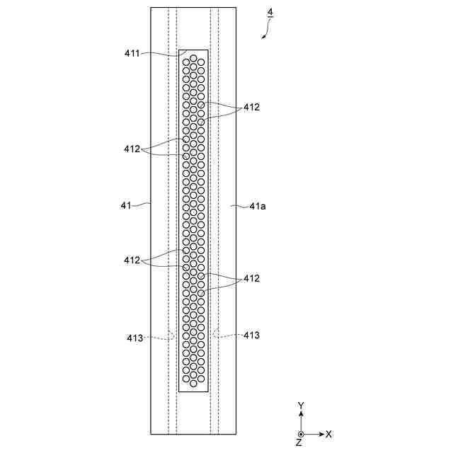
電子線を発生する電子線発生部、前記電子線発生部を収容している筐体、及び、前記筐体に設けられており、前記電子線を出射する窓部を有する電子線源と、
前記電子線源に対して前記対象物支持ユニット側に配置されており、前記窓部の少なくとも一部を収容している第1開口が形成された第1壁部と、を有し、
前記対象物支持ユニットは、
対象物を支持する支持部と、
前記支持部に対して前記電子線照射ユニット側に配置されており、前記第1開口と向かい合っている第2開口が形成された第2壁部と、を有し、
前記第1壁部における前記対象物支持ユニット側の第1表面には、前記第1開口を含む凹部及び凸部の一方が設けられており、
前記第2壁部における前記電子線照射ユニット側の第2表面には、前記第2開口を含む前記凹部及び前記凸部の他方が設けられており、
前記第1壁部及び前記第2壁部は、互いに離間可能であり、
前記第1壁部及び前記第2壁部が互いに接触した状態において、前記第1表面及び前記第2表面は、互いに接触しており、前記凹部及び前記凸部は、互いに嵌まり合っている、電子線照射装置。
続きを表示(約 350 文字)
【請求項2】
前記第1表面には、前記第1開口を含む前記凸部が設けられており、
前記第2表面には、前記第2開口を含む前記凹部が設けられている、請求項1に記載の電子線照射装置。
【請求項3】
前記電子線照射ユニットは、前記第1壁部に対して着脱可能であるカバーを更に有し、
前記カバーは、前記第1開口における前記対象物支持ユニット側の端部に配置されており、前記窓部の側面と前記第1開口の側面との間に形成された隙間を覆っている、請求項2に記載の電子線照射装置。
【請求項4】
前記凸部の頂面、前記窓部における前記対象物支持ユニット側の表面、及び前記カバーにおける前記対象物支持ユニット側の表面は、同一平面上に位置している、請求項3に記載の電子線照射装置。
発明の詳細な説明
【技術分野】
【0001】
本発明は、電子線照射装置に関する。
続きを表示(約 2,600 文字)
【背景技術】
【0002】
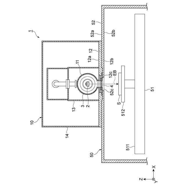
電子線照射装置は、対象物に電子線を照射する装置であり、対象物におけるインクの乾燥、対象物の滅菌、対象物の改質等の用途に利用される。特許文献1には、ウェブ(フィルム状の対象物)を送るローラと、電子線を出射する窓部を有する電子線源と、を備える電子線照射装置であって、電子線源の窓部と向かい合っているローラが、その状態から更に離間可能に構成されたものが記載されている。
【先行技術文献】
【特許文献】
【0003】
国際公開第2010/104820号
【発明の概要】
【発明が解決しようとする課題】
【0004】
特許文献1に記載の電子線照射装置においては、電子線源の窓部のメンテナンス(例えば、窓部の交換)を実施する際に、ローラを窓部から離間させることで、窓部のメンテナンスに必要なスペースを確保することができる。しかし、特許文献1に記載の電子線照射装置においては、電子線の照射領域に開放領域が多いため、電子線の照射時に二次的に発生するX線を十分に遮蔽することが困難である。なお、このようなX線は、電子線源の窓部を構成する各部材、窓部の外側に存在するガス、対象物等と電子線が相互作用することによって発生する。
【0005】
本発明は、電子線源の窓部のメンテナンス性の確保と電子線の照射時におけるX線の遮蔽性の確保との両立を図ることができる電子線照射装置を提供することを目的とする。
【課題を解決するための手段】
【0006】
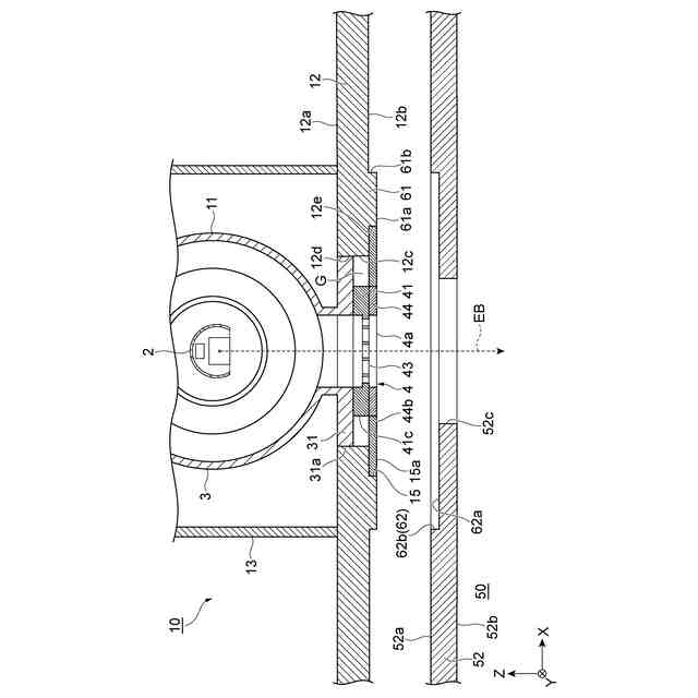
本発明の電子線照射装置は、[1]「電子線照射ユニットと、対象物支持ユニットと、を備え、前記電子線照射ユニットは、電子線を発生する電子線発生部、前記電子線発生部を収容している筐体、及び、前記筐体に設けられており、前記電子線を出射する窓部を有する電子線源と、前記電子線源に対して前記対象物支持ユニット側に配置されており、前記窓部の少なくとも一部を収容している第1開口が形成された第1壁部と、を有し、前記対象物支持ユニットは、対象物を支持する支持部と、前記支持部に対して前記電子線照射ユニット側に配置されており、前記第1開口と向かい合っている第2開口が形成された第2壁部と、を有し、前記第1壁部における前記対象物支持ユニット側の第1表面には、前記第1開口を含む凹部及び凸部の一方が設けられており、前記第2壁部における前記電子線照射ユニット側の第2表面には、前記第2開口を含む前記凹部及び前記凸部の他方が設けられており、前記第1壁部及び前記第2壁部は、互いに離間可能であり、前記第1壁部及び前記第2壁部が互いに接触した状態において、前記第1表面及び前記第2表面は、互いに接触しており、前記凹部及び前記凸部は、互いに嵌まり合っている、電子線照射装置」である。
【0007】
上記[1]に記載の電子線照射装置では、電子線照射ユニットにおいて第1壁部の第1開口が電子線源の窓部の少なくとも一部を収容しており、電子線照射ユニットの第1壁部及び対象物支持ユニットの第2壁部が互いに離間可能となっている。そのため、電子線源の窓部のメンテナンスを実施する際に、第1壁部及び第2壁部を互いに離間させることで、窓部のメンテナンスに必要なスペースを確保することができる。また、第1壁部及び第2壁部が互いに接触した状態において、第1壁部の第1表面及び第2壁部の第2表面が互いに接触しており、第1壁部と第2壁部との間において凹部及び凸部が互いに嵌まり合っている。これにより、第1壁部と第2壁部との間の領域が屈曲することになるため、第1壁部と第2壁部との間の領域が平坦に広がっている構成に比べ、電子線の照射時に二次的に発生するX線を確実に遮蔽することができる。よって、上記[1]に記載の電子線照射装置によれば、電子線源の窓部のメンテナンス性の確保と電子線の照射時におけるX線の遮蔽性の確保との両立を図ることができる。
【0008】
本発明の電子線照射装置は、[2]「前記第1表面には、前記第1開口を含む前記凸部が設けられており、前記第2表面には、前記第2開口を含む前記凹部が設けられている、上記[1]に記載の電子線照射装置」であってもよい。当該[2]に記載の電子線照射装置によれば、第1壁部のうち第1開口を包囲する部分を厚くすることができるため、第1壁部の第1表面に凹部が設けられており且つ第2壁部の第2表面に凸部が設けられている構成に比べ、電子線の照射時に二次的に発生するX線を確実に遮蔽することができる。また、電子線源の窓部の少なくとも一部を収容している第1開口が凸部に形成されているため、対象物支持ユニットの支持部に窓部をより近づけて対象物に電子線を効率良く照射することができる。更に、電子線源の窓部の少なくとも一部を収容している第1開口が凸部に形成されているため、第1開口が凹部に形成されている構成に比べ、窓部のメンテナンス時に窓部に容易にアクセスすることができる。
【0009】
本発明の電子線照射装置は、[3]「前記電子線照射ユニットは、前記第1壁部に対して着脱可能であるカバーを更に有し、前記カバーは、前記第1開口における前記対象物支持ユニット側の端部に配置されており、前記窓部の側面と前記第1開口の側面との間に形成された隙間を覆っている、上記[2]に記載の電子線照射装置」であってもよい。当該[3]に記載の電子線照射装置によれば、メンテナンス時に第1壁部からカバーを取り外すことで、当該隙間を利用して、窓部の交換等をより容易に実施することができる。なお、電子線の照射時には、当該隙間がカバーによって覆われているため、当該隙間を介したX線の漏洩を抑制することができる。
【0010】
本発明の電子線照射装置は、[4]「前記凸部の頂面、前記窓部における前記対象物支持ユニット側の表面、及び前記カバーにおける前記対象物支持ユニット側の表面は、同一平面上に位置している、上記[3]に記載の電子線照射装置」であってもよい。当該[6]に記載の電子線照射装置によれば、凹部の底面と凸部の頂面とを近接させることが容易となるため、電子線の照射時におけるX線の遮蔽性を向上させることができる。
【発明の効果】
(【0011】以降は省略されています)
この特許をJ-PlatPat(特許庁公式サイト)で参照する
関連特許
個人
廃炉方法及び固化材
6日前
個人
元素変換用固体核融合工程
3か月前
個人
安山岩を利用した放射線消去装置
4か月前
個人
安山岩を利用した放射線消去装置
3か月前
個人
はんれい岩を利用した放射線消去装置
3か月前
合同会社日本レプトン
電子発生ペースト
10日前
個人
核変換システム、加工装置、除去装置、切除装置
4か月前
PDRファーマ株式会社
遮蔽容器
4か月前
栗田工業株式会社
放射性廃液の処理方法
6日前
住友重機械工業株式会社
搬送システム
2か月前
国立大学法人大阪大学
原子力発電装置
4か月前
合同会社日本レプトン
電子発生器具及びその製造方法
10日前
合同会社日本レプトン
電子発生器具及びその製造方法
10日前
個人
共振励起型固体核融合装置と元素変換用固体核融合工程
3か月前
三菱重工業株式会社
加圧容器
1か月前
個人
過剰熱起電力発生方法
4か月前
株式会社イトーキ
放射線遮蔽扉
2か月前
株式会社大林組
埋め戻し材、埋め戻し材の製造方法
2か月前
三菱重工業株式会社
容器解体装置
6日前
株式会社エム・ディ・インスツルメンツ
X線管の焦点寸法測定方法
2か月前
アンカーハウジング株式会社
核シェルター
3か月前
株式会社安藤・間
レーザー除染装置による除染方法
4か月前
個人
ブランケット・炉心2領域増殖原子炉及びプルトニウム金属生産炉
2か月前
三菱重工業株式会社
プラントの電力設備
3か月前
株式会社リガク
生体試料の観察方法
2か月前
個人
プラズマ発生装置およびプラズマ発生方法
2か月前
三菱重工業株式会社
炉内構造物の解体方法
6日前
関電プラント株式会社
解体評価システム及び解体評価方法
4か月前
株式会社特殊金属エクセル
窓箔自動交換装置
1か月前
パテントフレア株式会社
磁力(磁気エネルギー)の特性を利用した放射線制御法
2日前
株式会社竹中工務店
放射線遮蔽パネルの接合構造
3か月前
住友化学株式会社
原子力電池
3か月前
住友重機械工業株式会社
搬送装置、照射システム、及び照射方法
2か月前
三菱重工業株式会社
アイスコンデンサの氷除去方法
4か月前
三菱重工業株式会社
アイスコンデンサの氷除去方法
4か月前
清水建設株式会社
放射線遮蔽構造およびその施工方法
2か月前
続きを見る
他の特許を見る