TOP
|
特許
|
意匠
|
商標
特許ウォッチ
Twitter
他の特許を見る
10個以上の画像は省略されています。
公開番号
2025070434
公報種別
公開特許公報(A)
公開日
2025-05-02
出願番号
2023180738
出願日
2023-10-20
発明の名称
X線検査装置
出願人
株式会社エー・アンド・デイ
代理人
個人
主分類
G21K
5/00 20060101AFI20250424BHJP(核物理;核工学)
要約
【課題】装置が大型化し扉の重量が増大しても、扉の開閉制御が容易なX線検査装置を提供する。
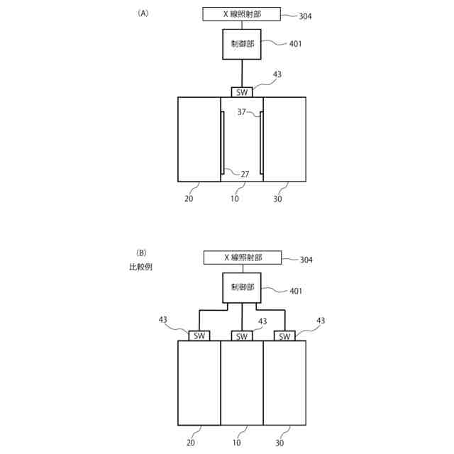
【解決手段】X線検査装置(1)は、検査室(6)を備える装置本体(3)と、ベルトコンベヤ(2)と、前記検査室を開閉する開閉扉(9)と、を備え、前記開閉扉は、搬送方向(A)に並ぶ1つの主扉(10)と1以上の副扉(20,30)を備え、前記副扉の前記主扉側にある端部で前記検査室側にある端面(231,331)は、前記主扉側に延びる干渉部(27,37)を備え、前記主扉に電磁ロック機構(43)を備える。これにより、各扉に重量が分散するとともに、安全スイッチ(電磁ロック機構43)は主扉10に一つ備えればよいため安全対策が煩雑化することがない。
【選択図】図3
特許請求の範囲
【請求項1】
検査室を備える装置本体と、
前記検査室を通過し検査対象物を搬送方向に搬送するベルトコンベヤと、
前記搬送方向と直交する方向側に設けられた、前記検査室を開閉する開閉扉と、を備えたX線検査装置であって、
前記開閉扉は、
前記搬送方向に並ぶ1つの主扉と1以上の副扉を備え、
前記副扉の前記主扉側にある端部で前記検査室側にある端面は、前記主扉側に延びる干渉部を備え、
前記主扉に電磁ロック機構を備える
ことを特徴とするX線検査装置。
続きを表示(約 410 文字)
【請求項2】
前記干渉部は、前記副扉を構成する板の曲げ加工で形成されることを特徴とする請求項1に記載のX線検査装置。
【請求項3】
前記主扉および副扉はそれぞれ下部を軸にして回動可能に固定されており、前記副扉は前記主扉よりも回動角度が小さいことを特徴とする請求項1に記載のX線検査装置。
【請求項4】
前記干渉部は、上下方向に、前記副扉が前記検査室に接する領域に対応する長さで形成されることを特徴とする請求項1に記載のX線検査装置。
【請求項5】
前記開閉扉は、1つの前記主扉と、前記主扉の両側に2つの前記副扉を備えることを特徴とする請求項1に記載のX線検査装置。
【請求項6】
前記副扉の前記搬送方向における扉幅は、前記検査室内に設置された遮蔽カーテンの前記搬送方向における設置幅よりもやや大きく形成されることを特徴とする請求項5に記載のX線検査装置。
発明の詳細な説明
【技術分野】
【0001】
本発明は、X線検査装置に関する。
続きを表示(約 1,100 文字)
【背景技術】
【0002】
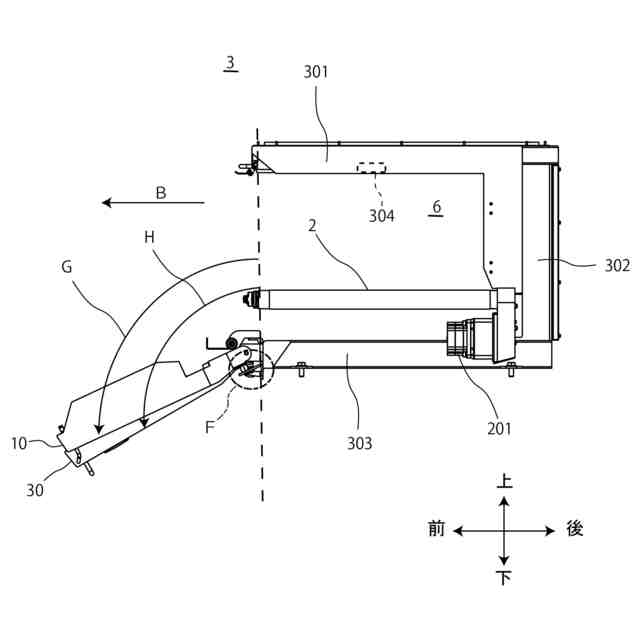
X線検査装置は、検査対象物に対してX線を照射し、検査対象物を透過したX線の検出結果(X線透過画像)に基づいて、異物等を検査する。X線を照射する検査室を構成する装置本体はトンネル形状を備えており、検査対象物はベルトコンベヤによって検査室に運ばれる。装置本体の前面は開閉扉を備えており、開閉扉を開けて検査室を開放し、検査室内のベルトコンベヤのメンテナンス(清掃やベルト交換等)が行えるようになっている(例えば特許文献1を参照)。
【先行技術文献】
【特許文献】
【0003】
特許第7131798号
【発明の概要】
【発明が解決しようとする課題】
【0004】
しかしながら、装置が大型になると、開閉扉のサイズアップが必要になり、加えて、X線の出力上昇に対応するため扉構造の堅牢化も求められる。このため、開閉扉の重量が増大し、扉の開閉に危険性が増すという問題が生じる。
【0005】
本発明はこのような事情に鑑みてなされたものであり、装置が大型化し扉の重量が増大しても、扉の開閉制御が容易な構成を備えたX線検査装置を提供することを目的とする。
【課題を解決するための手段】
【0006】
上記課題を解決するために、本発明の第1の態様のX線検査装置は、検査室を備える装置本体と、前記検査室を通過し検査対象物を搬送方向に搬送するベルトコンベヤと、前記搬送方向と直交する方向側に設けられた、前記検査室を開閉する開閉扉と、を備えたX線検査装置であって、前記開閉扉は、前記搬送方向に並ぶ1つの主扉と1以上の副扉を備え、前記副扉の前記主扉側にある端部で前記検査室側にある端面は、前記主扉側に延びる干渉部を備え、前記主扉に電磁ロック機構を備えることを特徴とする。
【0007】
第2の態様のX線検査装置では、第1の態様において、前記干渉部は、前記副扉を構成する板の曲げ加工で形成されるのも好ましい。
【0008】
第3の態様のX線検査装置では、第1または2の態様において、前記主扉および副扉はそれぞれ下部を軸にして回動可能に固定されており、前記副扉は前記主扉よりも回動角度が小さいのも好ましい。
【0009】
第4の態様のX線検査装置では、第1~3のいずれかの態様において、前記干渉部は、上下方向に、前記副扉が前記検査室に接する領域に対応する長さで形成されるのも好ましい。
【0010】
第5の態様のX線検査装置では、第1~4のいずれかの態様において、前記開閉扉は、1つの前記主扉と、前記主扉の両側に2つの前記副扉を備えるのも好ましい。
(【0011】以降は省略されています)
この特許をJ-PlatPat(特許庁公式サイト)で参照する
関連特許
個人
廃炉方法及び固化材
10日前
個人
元素変換用固体核融合工程
3か月前
個人
安山岩を利用した放射線消去装置
3か月前
個人
安山岩を利用した放射線消去装置
4か月前
個人
はんれい岩を利用した放射線消去装置
3か月前
パテントフレア株式会社
核融合反応促進法
5か月前
合同会社日本レプトン
電子発生ペースト
14日前
株式会社エー・アンド・デイ
X線検査装置
5か月前
株式会社エー・アンド・デイ
X線検査装置
5か月前
個人
核変換システム、加工装置、除去装置、切除装置
5か月前
PDRファーマ株式会社
遮蔽容器
4か月前
栗田工業株式会社
放射性廃液の処理方法
10日前
住友重機械工業株式会社
搬送システム
3か月前
国立大学法人大阪大学
原子力発電装置
4か月前
合同会社日本レプトン
電子発生器具及びその製造方法
14日前
合同会社日本レプトン
電子発生器具及びその製造方法
14日前
個人
共振励起型固体核融合装置と元素変換用固体核融合工程
3か月前
個人
過剰熱起電力発生方法
4か月前
三菱重工業株式会社
加圧容器
1か月前
株式会社イトーキ
放射線遮蔽扉
3か月前
株式会社大林組
埋め戻し材、埋め戻し材の製造方法
2か月前
三菱重工業株式会社
容器解体装置
10日前
清水建設株式会社
放射線遮蔽構造
5か月前
株式会社エム・ディ・インスツルメンツ
X線管の焦点寸法測定方法
3か月前
アンカーハウジング株式会社
核シェルター
3か月前
株式会社安藤・間
レーザー除染装置による除染方法
4か月前
個人
ブランケット・炉心2領域増殖原子炉及びプルトニウム金属生産炉
2か月前
個人
プラズマ発生装置およびプラズマ発生方法
3か月前
株式会社リガク
生体試料の観察方法
3か月前
三菱重工業株式会社
プラントの電力設備
3か月前
三菱重工業株式会社
炉内構造物の解体方法
10日前
日立GEニュークリア・エナジー株式会社
ベントシステム
5か月前
関電プラント株式会社
解体評価システム及び解体評価方法
4か月前
パテントフレア株式会社
磁力(磁気エネルギー)の特性を利用した放射線制御法
6日前
株式会社特殊金属エクセル
窓箔自動交換装置
1か月前
株式会社竹中工務店
放射線遮蔽パネルの接合構造
3か月前
続きを見る
他の特許を見る