TOP
|
特許
|
意匠
|
商標
特許ウォッチ
Twitter
他の特許を見る
公開番号
2025065709
公報種別
公開特許公報(A)
公開日
2025-04-22
出願番号
2023175096
出願日
2023-10-10
発明の名称
搬送設備
出願人
株式会社ダイフク
代理人
弁理士法人R&C
主分類
B61B
13/00 20060101AFI20250415BHJP(鉄道)
要約
【課題】搬送車の車体の浮き上がりを適切に抑制できる搬送設備の実現が望まれる。
【解決手段】走行経路に沿って配置された走行レールと、搬送車と、走行レールとは別に走行経路に沿って配置され、搬送車を案内する案内レール9と、を備えた搬送設備であって、搬送車は、車体と、案内レール9に案内される被案内部と、車体に支持されて走行レールの上面を転動する走行輪と、車体に支持された浮上規制部30と、を備え、案内レール9は、走行経路が交差している区間及び走行経路が湾曲している区間の少なくともいずれかに配置され、走行経路が直線的に延在している区間には配置されておらず、浮上規制部30は、案内レール9が配置された区間では案内レール9の下側を向く面である案内レール下面91に対して下側から対向する位置に配置され、車体が浮き上がった場合に案内レール下面91に対して下側から接触するように構成されている。
【選択図】図6
特許請求の範囲
【請求項1】
走行経路に沿って配置された走行レールと、前記走行経路に沿って走行する搬送車と、前記走行レールとは別に前記走行経路に沿って配置され、前記搬送車を案内する案内レールと、を備えた搬送設備であって、
前記搬送車は、車体と、前記案内レールに案内される被案内部と、前記車体に支持されて前記走行レールの上面を転動する走行輪と、前記車体に支持された浮上規制部と、を備え、
前記案内レールは、前記走行経路が交差している区間及び前記走行経路が湾曲している区間の少なくともいずれかに配置され、前記走行経路が直線的に延在している区間には配置されておらず、
前記浮上規制部は、前記案内レールが配置された区間では前記案内レールの下側を向く面である案内レール下面に対して下側から対向する位置に配置され、前記車体が浮き上がった場合に前記案内レール下面に対して下側から接触するように構成されている、搬送設備。
続きを表示(約 960 文字)
【請求項2】
前記浮上規制部は、前記案内レール下面に対して隙間を空けて対向しており、
前記隙間は、前記案内レール下面と、前記車体に取り付けられて前記案内レール下面に対向する位置に配置された部材との間の最も狭い間隔未満に設定されている、請求項1に記載の搬送設備。
【請求項3】
前記走行経路に沿う方向を走行方向とし、上下方向視で前記走行方向に直交する方向を幅方向として、
前記浮上規制部は、少なくとも前記幅方向に沿う軸心回りに回転自在となるように支持された回転体である、請求項1に記載の搬送設備。
【請求項4】
前記走行経路に沿う方向を走行方向とし、上下方向視で前記走行方向に直交する方向を幅方向として、
前記走行レールは、前記幅方向に互いに離間して配置された第1レール部と第2レール部とを備え、
前記案内レールは、前記幅方向における、前記第1レール部が配置された位置と前記第2レール部が配置された位置との間に配置され、
前記搬送車は、前記走行輪として、前記第1レール部の上面を転動する第1輪と、前記第2レール部の上面を転動する第2輪と、を備え、
前記浮上規制部は、前記幅方向における、前記第1輪が配置された位置と前記第2輪が配置された位置との間に配置されている、請求項1から3のいずれか一項に記載の搬送設備。
【請求項5】
前記車体は、連結体と、前記連結体に対して上下方向に沿う第1軸心回りに回転自在に支持された第1支持体と、前記第1支持体に対して前記走行方向に離間して配置されていると共に前記連結体に対して上下方向に沿う第2軸心回りに回転自在に支持された第2支持体と、を備え、
前記搬送車は、前記走行輪として、前記第1輪及び前記第2輪に加えて、前記第1レール部の上面を転動する第3輪と、前記第2レール部の上面を転動する第4輪と、を備えると共に、前記浮上規制部としての第1浮上規制部に加えて第2浮上規制部を備え、
前記第1輪、前記第2輪、及び、前記第1浮上規制部が前記第1支持体に支持され、
前記第3輪、前記第4輪、及び、前記第2浮上規制部が前記第2支持体に支持されている、請求項4に記載の搬送設備。
発明の詳細な説明
【技術分野】
【0001】
本発明は、走行経路に沿って配置された走行レールと、前記走行経路に沿って走行する搬送車と、前記走行レールとは別に前記走行経路に沿って配置され、前記搬送車を案内する案内レールと、を備えた搬送設備に関する。
続きを表示(約 1,900 文字)
【背景技術】
【0002】
例えば、特開2019-080411号公報(特許文献1)には、搬送設備に関する技術が開示されている。以下、背景技術の説明において括弧内に示す符号は特許文献1のものである。
【0003】
特許文献1の搬送設備は、走行経路(1)に沿って配置された走行レール(2)と、走行経路(1)に沿って走行する搬送車(物品搬送車3)と、搬送車を案内する案内レール(21)とを備えている。搬送車は、車体(走行部9)と、案内レール(21)に案内される被案内部(19)と、車体に支持されて走行レール(2)上を転動する走行輪(15)とを備えている。案内レール(21)は、走行経路(1)が分岐する分岐部(7)等に設けられている。搬送車は、被案内部(19)が案内レール(21)に案内されながら、例えば、分岐部(7)を直進方向又は分岐方向に走行するように構成されている。
【先行技術文献】
【特許文献】
【0004】
特開2019-080411号公報
【発明の概要】
【発明が解決しようとする課題】
【0005】
上記のような搬送設備では、一般的に、走行経路が交差する区間や走行経路が湾曲する区間では、走行経路が直線状の区間に比べて走行レールや案内レールの形状が複雑化し易い。そのため、レールの設置位置の誤差や車体に対する走行輪及び被案内部の取付位置の誤差等の影響により、車体の浮き上がりが生じ易い。それにより、走行輪や、当該走行輪を支持する車体に大きな負荷が作用することになり、走行輪や車体等、搬送車の各部の損傷や劣化の要因となり易かった。
【0006】
そこで搬送車の車体の浮き上がりを適切に抑制できる搬送設備の実現が望まれる。
【課題を解決するための手段】
【0007】
本開示に係る搬送設備は、走行経路に沿って配置された走行レールと、前記走行経路に沿って走行する搬送車と、前記走行レールとは別に前記走行経路に沿って配置され、前記搬送車を案内する案内レールと、を備えた搬送設備であって、
前記搬送車は、車体と、前記案内レールに案内される被案内部と、前記車体に支持されて前記走行レールの上面を転動する走行輪と、前記車体に支持された浮上規制部と、を備え、
前記案内レールは、前記走行経路が交差している区間及び前記走行経路が湾曲している区間の少なくともいずれかに配置され、前記走行経路が直線的に延在している区間には配置されておらず、
前記浮上規制部は、前記案内レールが配置された区間では前記案内レールの下側を向く面である案内レール下面に対して下側から対向する位置に配置され、前記車体が浮き上がった場合に前記案内レール下面に対して下側から接触するように構成されている。
【0008】
本構成によれば、走行経路における案内レールが配置された区間では、車体が浮き上がろうとした場合に浮上規制部が案内レール下面に対して下側から接することで車体の浮き上がりを規制することができる。従って車体の浮き上がりに起因する搬送車の各部の損傷や劣化を少なく抑えることができる。
また本構成によれば、案内レールは、走行経路が交差している区間及び走行経路が湾曲している区間の少なくともいずれかに配置されているため、車体の浮き上がりが生じる可能性が高い区間において、搬送車の車体の浮き上がりを適切に抑制することができる。
更に本構成によれば、案内レールは、走行経路が直線的に延在している区間に配置されていない。このため、搬送車が当該区間を走行している間は、浮上規制部は案内レール下面に接触することがない。従って、車体の浮き上がりが生じる可能性の低い当該区間では、搬送車の走行抵抗を低減することができる。
【0009】
搬送設備のさらなる特徴と利点は、図面を参照して説明する例示的且つ非限定的な実施形態についての以下の記載から明確となる。
【図面の簡単な説明】
【0010】
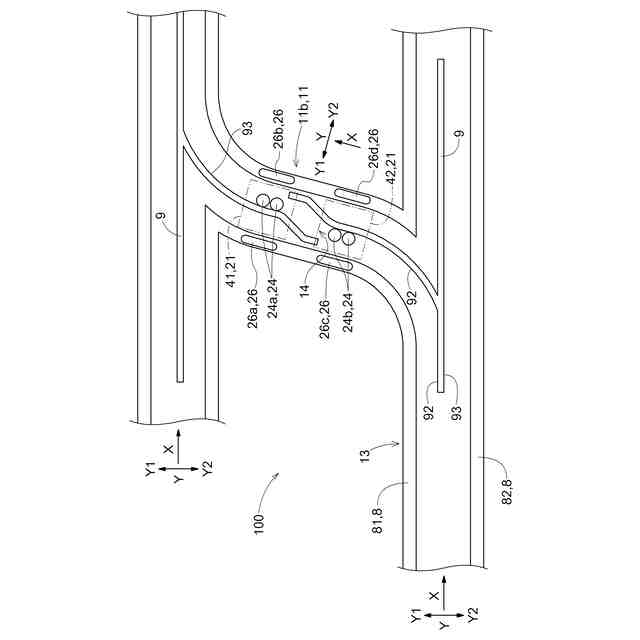
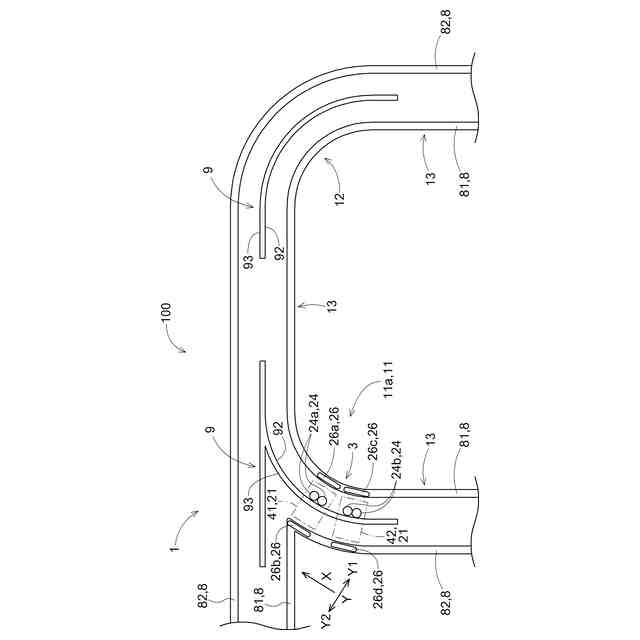
搬送設備の走行経路全体を模式的に示す平面図
走行経路における交差区間、直線区間、及び湾曲区間を示す平面図
走行経路における交差区間を示す平面図
搬送車及び走行レールの斜視図
搬送車の正面図
浮上規制部を示す要部拡大図
【発明を実施するための形態】
(【0011】以降は省略されています)
この特許をJ-PlatPat(特許庁公式サイト)で参照する
関連特許
株式会社ダイフク
搬送車
14日前
株式会社ダイフク
洗車機
5日前
株式会社ダイフク
作業設備
14日前
株式会社ダイフク
作業設備
14日前
株式会社ダイフク
作業設備
14日前
株式会社ダイフク
作業設備
14日前
株式会社ダイフク
作業設備
14日前
株式会社ダイフク
作業設備
14日前
株式会社ダイフク
搬送システム
18日前
株式会社ダイフク
物品搬送設備
24日前
株式会社ダイフク
自動倉庫システム
14日前
台湾大福高科技設備股分有限公司
物体搬送システム
14日前
台湾大福高科技設備股分有限公司
物体搬送システム
18日前
株式会社ダイフク
物品仕分け設備
13日前
日本信号株式会社
ホーム柵
1か月前
日本信号株式会社
ホーム柵
1か月前
日本信号株式会社
検査装置
9か月前
個人
車両及び走行システム
5か月前
近畿車輌株式会社
耐火床構造
14日前
日本車輌製造株式会社
鉄道車両
6日前
日本信号株式会社
ホーム柵装置
6か月前
日本車輌製造株式会社
台車組立装置
4か月前
日本信号株式会社
列車接近警報装置
2か月前
近畿車輌株式会社
鉄道車両の床構造
10か月前
近畿車輌株式会社
鉄道車両の床構造
10か月前
近畿車輌株式会社
鉄道車両の床構造
10か月前
ナブテスコ株式会社
ホームドア装置
2か月前
川崎車両株式会社
鉄道車両用パネル
8か月前
カヤバ株式会社
鉄道車両用制振装置
9か月前
保線機器整備株式会社
保線用カート
8か月前
日本信号株式会社
ホームドア制御装置
3か月前
日本信号株式会社
物体検知装置
6か月前
日本ケーブル株式会社
索道の支索引留め装置
2か月前
日本信号株式会社
ホーム安全システム
6か月前
株式会社東芝
台車搬送装置
10日前
株式会社ダイフク
搬送車
4か月前
続きを見る
他の特許を見る