TOP
|
特許
|
意匠
|
商標
特許ウォッチ
Twitter
他の特許を見る
10個以上の画像は省略されています。
公開番号
2024179754
公報種別
公開特許公報(A)
公開日
2024-12-26
出願番号
2023098871
出願日
2023-06-16
発明の名称
検査装置
出願人
日本信号株式会社
代理人
個人
主分類
B61K
9/12 20060101AFI20241219BHJP(鉄道)
要約
【課題】床下部品の下側に露出する箇所の状態を正確に把握可能にする検査装置を提供すること。
【解決手段】検査装置100は、床下部品UFの下方に配置され鉄道車両CAの床下部品UFを照明する照明装置16と、床下部品UFを撮像して画像データを得る撮像装置11と、床下部品UFの下方であって照明装置16の近傍に配置されて、床下部品UFからの映像光DLを撮像装置11に向けて反射するミラー17と、を備える。
【選択図】 図2
特許請求の範囲
【請求項1】
床下部品の下方に配置され車両の前記床下部品を照明する照明装置と、
前記床下部品を撮像して画像データを得る撮像装置と、
前記床下部品の下方であって前記照明装置の近傍に配置されて、前記床下部品からの映像光を前記撮像装置に向けて反射するミラーと、
を備える検査装置。
続きを表示(約 590 文字)
【請求項2】
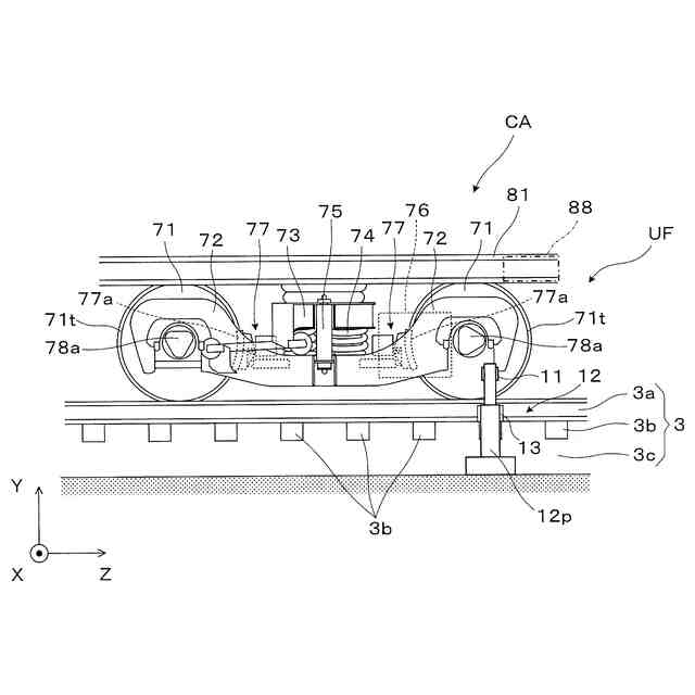
前記床下部品は、鉄道車両の台車の構成部品を含み、
前記照明装置と前記ミラーとは、レールの枕木の近傍に配置される、請求項1に記載の検査装置。
【請求項3】
前記床下部品は、前記台車の車輪に付随する制輪子、軸受部、及びダンパの少なくとも1つを含み、
前記撮像装置は、車両番号を撮影する、請求項2に記載の検査装置。
【請求項4】
前記撮像装置は、前記車両の側面に対向する状態で前記床下部品を撮影する、請求項1に記載の検査装置。
【請求項5】
前記照明装置と前記ミラーとは、一体化された部材である、請求項1に記載の検査装置。
【請求項6】
車両の進入を検出する検知装置と、
前記検知装置によって車両の進入が検出された場合に前記照明装置と前記撮像装置とを動作させることによって得た前記画像データについて、前記床下部品の異常の有無の判定処理を行う情報処理装置を有する管理装置と、
をさらに備える、請求項1に記載の検査装置。
【請求項7】
前記管理装置は、
前記撮像装置の近傍に設けられ前記画像データを保持するデータ記憶部と、
前記画像データを遠隔の前記情報処理装置に送信する送信装置とを有する
端末装置を含む、請求項6に記載の検査装置。
発明の詳細な説明
【技術分野】
【0001】
本発明は、鉄道を走行する車両について、床下部品の状態を検査する検査装置に関する。
続きを表示(約 1,400 文字)
【背景技術】
【0002】
鉄道車両の車輪を計測する検査装置として、撮影箇所の斜め前方に配置された凹面鏡と、凹面鏡の後方に配置されたカメラと、凹面鏡よりも近くの斜め前方から車輪を照明するライトとを備え、車輪検知センサによって撮影開始及び撮影終了のタイミングを決定するものが公知となっている(特許文献1)。
【0003】
鉄道車両のブレーキディスクを撮影し検査する装置として、車輪に付随するディスク面に対して斜め下前方及び斜め下後方に配置された照明光源によってディスク面下部を照明しつつ、ディスク面の斜め下側に配置されたカメラからブレーキディスク下部を撮影するものが公知となっている(特許文献2)。
【0004】
鉄道車両の制輪子を撮影し検査する装置として、車輪がフォトセンサの位置を通過したシャッタータイミングで、ストロボ発光装置を発光させ、テレビカメラによって車輪の側面方向から制輪子を撮影するものが公知となっている(特許文献3)。
【0005】
しかしながら、特許文献1の監視装置の場合、車輪の側面を斜め前方から撮影するが、制輪子等を含む床下部品を下方から撮影することができず、床下部品の下側に露出する箇所の状態を正確に把握できない可能性がある。また、特許文献2の手法では、ディスク面を斜め下方から撮影するが、床下部品の下側に露出する箇所の状態を正確に把握することができない可能性があり、建築限界の観点で照明光源等の配置が制限される。特許文献3の手法では、床下部品を下方から撮影することができず、床下部品の下側に露出する箇所の状態を把握することができない。
【先行技術文献】
【特許文献】
【0006】
特開2006-290312号公報
特開2011-1801072号公報
国際公開第1993/05358号
【発明の概要】
【0007】
本発明は、上記した点に鑑みてなされたものであり、床下部品の下側に露出する箇所の状態を正確に把握可能にする検査装置を提供することを目的とする。
【0008】
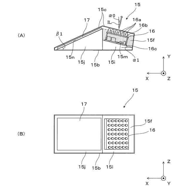
上記目的を達成するため、本発明に係る検査装置は、床下部品の下方に配置され車両の床下部品を照明する照明装置と、床下部品を撮像して画像データを得る撮像装置と、床下部品の下方であって照明装置の近傍に配置されて、床下部品からの映像光を撮像装置に向けて反射するミラーと、を備える。
【0009】
上記検査装置では、床下部品を照明する照明装置と、映像光を撮像装置に向けて反射するミラーとが、床下部品の下方において互いに近傍に配置されており、床下部品の下側に露出する箇所を確実に照明し、照明された箇所を正面から撮影できるので、床下部品の下側に露出する箇所の状態を正確に把握することができる。
【0010】
本発明の具体的な側面では、上記検査装置において、床下部品は、鉄道車両の台車の構成部品を含み、照明装置とミラーとは、レールの枕木の近傍に配置される。普通鉄道の場合、枕木の周辺に空間を確保することは容易であり、照明装置やミラーを建築限界の要件を満たしつつ枕木の近傍に配置することができる。
(【0011】以降は省略されています)
この特許をJ-PlatPat(特許庁公式サイト)で参照する
関連特許
日本信号株式会社
異常走行検出装置
15日前
日本信号株式会社
可視光通信システム
11日前
日本信号株式会社
ホーム柵及びホーム柵の設置方法
15日前
日本信号株式会社
ホーム柵
1か月前
日本信号株式会社
ホーム柵
1か月前
日本信号株式会社
検査装置
9か月前
個人
車両及び走行システム
5か月前
近畿車輌株式会社
耐火床構造
11日前
日本車輌製造株式会社
鉄道車両
3日前
日本信号株式会社
ホーム柵装置
6か月前
日本車輌製造株式会社
台車組立装置
4か月前
日本信号株式会社
列車接近警報装置
2か月前
近畿車輌株式会社
鉄道車両の床構造
10か月前
近畿車輌株式会社
鉄道車両の床構造
10か月前
近畿車輌株式会社
鉄道車両の床構造
10か月前
ナブテスコ株式会社
ホームドア装置
2か月前
川崎車両株式会社
鉄道車両用パネル
7か月前
カヤバ株式会社
鉄道車両用制振装置
9か月前
保線機器整備株式会社
保線用カート
8か月前
日本信号株式会社
ホームドア制御装置
3か月前
日本信号株式会社
物体検知装置
6か月前
日本ケーブル株式会社
索道の支索引留め装置
2か月前
日本信号株式会社
ホーム安全システム
6か月前
株式会社東芝
台車搬送装置
7日前
株式会社ダイフク
搬送車
4か月前
日本信号株式会社
踏切道監視システム
10か月前
ヤマハ発動機株式会社
無人搬送車
6か月前
ヤマハ発動機株式会社
無人搬送車
4か月前
株式会社日立製作所
鉄道車両
15日前
ヤマハ発動機株式会社
無人搬送車
6か月前
ヤマハ発動機株式会社
無人搬送車
6か月前
株式会社ダイフク
搬送設備
5か月前
シャープ株式会社
表示装置
11か月前
前川鉄工株式会社
ロープ駆動装置
11か月前
株式会社京三製作所
車上装置
7か月前
日本製鉄株式会社
鉄道車両
7か月前
続きを見る
他の特許を見る