TOP
|
特許
|
意匠
|
商標
特許ウォッチ
Twitter
他の特許を見る
10個以上の画像は省略されています。
公開番号
2025067657
公報種別
公開特許公報(A)
公開日
2025-04-24
出願番号
2023177801
出願日
2023-10-13
発明の名称
車両及び走行システム
出願人
個人
代理人
個人
主分類
B61B
13/00 20060101AFI20250417BHJP(鉄道)
要約
【課題】車両がワイヤーロープを走行する場合、及びレールを走行する場合の両方において、車両の姿勢を安定させることの可能な車両を提供する。
【解決手段】車体31と、車体31により支持された左駆動輪33及び左従動輪35と、を有する車両15であって、左駆動輪33及び左従動輪35の外周面は、案内装置13に含まれるレールの支持面に支持される構成を有し、左駆動輪33及び左従動輪35の外周面は、案内装置13に含まれるワイヤーロープが配置される溝を有し、車体31に第1保持装置44及び第2保持装置104が更に設けられ、第1保持装置44及び第2保持装置104は、車体31の幅方向に沿って作動可能な作動部材と、作動部材に設けられた保持部材及び接触輪と、を有し、保持部材は、ワイヤーロープを下から支持し、接触輪は、案内部材の案内面に接触して転動される構成である。
【選択図】図6
特許請求の範囲
【請求項1】
車体と、前記車体により回転可能に支持された車輪と、を有し、前記車輪が案内装置により支持されて走行する車両であって、
前記車輪の外周面は、前記案内装置に含まれるレールの支持面に支持される構成を有し、
前記車輪の外周面は、前記案内装置に含まれるワイヤーロープが配置される溝を有し、
前記車体に保持装置が更に設けられ、
前記保持装置は、
前記車体の幅方向に沿って作動可能な作動部材と、
前記作動部材に設けられた保持部材及び接触輪と、
を有し、
前記保持部材は、前記ワイヤーロープを下から支持し、
前記接触輪は、前記レールの案内面に接触して転動される、車両。
続きを表示(約 2,700 文字)
【請求項2】
請求項1記載の車両であって、
前記車体を前記案内装置に対して固定するブレーキ力を発生させる第1停車ブレーキ装置及び第2停車ブレーキ装置が、更に設けられ、
前記第1停車ブレーキ装置は、
前記車体の幅方向に作動可能な第1プランジャと、
前記第1プランジャを前記案内面へ近づける向きに付勢する第1スプリングと、
前記第1プランジャに取り付けられ、かつ、前記案内面へ接触されてブレーキ力を発生する第1ブレーキパッドと、
前記第1プランジャを前記案内面から離れる向きに作動させる第1エアチャンバと、
を有し、
前記第2停車ブレーキ装置は、
前記車体の幅方向に作動可能な第2プランジャと、
前記第2プランジャを前記ワイヤーロープへ近づける向きに付勢する第2スプリングと、
前記第2プランジャに取り付けられ、かつ、前記ワイヤーロープへ押し付けられる第2ブレーキパッドと、
前記第2ブレーキパッドと共に前記ワイヤーロープを挟んでブレーキ力を発生させる受け部と、
前記第2プランジャを前記ワイヤーロープから離れる向きに作動させる第2エアチャンバと、
を有する、車両。
【請求項3】
請求項2記載の車両であって、
前記車体により支持され、かつ、トルクを出力する電動モータを更に備え、
前記車輪は、
前記電動モータからトルクが伝達される駆動輪と、
前記電動モータからトルクが伝達されない従動輪と、
を含み、
前記車体に支持され、かつ、前記従動輪の向きを変更する転蛇装置を更に備え、
前記転蛇装置は、
前記案内面に接触されて前記車体の幅方向に作動可能な案内輪と、
前記案内輪が前記車体の幅方向へ作動する作動力を前記従動輪へ伝達することにより、前記従動輪の向きを変更する作動力伝達部材と、
を有する、車両。
【請求項4】
請求項1または2記載の車両であって、
前記車輪は、前記車体の幅方向で異なる位置に配置された右車輪及び左車輪を含み、
前記右車輪の外周面に設けられた前記溝の幅と、前記左車輪の外周面に設けられた前記溝の幅とが異なる、車両。
【請求項5】
請求項3記載の車両であって、
通常ブレーキ装置及び車両制御装置が更に設けられ、
前記通常ブレーキ装置は、前記車輪の回転を抑制するブレーキ力を発生し、
前記車両制御装置は、
前記電動モータを制御するモータ制御部と、
前記第1停車ブレーキ装置を制御する第1停車ブレーキ制御部と、
前記第2停車ブレーキ装置を制御する第2停車ブレーキ制御部と、
前記通常ブレーキ装置のブレーキ力を制御する通常ブレーキ制御部と、
を有する、車両。
【請求項6】
案内装置と、前記案内装置により支持されて走行する車両と、前記車両に設けられた車両制御装置と、前記車両から独立して設けられた管理装置と、を有する走行システムであって、
前記案内装置は、
平行に配置される2本のワイヤーロープと、
平行に配置される2つのレールと、
を含み、
前記車両は、
車体と、
前記車体により回転可能に支持される車輪と、
を備え、
前記車両は、前記車輪が前記案内装置により支持されて走行し、
前記車輪の外周面は、前記レールの支持面に支持される構成を有し、
前記車輪の外周面は、前記ワイヤーロープが配置される溝を有し、
前記車体に保持装置が更に設けられ、
前記保持装置は、
前記車体の幅方向に沿って作動可能な作動部材と、
前記作動部材に設けられた保持部材及び接触輪と、
を有し、
前記保持部材は、前記ワイヤーロープを下から支持し、
前記接触輪は、前記レールの案内面に接触して転動され、
前記車体を前記案内装置に対して固定するブレーキ力を発生させる第1停車ブレーキ装置及び第2停車ブレーキ装置が、更に設けられ、
前記第1停車ブレーキ装置は、
前記車体の幅方向に作動可能な第1プランジャと、
前記第1プランジャを前記案内面へ近づける向きに付勢する第1スプリングと、
前記第1プランジャに取り付けられ、かつ、前記案内面へ接触されてブレーキ力を発生する第1ブレーキパッドと、
前記第1プランジャを前記案内面から離れる向きに作動させる第1エアチャンバと、
を有し、
前記第2停車ブレーキ装置は、
前記車体の幅方向に作動可能な第2プランジャと、
前記第2プランジャを前記ワイヤーロープへ近づける向きに付勢する第2スプリングと、
前記第2プランジャに取り付けられ、かつ、前記ワイヤーロープへ押し付けられる第2ブレーキパッドと、
前記第2ブレーキパッドと共に前記ワイヤーロープを挟んでブレーキ力を発生させる受け部と、
前記第2プランジャを前記ワイヤーロープから離れる向きに作動させる第2エアチャンバと、
を有し、
前記車輪の回転を抑制するブレーキ力を発生する通常ブレーキ装置が更に設けられ、
前記車体により支持され、かつ、トルクを出力する電動モータを更に備え、
前記車輪は、
前記電動モータからトルクが伝達される駆動輪と、
前記電動モータからトルクが伝達されない従動輪と、
を含み、
前記車両制御装置は、
前記電動モータを制御するモータ制御部と、
前記第1停車ブレーキ装置を制御する第1停車ブレーキ制御部と、
前記第2停車ブレーキ装置を制御する第2停車ブレーキ制御部と、
前記通常ブレーキ装置のブレーキ力を制御する通常ブレーキ制御部と、
前記管理装置と相互に通信する第1通信装置と、
を有し、
前記管理装置は、
前記第1通信装置と相互に通信する第2通信装置と、
前記車両の通信装置から送られる車両情報を処理し、かつ、前記車両情報を処理した結果に基づいて、前記車両制御装置へ送る制御信号を生成する制御装置と、
を備えている走行システム。
発明の詳細な説明
【技術分野】
【0001】
本開示は、索道及び軌道に沿って自走可能な車両及び走行システムに関する。
続きを表示(約 2,500 文字)
【背景技術】
【0002】
索道及び軌道に沿って自走可能な車両を備えた走行システムの一例が、特許文献1に記載されている。特許文献1に記載されている自走式ロープウェイシステムは、空中に架設された索道に吊下された形態でロープウェイ装置(車両)が走行するロープウェイシステムである。特許文献1に記載されたロープウェイシステムは、ロープウェイ装置と、ロープウェイ装置の進行方向において離隔されて設置された2つの支柱間の区間であり且つ接合部がない一連の索道によって構成される区間である単位索道区間を複数連接するための中継器と、を備えている。また、ロープウェイ装置は、客室を構成するチャンバの天面に設けられた駆動輪と、駆動輪に対応して設けられる受動輪であって、駆動輪の外周に設けられた溝と受動輪の外周に設けられた溝とによって索道を挟持して走行するように構成された受動輪と、を備えている。
【0003】
さらに、中継器は、支柱に設けられ、索道を固定するための索道固定具を備え、前の単位索道区間を構成する索道の終端部分が所定の索道端部に鋳止めされた状態で、索道端部が索道固定具に固定されている。さらに、次の単位索道区間を構成する索道の始端部分が他の索道端部に鋳止めされた状態で、他の索道端部が索道固定具に固定されている。さらに、索道端部及び他の索道端部が設けられた領域を包含する領域にわたって、索道固定具に索道端部走行用レールが形成されている。また、索道端部走行用レールの上面の曲率半径は、索道の曲率半径と同一に形成されており、駆動輪は、索道端部走行用レールの上面を介して、索道端部を越えて次の単位索道区間を構成する索道へと進行することを特徴とする。
【先行技術文献】
【特許文献】
【0004】
特許第6889874号公報
【発明の概要】
【発明が解決しようとする課題】
【0005】
本願発明者は、特許文献1に記載されている走行システムは、車両が索道を走行する場合、及び走行用レールを走行する場合の両方において、車両の姿勢を安定させるという点について、未だ改善の余地がある、という課題を認識した。
【0006】
本開示の目的は、車両がワイヤーロープを走行する場合、及びレールを走行する場合の両方において、車両の姿勢を安定させることの可能な車両及び走行システムを提供することにある。
【課題を解決するための手段】
【0007】
本実施形態は、車体と、前記車体により回転可能に支持された車輪と、を有し、前記車輪が案内装置により支持されて走行する車両であって、前記車輪の外周面は、前記案内装置に含まれるレールの支持面に支持される構成を有し、前記車輪の外周面は、前記案内装置に含まれるワイヤーロープが配置される溝を有し、前記車体に保持装置が更に設けられ、前記保持装置は、前記車体の幅方向に沿って作動可能な作動部材と、前記作動部材に設けられた保持部材及び接触輪と、を有し、前記保持部材は、前記ワイヤーロープを下から支持し、前記接触輪は、前記レールの案内面に接触して転動される、車両である。
【発明の効果】
【0008】
本実施形態によれば、車両の姿勢を安定させることが可能である。
【図面の簡単な説明】
【0009】
本実施形態の車両を含む走行システムのブロック図である。
車両の概略構成を示す平面図である。
車両、及び走行システムに含まれる案内装置の模式的な平面図である。
車両及び案内装置の模式的な側面図である。
図2Aに示す案内装置の一部を示す模式的な平面図である。
車両を下から見た斜視図である。
車両を下から見た斜視図である。
車両の側面図である。
車両の正面図である。
車両の正面図である。
車両に設けられた転蛇装置の正面図である。
転蛇装置の平面図である。
転蛇装置の部分的な正面断面図である。
車両に設けられた第1保持装置及び第2保持装置を包括して示し、かつ、索道及び軌道が設けられている正面図である。
図11Aの部分的な拡大断面図である。
車両に設けられた第1保持装置及び第2保持装置を包括して示す平面図である。
第1保持装置及び第2保持装置を包括して示し、かつ、軌道のみが設けられている正面図である。
車両に設けられている通常ブレーキ装置の模式図である。
車両に設けられている第1停車ブレーキ装置及び第2停車ブレーキ装置の斜視図である。
第1停車ブレーキ装置の作動を示す正面断面図である。
第2停車ブレーキ装置の作動を示す正面断面図である。
車両に設けられている右従動輪、左従動輪、右駆動輪、左駆動輪を包括して示す縦断面図である。
車両に設けられている右従動輪、左従動輪、右駆動輪、左駆動輪を包括して示す縦断面図である。
第1停車ブレーキ装置の構造を示す正面断面図である。
第2停車ブレーキ装置の構造を示す正面断面図である。
【発明を実施するための形態】
【0010】
(概要)
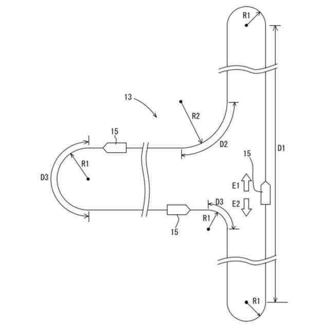
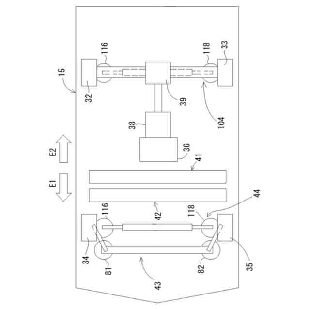
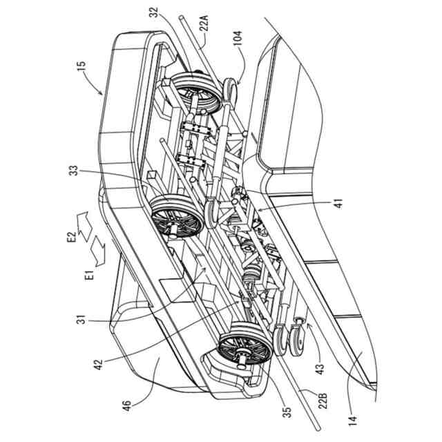
本実施形態の走行システムは、図面に基づいて説明されている。各図面において、同様の構成については、同じ符号が付されている。図1Aに示された走行システム10は、管理装置11、図2Bに示す走行装置12を有する。走行装置12は、案内装置13、輸送用機器14及び車両15により構成される。図2Aは、案内装置13を鉛直方向、つまり、重力の作用方向で真上から見た平面図である。図2Bは、案内装置13を側方から見た側面図である。複数の車両15が、案内装置13上を走行及び停止可能である。
(【0011】以降は省略されています)
この特許をJ-PlatPat(特許庁公式サイト)で参照する
関連特許
日本信号株式会社
ホーム柵
1か月前
個人
車両及び走行システム
5か月前
日本信号株式会社
検査装置
9か月前
日本信号株式会社
ホーム柵
1か月前
近畿車輌株式会社
耐火床構造
9日前
日本信号株式会社
ホーム柵装置
6か月前
日本車輌製造株式会社
鉄道車両
1日前
近畿車輌株式会社
鉄道車両の床構造
10か月前
日本車輌製造株式会社
台車組立装置
4か月前
日本信号株式会社
列車接近警報装置
2か月前
ナブテスコ株式会社
ホームドア装置
2か月前
保線機器整備株式会社
保線用カート
8か月前
カヤバ株式会社
鉄道車両用制振装置
9か月前
近畿車輌株式会社
鉄道車両の床構造
10か月前
近畿車輌株式会社
鉄道車両の床構造
10か月前
川崎車両株式会社
鉄道車両用パネル
7か月前
日本信号株式会社
ホーム安全システム
6か月前
株式会社東芝
台車搬送装置
5日前
日本信号株式会社
物体検知装置
6か月前
日本ケーブル株式会社
索道の支索引留め装置
2か月前
日本信号株式会社
踏切道監視システム
10か月前
日本信号株式会社
ホームドア制御装置
3か月前
株式会社ダイフク
搬送車
4か月前
ヤマハ発動機株式会社
無人搬送車
6か月前
株式会社日立製作所
鉄道車両
13日前
株式会社ダイフク
搬送設備
5か月前
シャープ株式会社
表示装置
11か月前
ヤマハ発動機株式会社
無人搬送車
6か月前
ヤマハ発動機株式会社
無人搬送車
6か月前
ヤマハ発動機株式会社
無人搬送車
4か月前
前川鉄工株式会社
ロープ駆動装置
11か月前
オークラ輸送機株式会社
無人搬送車
9日前
株式会社京三製作所
車上装置
6か月前
日本製鉄株式会社
鉄道車両
7か月前
日本信号株式会社
自動列車運転装置
2か月前
ナブテスコ株式会社
ホームドア装置
12か月前
続きを見る
他の特許を見る