TOP
|
特許
|
意匠
|
商標
特許ウォッチ
Twitter
他の特許を見る
10個以上の画像は省略されています。
公開番号
2025080680
公報種別
公開特許公報(A)
公開日
2025-05-26
出願番号
2023193991
出願日
2023-11-14
発明の名称
アンテナ指向装置
出願人
KDDI株式会社
代理人
個人
,
個人
主分類
B64G
1/24 20060101AFI20250519BHJP(航空機;飛行;宇宙工学)
要約
【課題】月着陸機におけるアンテナ指向の場合に代表される、指向方向の微細制御が可能であり、且つ、軽量化を図ることのできるアンテナ指向装置を提供する。
【解決手段】実体振子機構Uを備えるアンテナ指向装置であって、当該実体振子機構Uにはアンテナ部1が固定して設けられていることにより、当該実体振子機構のつり合い姿勢に応じて前記アンテナ部1の指向制御を実現し、当該実体振子機構Uに接続されることで、前記つり合い姿勢を安定させるまたは変化させるよう構成された引索65をさらに備える。
【選択図】図13
特許請求の範囲
【請求項1】
実体振子機構を備えるアンテナ指向装置であって、
当該実体振子機構にはアンテナ部が固定して設けられていることにより、当該実体振子機構のつり合い姿勢に応じて前記アンテナ部の指向制御を実現し、
当該実体振子機構に接続されることで、前記つり合い姿勢を安定させるまたは変化させるよう構成された引索をさらに備えることを特徴とするアンテナ指向装置。
続きを表示(約 960 文字)
【請求項2】
前記アンテナ指向装置は、機器類と、当該機器類を格納する筐体と、を備え、
前記実体振子機構は、前記機器類を格納する前記筐体の少なくとも一部を含んで構成されることを特徴とする請求項1に記載のアンテナ指向装置。
【請求項3】
前記つり合い姿勢は、前記筐体の複数の部分であって前記実体振子機構に含まれる部分が、中心側に配置された状態から、外周側へそれぞれ移動することで、前記筐体の複数の部分が放射状に配置された状態において実現されるものであることを特徴とする請求項2に記載のアンテナ指向装置。
【請求項4】
前記筐体の複数の部分のそれぞれを前記中心側と前記外周側との間で移動させる伸縮機構を備え、当該移動させる長さが調整可能とされていることで、前記つり合い姿勢が調整可能とされていることを特徴とする請求項3に記載のアンテナ指向装置。
【請求項5】
前記伸縮機構はボールねじ機構を含むことを特徴とする請求項4に記載のアンテナ指向装置。
【請求項6】
前記伸縮機構を駆動する単一の駆動機構をさらに備え、当該単一の駆動機構が前記中心側に配置されることにより、当該単一の駆動機構によって前記筐体の複数の部分のそれぞれが移動可能とされることを特徴とする請求項4に記載のアンテナ指向装置。
【請求項7】
前記引索は複数あり、当該引索のそれぞれの一端が前記筐体の複数の部分へと接続されることを特徴とする請求項3に記載のアンテナ指向装置。
【請求項8】
前記引索のそれぞれの他端は、前記中心側に設置されていることを特徴とする請求項7に記載のアンテナ指向装置。
【請求項9】
前記実体振子機構が揺動可能となるための支点構造が2軸ジンバルとして構成されることを特徴とする請求項1に記載のアンテナ指向装置。
【請求項10】
前記実体振子機構が揺動可能となる支点を提供する固定部をさらに備え、
前記実体振子機構と前記固定部とは予め固定された状態にあり、当該固定された状態が解除されることによって、前記実体振子機構が揺動可能となることを特徴とする請求項1に記載のアンテナ指向装置。
発明の詳細な説明
【技術分野】
【0001】
本発明は、アンテナ指向装置に関する。
続きを表示(約 1,700 文字)
【背景技術】
【0002】
宇宙空間で利用するアンテナの指向制御の既存技術に関して、例えば、ADEOS、ADEOS-2、ALOS等の地球観測衛星においては、多周波で送受共用アンテナの指向制御には2軸ジンバルが使用されている。例えば、ADEOS~ALOSまでのアンテナ径1.3mφを70cmφに小型化して自動捕捉追尾機能を削減したALOS-2を主体とした技術文献として非特許文献1がある。
【先行技術文献】
【非特許文献】
【0003】
大和光輝; 徳永裕典; 中川潤. 陸域観測技術衛星 2 号 (ALOS-2) 向けデータ中継衛星通信系アンテナ用メカニズム. 三菱電機技報, 2015, 89.3: 170-173.
【発明の概要】
【発明が解決しようとする課題】
【0004】
しかしながら、従来技術における衛星向けのアンテナ指向制御(アンテナの指向性ではなく、物品としてのアンテナ自体の物理的な向きを制御する技術)では、月着陸機(月上局)における送受信用の対地球用アンテナにおけるアンテナ指向制御の技術的要求を満たすことができなかった。
【0005】
すなわち、月着陸機のアンテナにおいては、(要求1)運搬費用の面から軽量が求められ、(要求2)月上局に要求される指向角変化が緩慢であることから指向方向を微細に変化・保持する必要がある。
【0006】
しかしながら、衛星向けアンテナ指向制御において用いられる2軸ジンバルは、指向範囲が半球面と広いことから、(要求2)の指向方向の微細制御には不適切であり、しかも、設備としてRFフロントエンド搭載の背面個室が必要となり、更にバランスウェイト等が必要であることから重量増加の傾向は避けられず、(要求1)の軽量化達成に関しても不十分であった。
【0007】
ここで、月上局で対地球用アンテナが利用される背景としての月探索活動について簡単に説明する。
【0008】
図1は月探索活動のシステム構成の例を模式的に示す図であり、月探査活動の初期拠点は永久凍土になる南極クレータ内であり(水資源が期待)、この領域の宇宙機(着陸機、無人・有人ローバ、船外活動員含む)から地球が見通せないため、月周回衛星で中継する案が進められている。また、拠点外のローバとの通信にも月周回衛星が利用される。月周回衛星から直接地球に通信する場合、月面ユーザ(着陸機、無人・有人ローバ等)方向と地球方向と指向方向が異なる複数アンテナが必要になる。特に地球対向アンテナは全球面をカバーする必要があり、衛星搭載性に難がある。そのため、月面ユーザ方向に月上局を設け、各宇宙機データを収集し、まとめて地球に伝送する構成が有効である。また、南極クレータの縁に基地局を設けることでユーザ端末の小型化も図れる。
【0009】
図2は、前記(要求2)として指向方向の微細制御が必要となることの背景である、月と地球との位置関係を模式的に示す図である。以下の特徴から、月上局の地球指向アンテナ角度範囲は最大約±8°、アンテナ駆動角速度は10-4 °/秒以下とゆっくりした変化であり、当該変化に対応した微細制御が必要となる。
●月の軌道傾斜角:5.1°、赤道傾斜角:1.5°から地球方向のずれは27日周期で±7°以下である。(月面でEL方向±5.1°、AZ方向:±1.5°)
●月と地球間距離は38万kmと遠く、地球全体が月面から約±1°以内に含まれる(月の可視時間は10~14時間)。月上局の指向範囲最大値は上記を加算したEL方向6.1°、AZ方向±2.5°になる。
【0010】
以上、従来技術の課題に鑑み、本発明は、月着陸機を月上局とする際の地球対向アンテナ等での利用に好適なアンテナ指向装置として、指向方向の微細制御が可能であり、且つ、軽量化を図ることのできるアンテナ指向装置を提供することを目的とする。
【課題を解決するための手段】
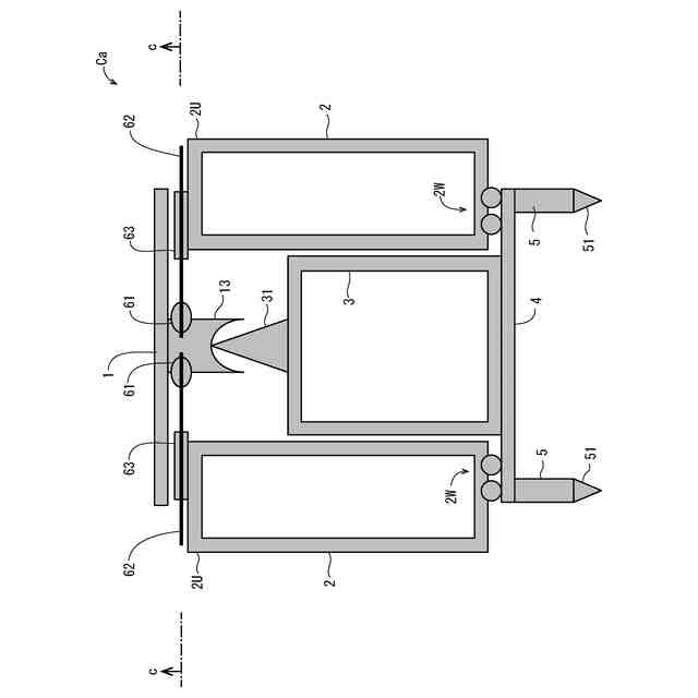
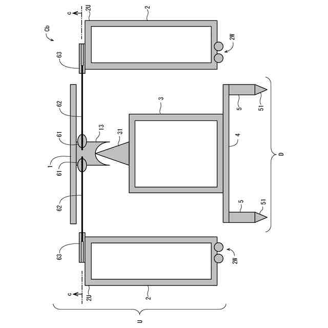
(【0011】以降は省略されています)
この特許をJ-PlatPat(特許庁公式サイト)で参照する
関連特許
KDDI株式会社
光増幅器
16日前
KDDI株式会社
光増幅器
16日前
KDDI株式会社
光増幅器
3日前
KDDI株式会社
光増幅器
3日前
KDDI株式会社
光接続ノード
3日前
KDDI株式会社
緊急ネットワーク分離方法
4日前
KDDI株式会社
情報処理装置及び情報処理方法
1か月前
KDDI株式会社
情報処理装置及び情報処理方法
26日前
KDDI株式会社
情報処理装置及び情報処理方法
16日前
KDDI株式会社
情報処理装置及び情報処理方法
16日前
KDDI株式会社
情報処理装置及び情報処理方法
1か月前
KDDI株式会社
情報処理装置及び情報処理方法
2日前
KDDI株式会社
情報処理装置及び情報処理方法
2日前
KDDI株式会社
情報処理装置及び情報処理方法
2日前
KDDI株式会社
通信制御システム及び通信制御方法
10日前
KDDI株式会社
通信制御システム及び通信制御方法
10日前
KDDI株式会社
通信制御システム及び通信制御方法
10日前
KDDI株式会社
通信制御システム及び通信制御方法
10日前
KDDI株式会社
ネットワーク制御装置及びプログラム
1か月前
KDDI株式会社
飛行体、情報処理装置及び情報処理方法
6日前
KDDI株式会社
通信装置、無線デバイス及びプログラム
6日前
KDDI株式会社
中継装置、中継方法及び中継プログラム
25日前
KDDI株式会社
通信装置、無線デバイス及びプログラム
1か月前
KDDI株式会社
認証装置、認証方法及び認証プログラム
25日前
KDDI株式会社
通信装置、無線デバイス及びプログラム
1か月前
KDDI株式会社
認証装置、認証方法及び認証プログラム
1か月前
KDDI株式会社
情報処理装置、情報処理方法及びプログラム
6日前
KDDI株式会社
情報処理装置、情報処理方法及びプログラム
17日前
KDDI株式会社
支援処理装置、支援処理方法及びプログラム
16日前
KDDI株式会社
情報処理装置、情報処理方法及びプログラム
10日前
KDDI株式会社
情報処理装置、情報処理方法及びプログラム
1か月前
KDDI株式会社
情報処理装置、情報処理方法及び情報処理システム
1か月前
KDDI株式会社
情報処理装置、情報処理方法及び情報処理システム
16日前
KDDI株式会社
情報処理装置、情報処理方法及び情報処理システム
16日前
KDDI株式会社
情報処理装置、情報処理方法及び情報処理システム
16日前
KDDI株式会社
メッシュ復号装置、メッシュ復号方法及びプログラム
2日前
続きを見る
他の特許を見る