TOP
|
特許
|
意匠
|
商標
特許ウォッチ
Twitter
他の特許を見る
10個以上の画像は省略されています。
公開番号
2025142525
公報種別
公開特許公報(A)
公開日
2025-10-01
出願番号
2024041939
出願日
2024-03-18
発明の名称
緊急ネットワーク分離方法
出願人
KDDI株式会社
,
トヨタ自動車株式会社
代理人
個人
主分類
H04W
76/50 20180101AFI20250924BHJP(電気通信技術)
要約
【課題】通常に登録された端末装置と緊急用に登録された端末装置との間でネットワークを分離する。
【解決手段】ネットワークノードは、制御部及び通信部を含む。通信部は、緊急時、端末装置が第1のネットワークスライスを使用することを要求するメッセージを受信するように構成され、第1のネットワークスライスは、緊急用に割り当てられたネットワークスライスである。制御部は、緊急時、端末装置が緊急用に登録されているか否かを判定し、端末装置が緊急用に登録されている場合、第1のネットワークスライスを通じて、端末装置に対してPDUセッションを確立し、端末装置が緊急用に登録されていない場合、要求を拒絶する、ように構成されている。
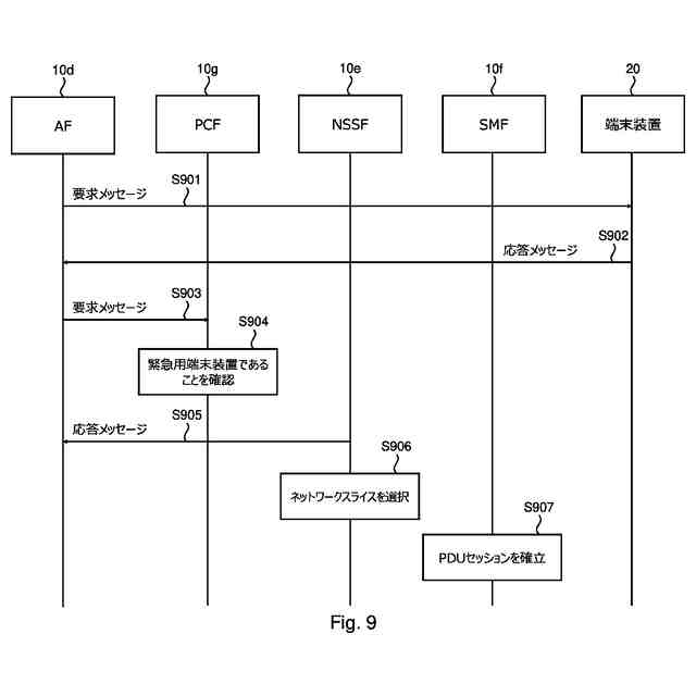
【選択図】図9
特許請求の範囲
【請求項1】
制御部及び通信部を含むネットワークノードであって、
前記通信部は、緊急時、端末装置が第1のネットワークスライスを使用することを要求するメッセージを受信するように構成され、前記第1のネットワークスライスは、緊急用に割り当てられたネットワークスライスであり、
前記制御部は、緊急時、
前記端末装置が緊急用に登録されているか否かを判定し、
前記端末装置が緊急用に登録されている場合、前記第1のネットワークスライスを通じて、前記端末装置に対してPDUセッションを確立し、
前記端末装置が緊急用に登録されていない場合、前記要求を拒絶する、
ように構成されている、ネットワークノード。
続きを表示(約 1,200 文字)
【請求項2】
前記通信部は、通常時、前記端末装置が前記第1のネットワークスライスを使用することを要求するメッセージを受信するように更に構成され、
前記制御部は、通常時、前記要求を拒絶するように更に構成されている、
請求項1に記載のネットワークノード。
【請求項3】
前記通信部は、通常時、前記端末装置が前記第1のネットワークスライスを使用することを要求するメッセージを受信するように更に構成され、
前記制御部は、通常時、前記第1のネットワークスライスを登録するように更に構成されている、
請求項1に記載のネットワークノード。
【請求項4】
前記制御部は、通常時に確立された前記PDUセッションを切断するように更に構成されている、請求項3に記載のネットワークノード。
【請求項5】
通常時、前記端末装置が、緊急用に割り当てられていない第2のネットワークスライスを使用しているとき、
前記通信部は、緊急時、前記端末装置が前記第2のネットワークスライスから前記第1のネットワークスライスに切り替えることを要求するメッセージを受信するように更に構成され、
前記制御部は、緊急時、前記第2のネットワークスライスを通じて前記端末装置に対して確立されたPDUセッションを切断するように更に構成されている、
ように構成されている、請求項1に記載のネットワークノード。
【請求項6】
複数の端末装置を含むグループが、前記第1のネットワークスライスに対して登録され、
前記通信部は、緊急時、前記グループの各々が前記第1のネットワークスライスを使用することを要求するメッセージを受信するように更に構成されている、
請求項1に記載のネットワークノード。
【請求項7】
前記通信部は、前記グループの各々に、第1のネットワークスライスを使用することを要求するメッセージを送信するように更に構成されている、請求項6に記載のネットワークノード。
【請求項8】
前記制御部は、前記端末装置の識別子に基づいて、前記端末装置が緊急用に登録されているか否かを判定するように更に構成されている、請求項1に記載のネットワークノード。
【請求項9】
前記制御部は、サブスクリプションデータに基づいて、前記端末装置が緊急用に登録されているか否かを判定するように更に構成されている、請求項1に記載のネットワークノード。
【請求項10】
前記制御部は、緊急時、
災害が発生したエリア内でのネットワークのサービス要件を判定し、
前記サービス要件に基づいて、緊急用に割り当てられたネットワークスライスの中から前記第1のネットワークスライスを選択する、
ように更に構成されている、請求項1に記載のネットワークノード。
(【請求項11】以降は省略されています)
発明の詳細な説明
【技術分野】
【0001】
本開示は、緊急ネットワーク分離方法に関し、特に、災害などの緊急事態発生時、通常に登録された端末装置と緊急用に登録された端末装置との間でネットワークを分離する緊急ネットワーク分離方法に関する。
続きを表示(約 1,700 文字)
【背景技術】
【0002】
第3世代パートナーシッププロジェクト(3GPP(登録商標):Third Generation Partnership Project)は、ネットワークスライシング(Network Slicing)を規定している。ネットワークスライシングは、ネットワークを仮想的に分割し、帯域制限及び優先制御などを実施することによって、アプリケーションごとに細かな粒度でトラフィックを制御する技術である。
【0003】
仮想的に分割されたネットワークは、ネットワークスライス(Network Slice)と称される。ネットワークスライスは、S-NSSAI(Single-Network Slice Selection Assistance Information)と称される識別子が割り当てられる。
【先行技術文献】
【非特許文献】
【0004】
3GPP TS 23.501 V18.4.0 (2023-12)
【発明の概要】
【発明が解決しようとする課題】
【0005】
非特許文献1は、緊急サービス(Emergency Service)を提供することを記載している。緊急サービスでは、災害などの緊急事態が発生したとき、通常に登録されたUE(normally registered UE)よりも緊急用に登録されたUE(Emergency Registered UE)に対してインターネットプロトコルマルチメディアサブシステム(IMS:Internet Protocol Multimedia Subsystem)サービスセッションを優先する。
【0006】
非特許文献1は、緊急事態発生時に、緊急用に登録されたUEに対してIMSサービスセッションを優先すること記載しているにすぎず、通常に登録されたUEと緊急用に登録されたUEとの間でネットワークを分離することを記載しているわけではない。
【0007】
本開示は、緊急時に、通常に登録された端末装置と緊急用に登録された端末装置との間でネットワークを分離する技術を提供する。
【課題を解決するための手段】
【0008】
上記目的を達成するために、実施形態に係るネットワークノードは、制御部及び通信部を含むネットワークノードであって、前記通信部は、緊急時、端末装置が第1のネットワークスライスを使用することを要求するメッセージを受信するように構成され、前記第1のネットワークスライスは、緊急用に割り当てられたネットワークスライスであり、前記制御部は、緊急時、前記端末装置が緊急用に登録されているか否かを判定し、前記端末装置が緊急用に登録されている場合、前記第1のネットワークスライスを通じて、前記端末装置に対してPDUセッションを確立し、前記端末装置が緊急用に登録されていない場合、前記要求を拒絶する、ように構成されている。
【0009】
更に、実施形態に係る方法は、ネットワークノードによって実行される方法であって、緊急時、端末装置が第1のネットワークスライスを使用することを要求するメッセージを受信することであって、前記第1のネットワークスライスは、緊急用に割り当てられたネットワークスライスである、受信することと、前記端末装置が緊急用に登録されているか否かを判定することと、前記端末装置が緊急用に登録されている場合、前記第1のネットワークスライスを通じて、前記端末装置に対してPDUセッションを確立することと、前記端末装置が緊急用に登録されていない場合、前記要求を拒絶することと、を含む。
【0010】
以上の構成によれば、緊急時に、緊急用に登録された端末装置のみが、緊急専用ネットワークスライスを使用することが可能になり、よって、通常に登録された端末装置と緊急用に登録された端末装置との間でネットワークを分離することができる。なお、以上の構成により、当該効果の代わりに、又は当該効果と共に、他の効果が奏されてもよい。
【図面の簡単な説明】
(【0011】以降は省略されています)
特許ウォッチbot のツイートを見る
この特許をJ-PlatPat(特許庁公式サイト)で参照する
関連特許
KDDI株式会社
光増幅器
4日前
KDDI株式会社
光増幅器
4日前
KDDI株式会社
光増幅器
17日前
KDDI株式会社
光増幅器
17日前
KDDI株式会社
光接続ノード
4日前
KDDI株式会社
緊急ネットワーク分離方法
5日前
KDDI株式会社
情報処理装置及び情報処理方法
17日前
KDDI株式会社
情報処理装置及び情報処理方法
3日前
KDDI株式会社
情報処理装置及び情報処理方法
3日前
KDDI株式会社
情報処理装置及び情報処理方法
3日前
KDDI株式会社
情報処理装置及び情報処理方法
17日前
KDDI株式会社
通信制御システム及び通信制御方法
11日前
KDDI株式会社
通信制御システム及び通信制御方法
11日前
KDDI株式会社
通信制御システム及び通信制御方法
11日前
KDDI株式会社
通信制御システム及び通信制御方法
11日前
KDDI株式会社
中継装置、中継方法及び中継プログラム
26日前
KDDI株式会社
飛行体、情報処理装置及び情報処理方法
7日前
KDDI株式会社
認証装置、認証方法及び認証プログラム
26日前
KDDI株式会社
通信装置、無線デバイス及びプログラム
7日前
KDDI株式会社
情報処理装置、情報処理方法及びプログラム
11日前
KDDI株式会社
情報処理装置、情報処理方法及びプログラム
18日前
KDDI株式会社
情報処理装置、情報処理方法及びプログラム
7日前
KDDI株式会社
支援処理装置、支援処理方法及びプログラム
17日前
KDDI株式会社
情報処理装置、情報処理方法及び情報処理システム
17日前
KDDI株式会社
情報処理装置、情報処理方法及び情報処理システム
17日前
KDDI株式会社
情報処理装置、情報処理方法及び情報処理システム
17日前
KDDI株式会社
タスクオフロード制御システム、方法及びプログラム
4日前
KDDI株式会社
メッシュ復号装置、メッシュ復号方法及びプログラム
3日前
KDDI株式会社
メッシュ復号装置、メッシュ復号方法及びプログラム
3日前
KDDI株式会社
移動通信ネットワークのネットワークノード及びプログラム
25日前
KDDI株式会社
移動通信ネットワークの基地局装置及びネットワークノード
18日前
KDDI株式会社
水中移動体制御システム、水中移動体及び水中移動体制御方法
4日前
KDDI株式会社
方針違反検知装置、方針違反検知方法及び方針違反検知プログラム
17日前
KDDI株式会社
移動通信ネットワークのネットワークノード、サーバ及びプログラム
25日前
KDDI株式会社
移動通信ネットワークのネットワークノード、サーバ及びプログラム
25日前
KDDI株式会社
ネットワークノード、ネットワークノードによる方法及びプログラム
5日前
続きを見る
他の特許を見る