TOP
|
特許
|
意匠
|
商標
特許ウォッチ
Twitter
他の特許を見る
10個以上の画像は省略されています。
公開番号
2025146182
公報種別
公開特許公報(A)
公開日
2025-10-03
出願番号
2024046822
出願日
2024-03-22
発明の名称
メッシュ復号装置、メッシュ復号方法及びプログラム
出願人
KDDI株式会社
代理人
フェリシテ弁理士法人
主分類
H04N
19/597 20140101AFI20250926BHJP(電気通信技術)
要約
【課題】パッチのシンタックスにサブメッシュID及び変位量IDを含ませることによってサブメッシュIDと変位量IDとの間の対応付けを可能とすること。
【解決手段】本発明に係るメッシュ復号装置200のパッチ対応付け部206Aは、アトラスに含まれるパッチと基本メッシュとを対応付けることによって対応付け基本メッシュを生成して出力する基本メッシュ対応付け部206A1と、レベル値画像或いは第1係数列の種別を判定することによってレベル値画像及び第1係数列のうち判定されたいずれかを変位量として出力する変位量種別判定部206A2と、パッチと変位量とを対応付けることによって対応付けレベル値画像或いは対応付け第1係数列を生成して出力する変位量対応付け部206A3とを備える。
【選択図】図20
特許請求の範囲
【請求項1】
メッシュ復号装置であって、
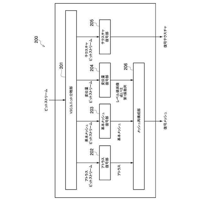
ビットストリームより得られたアトラスと基本メッシュとレベル値画像或いは第1係数列とに基づいてメッシュを再構成して出力するように構成されているメッシュ再構成部を備え、
前記メッシュ再構成部は、
前記アトラスと前記基本メッシュと前記レベル値画像或いは前記第1係数列とを用いて、対応付け基本メッシュと対応付けレベル値画像或いは対応付け第1係数列とを生成して出力するように構成されているパッチ対応付け部を備え、
前記パッチ対応付け部は、
前記アトラスに含まれるパッチと前記基本メッシュとを対応付けることによって対応付け基本メッシュを生成して出力するように構成されている基本メッシュ対応付け部と、
前記レベル値画像或いは前記第1係数列の種別を判定することによって前記レベル値画像及び前記第1係数列のうち判定されたいずれかを変位量として出力するように構成されている変位量種別判定部と、
前記パッチと前記変位量とを対応付けることによって対応付けレベル値画像或いは対応付け第1係数列を生成して出力するように構成されている変位量対応付け部とを備えることを特徴とするメッシュ復号装置。
続きを表示(約 1,200 文字)
【請求項2】
前記アトラスに係るビットストリームは、前記パッチに対応付けられた変位量IDを示すpdu_displ_idを含み、
前記変位量に係るビットストリームは、変位量のIDを示すdh_idを含み、
前記変位量対応付け部は、前記dh_idが前記pdu_displ_idと等しくなるようなdispl_nal_unitを参照し、前記参照したdispl_nal_unitから得られた前記第1係数列を前記対応付け第1の係数列として出力することを特徴とする請求項1に記載のメッシュ復号装置。
【請求項3】
メッシュ復号方法であって、
ビットストリームより得られたアトラスと基本メッシュとレベル値画像或いは第1係数列とに基づいてメッシュを再構成して出力する工程Aを有し、
前記工程Aは、
前記アトラスと前記基本メッシュと前記レベル値画像或いは前記第1係数列とを用いて、対応付け基本メッシュと対応付けレベル値画像或いは対応付け第1係数列とを生成して出力する工程A1を有し、
前記工程A1は、
前記アトラスに含まれるパッチと前記基本メッシュとを対応付けることによって対応付け基本メッシュを生成して出力する工程と、
前記レベル値画像或いは前記第1係数列の種別を判定することによって前記レベル値画像及び前記第1係数列のうち判定されたいずれかを変位量として出力する工程と、
前記パッチと前記変位量とを対応付けることによって対応付けレベル値画像或いは対応付け第1係数列を生成して出力する工程とを有することを特徴とするメッシュ復号方法。
【請求項4】
コンピュータを、メッシュ復号装置として機能させるプログラムであって、
前記メッシュ復号装置は、
ビットストリームより得られたアトラスと基本メッシュとレベル値画像或いは第1係数列とに基づいてメッシュを再構成して出力するように構成されているメッシュ再構成部を備え、
前記メッシュ再構成部は、
前記アトラスと前記基本メッシュと前記レベル値画像或いは前記第1係数列とを用いて、対応付け基本メッシュと対応付けレベル値画像或いは対応付け第1係数列とを生成して出力するように構成されているパッチ対応付け部を備え、
前記パッチ対応付け部は、
前記アトラスに含まれるパッチと前記基本メッシュとを対応付けることによって対応付け基本メッシュを生成して出力するように構成されている基本メッシュ対応付け部と、
前記レベル値画像或いは前記第1係数列の種別を判定することによって前記レベル値画像及び前記第1係数列のうち判定されたいずれかを変位量として出力するように構成されている変位量種別判定部と、
前記パッチと前記変位量とを対応付けることによって対応付けレベル値画像或いは対応付け第1係数列を生成して出力するように構成されている変位量対応付け部とを備えることを特徴とするプログラム。
発明の詳細な説明
【技術分野】
【0001】
本発明は、メッシュ復号装置、メッシュ復号方法及びプログラムに関する。
続きを表示(約 2,400 文字)
【背景技術】
【0002】
非特許文献1では、点群を部分的なパッチに分割して復号する技術が開示されている。
【0003】
非特許文献2では、非特許文献1をメッシュ復号の用途に拡張した技術が開示されている。メッシュは、大まかな基本メッシュと詳細な変位量とに分割して復号される。メッシュは、部分的なサブメッシュに分割して復号される。変位量は、映像コーデック或いは算術復号によって復号される。
【先行技術文献】
【非特許文献】
【0004】
“Information technology - Coded Representation of Immersive Media - Part 5: Visual Volumetric Video-based Coding (V3C) and Video-based Point Cloud Compression (V-PCC),” ISO/IEC JTC 1/SC 29/WG 7, ISO/IEC 23090-5:2021(2E).
“WD 5.0 of V-DMC,” ISO/IEC JTC 1/SC 29/WG 7 N00744.
【発明の概要】
【発明が解決しようとする課題】
【0005】
しかしながら、非特許文献2の方法では、算術復号によって変位量を復号する際、メッシュをサブメッシュに分割すると基本メッシュと変位量との間で空間的な対応関係が保証されず、復号後のメッシュが破綻するというという問題点があった。
【0006】
そこで、本発明は、上述の課題に鑑みてなされたものであり、パッチのシンタックスにサブメッシュID及び変位量IDを含ませることによって、サブメッシュIDと変位量IDとの間の対応付けが可能となるメッシュ復号装置、メッシュ復号方法及びプログラムを提供することを目的とする。
【課題を解決するための手段】
【0007】
本発明の第1の特徴は、メッシュ復号装置であって、ビットストリームより得られたアトラスと基本メッシュとレベル値画像或いは第1係数列とに基づいてメッシュを再構成して出力するように構成されているメッシュ再構成部を備え、前記メッシュ再構成部は、前記アトラスと前記基本メッシュと前記レベル値画像或いは前記第1係数列とを用いて、対応付け基本メッシュと対応付けレベル値画像或いは対応付け第1係数列とを生成して出力するように構成されているパッチ対応付け部を備え、前記パッチ対応付け部は、前記アトラスに含まれるパッチと前記基本メッシュとを対応付けることによって対応付け基本メッシュを生成して出力するように構成されている基本メッシュ対応付け部と、前記レベル値画像或いは前記第1係数列の種別を判定することによって前記レベル値画像及び前記第1係数列のうち判定されたいずれかを変位量として出力するように構成されている変位量種別判定部と、前記パッチと前記変位量とを対応付けることによって対応付けレベル値画像或いは対応付け第1係数列を生成して出力するように構成されている変位量対応付け部とを備えることを要旨とする。
【0008】
本発明の第2の特徴は、メッシュ復号方法であって、ビットストリームより得られたアトラスと基本メッシュとレベル値画像或いは第1係数列とに基づいてメッシュを再構成して出力する工程Aとを有し、前記工程Aは、前記アトラスと前記基本メッシュと前記レベル値画像或いは前記第1係数列とを用いて、対応付け基本メッシュと対応付けレベル値画像或いは対応付け第1係数列とを生成して出力する工程A1を有し、前記工程A1は、前記アトラスに含まれるパッチと前記基本メッシュとを対応付けることによって対応付け基本メッシュを生成して出力する工程と、前記レベル値画像或いは前記第1係数列の種別を判定することによって前記レベル値画像及び前記第1係数列のうち判定されたいずれかを変位量として出力する工程と、前記パッチと前記変位量とを対応付けることによって対応付けレベル値画像或いは対応付け第1係数列を生成して出力する工程とを有することを要旨とする。
【0009】
本発明の第3の特徴は、コンピュータを、メッシュ復号装置として機能させるプログラムであって、前記メッシュ復号装置は、ビットストリームより得られたアトラスと基本メッシュとレベル値画像或いは第1係数列とに基づいてメッシュを再構成して出力するように構成されているメッシュ再構成部を備え、前記メッシュ再構成部は、前記アトラスと前記基本メッシュと前記レベル値画像或いは前記第1係数列とを用いて、対応付け基本メッシュと対応付けレベル値画像或いは対応付け第1係数列とを生成して出力するように構成されているパッチ対応付け部を備え、前記パッチ対応付け部は、前記アトラスに含まれるパッチと前記基本メッシュとを対応付けることによって対応付け基本メッシュを生成して出力するように構成されている基本メッシュ対応付け部と、前記レベル値画像或いは前記第1係数列の種別を判定することによって前記レベル値画像及び前記第1係数列のうち判定されたいずれかを変位量として出力するように構成されている変位量種別判定部と、前記パッチと前記変位量とを対応付けることによって対応付けレベル値画像或いは対応付け第1係数列を生成して出力するように構成されている変位量対応付け部とを備えることを要旨とする。
【発明の効果】
【0010】
本発明によれば、パッチのシンタックスにサブメッシュID及び変位量IDを含ませることによって、サブメッシュIDと変位量IDとの間の対応付けが可能となるメッシュ復号装置、メッシュ復号方法及びプログラムを提供することができる。
【図面の簡単な説明】
(【0011】以降は省略されています)
この特許をJ-PlatPat(特許庁公式サイト)で参照する
関連特許
KDDI株式会社
光増幅器
17日前
KDDI株式会社
光増幅器
4日前
KDDI株式会社
光増幅器
4日前
KDDI株式会社
光増幅器
17日前
KDDI株式会社
光接続ノード
4日前
KDDI株式会社
解析装置及びプログラム
1か月前
KDDI株式会社
緊急ネットワーク分離方法
5日前
KDDI株式会社
ユーザ端末及び通信制御方法
2か月前
KDDI株式会社
ユーザ端末及び通信制御方法
2か月前
KDDI株式会社
情報処理装置及び情報処理方法
17日前
KDDI株式会社
情報処理装置及び情報処理方法
27日前
KDDI株式会社
情報処理装置及び情報処理方法
17日前
KDDI株式会社
情報処理装置及び情報処理方法
2か月前
KDDI株式会社
情報処理装置及び情報処理方法
2か月前
KDDI株式会社
情報処理装置及び情報処理方法
3日前
KDDI株式会社
情報処理装置及び情報処理方法
3日前
KDDI株式会社
情報処理装置及び情報処理方法
3日前
KDDI株式会社
情報処理装置及び情報処理方法
1か月前
KDDI株式会社
情報処理装置及び情報処理方法
1か月前
KDDI株式会社
情報処理装置及び情報処理方法
1か月前
KDDI株式会社
通信制御システム及び通信制御方法
11日前
KDDI株式会社
通信制御システム及び通信制御方法
11日前
KDDI株式会社
通信制御システム及び通信制御方法
11日前
KDDI株式会社
通信制御システム及び通信制御方法
11日前
KDDI株式会社
ネットワーク制御装置及びプログラム
1か月前
KDDI株式会社
認証装置、認証方法及び認証プログラム
26日前
KDDI株式会社
中継装置、中継方法及び中継プログラム
26日前
KDDI株式会社
通信装置、無線デバイス及びプログラム
1か月前
KDDI株式会社
飛行体、情報処理装置及び情報処理方法
7日前
KDDI株式会社
通信装置、無線デバイス及びプログラム
1か月前
KDDI株式会社
認証装置、認証方法及び認証プログラム
1か月前
KDDI株式会社
通信装置、無線デバイス及びプログラム
7日前
KDDI株式会社
遠隔制御システム、制御方法及び制御装置
2か月前
KDDI株式会社
無線デバイス及びコンピュータプログラム
1か月前
KDDI株式会社
点群復号装置、点群復号方法及びプログラム
2か月前
KDDI株式会社
画像復号装置、画像復号方法及びプログラム
2か月前
続きを見る
他の特許を見る