TOP
|
特許
|
意匠
|
商標
特許ウォッチ
Twitter
他の特許を見る
公開番号
2025086410
公報種別
公開特許公報(A)
公開日
2025-06-09
出願番号
2023200339
出願日
2023-11-28
発明の名称
健康リスク推定システム
出願人
大和ハウス工業株式会社
代理人
個人
,
個人
主分類
G16H
50/30 20180101AFI20250602BHJP(特定の用途分野に特に適合した情報通信技術)
要約
【課題】対象者の健康リスクを好適に推定可能な健康リスク推定システムを提供する。
【解決手段】対象者の動作を検出可能な対象者検出センサ110と、対象者検出センサ110の検出結果に基づいて、対象者の行動を推定可能な行動推定部と、行動の前後において、対象者の歩行に関するデータである歩行速度データを検出可能な対象者検出センサ110と、対象者検出センサ110の検出結果に基づいて、行動の前の対象者の歩行速度データと、行動の後の対象者の歩行速度データと、の変動を示す歩行速度変動性データを取得する歩行変動性データ取得部と、現在の歩行速度変動性データと、過去の歩行速度変動性データと、の比較結果に基づいて前記対象者の健康リスクを推定可能な健康リスク推定部と、を具備する。
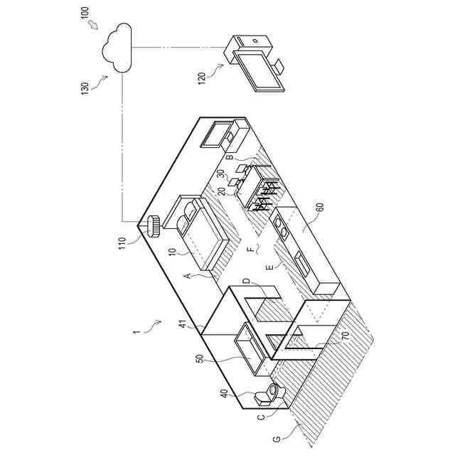
【選択図】図1
特許請求の範囲
【請求項1】
対象者の動作を検出可能な動作検出部と、
前記動作検出部の検出結果に基づいて、前記対象者の行動を推定可能な行動推定部と、
前記行動の前後において、前記対象者の歩行に関するデータである歩行データを検出可能な歩行データ検出部と、
前記歩行データ検出部の検出結果に基づいて、前記行動の前の前記対象者の前記歩行データと、前記行動の後の前記対象者の前記歩行データと、の変動を示す歩行変動性データを取得する歩行変動性データ取得部と、
第一の時間の前記歩行変動性データである第一歩行変動性データと、前記第一の時間よりも過去のものであって、前記第一歩行変動性データの前記行動と同様な行動の前記歩行変動性データである第二歩行変動性データと、の比較結果に基づいて前記対象者の健康リスクを推定可能な健康リスク推定部と、
を具備する健康リスク推定システム。
続きを表示(約 520 文字)
【請求項2】
前記歩行データ検出部は、
非接触で前記対象者の前記歩行データを検出可能である、
請求項1に記載の健康リスク推定システム。
【請求項3】
前記歩行データ検出部は、
前記歩行データとして、前記対象者の歩行速度を検出する、
請求項1に記載の健康リスク推定システム。
【請求項4】
前記動作検出部の検出結果に基づいて、前記対象者の歩行の移動軌跡を推定可能な移動軌跡推定部を具備し、
前記歩行変動性データ取得部は、
前記行動の前後の前記歩行データであって、互いに同様な移動軌跡の歩行に基づく前記歩行データを用いて、前記歩行変動性データを取得する、
請求項1に記載の健康リスク推定システム。
【請求項5】
前記動作検出部が検出した前記対象者の動作に関する時間の情報を取得可能な時間情報取得部を具備し、
行動推定部は、
前記動作検出部の検出結果と、前記時間情報取得部の取得結果と、に基づいて前記対象者の前記行動を推定する、
請求項1から請求項4までのいずれか一項に記載の健康リスク推定システム。
発明の詳細な説明
【技術分野】
【0001】
本発明は、健康リスク推定システムの技術に関する。
続きを表示(約 1,100 文字)
【背景技術】
【0002】
従来、対象者の健康上のリスク(健康リスク)を推定するシステムの技術は公知となっている。例えば、特許文献1に記載の如くである。
【0003】
特許文献1には、被験者の歩行に関するデータである歩行データを用いて、被験者の転倒リスクを評価(推定)する技術が開示されている。特許文献1に記載の発明では、被験者の歩行データを取得すると共に、歩行データを閾値と比較することで、被験者の転倒リスクを評価している。
【0004】
しかしながら、歩行データは様々な影響を受けて変動する。このため、単純に歩行データを比較する方法では、対象者の健康リスク(転倒リスク)を好適に推定し難いことが想定される。
【先行技術文献】
【特許文献】
【0005】
特開2021-030051号公報
【発明の概要】
【発明が解決しようとする課題】
【0006】
本発明は以上の如き状況に鑑みてなされたものであり、その解決しようとする課題は、対象者の健康リスクを好適に推定可能な健康リスク推定システムを提供することである。
【課題を解決するための手段】
【0007】
本発明の解決しようとする課題は以上の如くであり、次にこの課題を解決するための手段を説明する。
【0008】
即ち、請求項1においては、対象者の動作を検出可能な動作検出部と、前記動作検出部の検出結果に基づいて、前記対象者の行動を推定可能な行動推定部と、前記行動の前後において、前記対象者の歩行に関するデータである歩行データを検出可能な歩行データ検出部と、前記歩行データ検出部の検出結果に基づいて、前記行動の前の前記対象者の前記歩行データと、前記行動の後の前記対象者の前記歩行データと、の変動を示す歩行変動性データを取得する歩行変動性データ取得部と、第一の時間の前記歩行変動性データである第一歩行変動性データと、前記第一の時間よりも過去のものであって、前記第一歩行変動性データの前記行動と同様な行動の前記歩行変動性データである第二歩行変動性データと、の比較結果に基づいて前記対象者の健康リスクを推定可能な健康リスク推定部と、を具備するものである。
【0009】
請求項2においては、前記歩行データ検出部は、非接触で前記対象者の前記歩行データを検出可能であるものである。
【0010】
請求項3においては、前記歩行データ検出部は、前記歩行データとして、前記対象者の歩行速度を検出するものである。
(【0011】以降は省略されています)
この特許をJ-PlatPat(特許庁公式サイト)で参照する
関連特許
個人
支援システム
4か月前
個人
医療のAI化
24日前
個人
管理装置
4か月前
個人
対話システム
4か月前
個人
通知ぬいぐるみAIシステム
1か月前
個人
情報システムおよび方法
6か月前
株式会社タカゾノ
薬剤秤量装置
2か月前
株式会社タカゾノ
薬剤秤量装置
2か月前
株式会社タカゾノ
薬剤秤量装置
2か月前
株式会社タカゾノ
薬剤秤量装置
2か月前
株式会社タカゾノ
薬剤秤量装置
2か月前
株式会社タカゾノ
薬剤秤量装置
3か月前
エムスリー株式会社
媒体
7か月前
株式会社リコー
投薬管理システム
25日前
ゾーン株式会社
コンピュータシステム
5か月前
株式会社M-INT
情報処理システム
5か月前
個人
診療の管理装置及び診療システム
2か月前
富士電機株式会社
食事管理システム
6か月前
医療法人社団梅華会
医療の支援装置
8か月前
株式会社CureApp
プログラム
2か月前
株式会社サンクスネット
情報提供システム
4か月前
大王製紙株式会社
作業管理システム
6か月前
株式会社日立製作所
情報システム
9か月前
株式会社サンクスネット
リスク判定システム
8か月前
個人
透析医療に関する回答方法及びその装置
8か月前
株式会社ミラボ
情報処理装置、及びプログラム
2か月前
アルケア株式会社
コミュニケーションシステム
8か月前
株式会社 137
健康観察管理システム
4か月前
株式会社タカゾノ
薬剤秤量装置及び調剤システム
3か月前
歯っぴー株式会社
口内状態の画像診断方法
1か月前
合同会社フォース
オンライン診療システム
6か月前
株式会社JVCケンウッド
表示装置及び表示方法
8か月前
西川株式会社
サービス出力システム
4か月前
公立大学法人大阪
診断装置
8か月前
株式会社グローバルビジョン
検体検査管理システム
8か月前
株式会社エフアンドエフ
在宅健康チェックシステム
4か月前
続きを見る
他の特許を見る