TOP
|
特許
|
意匠
|
商標
特許ウォッチ
Twitter
他の特許を見る
公開番号
2025088828
公報種別
公開特許公報(A)
公開日
2025-06-12
出願番号
2023203566
出願日
2023-12-01
発明の名称
ミシン釜のグリース供給構造
出願人
JUKI株式会社
代理人
個人
,
個人
主分類
D05B
57/14 20060101AFI20250605BHJP(縫製;刺しゅう;タフティング)
要約
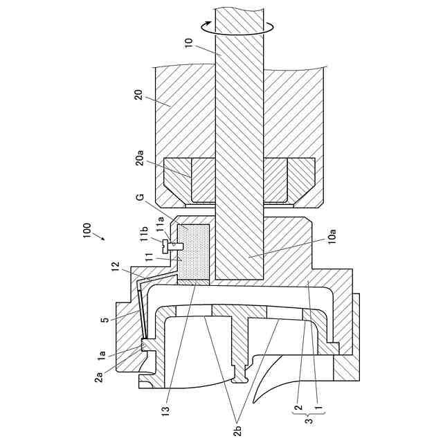
【課題】グリースを好適に供給することができるミシン釜のグリース供給構造を実現する。
【解決手段】このミシン釜のグリース供給構造100であれば、外釜1の窓部13を介してグリース収容部11内のグリースGの量を確認することができる。そして、グリース収容部11内のグリースGの量が少なくなったことを確認した場合に適宜グリースGを補充することができ、グリース収容部11内のグリース量が減り過ぎてしまうこと防ぐことができるので、ミシン釜3の摺動部(レース溝1a、レース突部2a)にグリースGを好適に供給することができる。
【選択図】図1
特許請求の範囲
【請求項1】
釜軸の一端部に連結されて所定方向に回転される外釜と、前記外釜に回転可能に内装されている内釜と、を有するミシン釜における前記外釜と前記内釜とが相対的に摺動する摺動部にグリースを供給するミシン釜のグリース供給構造であって、
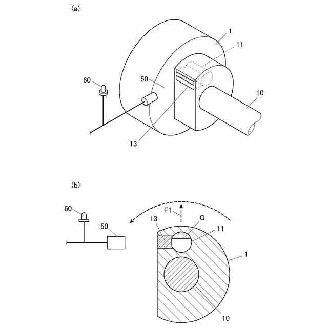
前記外釜には、前記グリースが充填されるグリース収容部と、前記グリース収容部から前記摺動部に前記グリースを導くグリース供給路と、前記グリース収容部の内部を視認可能にする窓部が設けられていることを特徴とするミシン釜のグリース供給構造。
続きを表示(約 680 文字)
【請求項2】
前記窓部は、前記外釜の外周面側に設けられていることを特徴とする請求項1に記載のミシン釜のグリース供給構造。
【請求項3】
前記窓部を介して前記グリース収容部内の前記グリースの量を検知するグリース量検知部を設けたことを特徴とする請求項1又は2に記載のミシン釜のグリース供給構造。
【請求項4】
前記グリース量検知部が検知した前記グリース収容部内の前記グリースの量が所定量以下である場合に、その旨を報知する報知部を備えたことを特徴とする請求項3に記載のミシン釜のグリース供給構造。
【請求項5】
前記釜軸が回転停止することに伴い、前記外釜は所定の向きで停止するように構成されており、
前記外釜が停止した状態で前記窓部と対向する位置に前記グリース量検知部が設けられていることを特徴とする請求項3に記載のミシン釜のグリース供給構造。
【請求項6】
前記グリース量検知部は、前記釜軸が回転停止した後、所定時間経過するまでの間に、前記グリース収容部内の前記グリースの量を検知するように構成されていることを特徴とする請求項5に記載のミシン釜のグリース供給構造。
【請求項7】
前記窓部は、前記外釜における前記内釜の底面と対向する位置に設けられており、
前記内釜の底面には少なくとも1つの開口部が設けられており、
前記窓部は、前記内釜の前記開口部を通じて視認できるように構成されていることを特徴とする請求項1に記載のミシン釜のグリース供給構造。
発明の詳細な説明
【技術分野】
【0001】
本発明は、ミシン釜の摺動部にグリースを供給するミシン釜のグリース供給構造に関する。
続きを表示(約 1,400 文字)
【背景技術】
【0002】
従来、ミシン釜を構成する外釜と内釜が相対的に摺動する摺動部へグリースを供給して、ミシン釜の発熱、焼付、摩耗を抑えるミシン釜のグリース供給構造が知られている(例えば、特許文献1参照。)。
このミシン釜のグリース供給構造は、外釜に設けられたグリース収容部を有しており、そのグリース収容部は、グリースが充填されている内側収容部と、摺動部近傍の外側収容部と、内側収容部と外側収容部を連通する連通収容部とを備えている。
そして、外釜が回転された際の遠心力でグリースが内側収容部から連通収容部を通じて外側収容部に送られて、外釜と内釜の摺動部にグリースが供給されるようになっている。
【先行技術文献】
【特許文献】
【0003】
特開平10-137479号公報
【発明の概要】
【発明が解決しようとする課題】
【0004】
しかしながら、上記特許文献1の場合、外側からグリース収容部内のグリースの残量を確認することができないので、ユーザーが気付かぬうちにグリース収容部内のグリース量が減り過ぎてしまい、グリースの供給量が過少になってしまうことがあるという問題があった。
【0005】
本発明の目的は、グリースを好適に供給することができるミシン釜のグリース供給構造を提供することである。
【課題を解決するための手段】
【0006】
以上の課題を解決するため、請求項1に記載の発明は、
釜軸の一端部に連結されて所定方向に回転される外釜と、前記外釜に回転可能に内装されている内釜と、を有するミシン釜における前記外釜と前記内釜とが相対的に摺動する摺動部にグリースを供給するミシン釜のグリース供給構造であって、
前記外釜には、前記グリースが充填されるグリース収容部と、前記グリース収容部から前記摺動部に前記グリースを導くグリース供給路と、前記グリース収容部の内部を視認可能にする窓部が設けられていることを特徴とする。
【0007】
請求項2に記載の発明は、請求項1に記載のミシン釜のグリース供給構造において、
前記窓部は、前記外釜の外周面側に設けられていることを特徴とする。
【0008】
請求項3に記載の発明は、請求項1又は2に記載のミシン釜のグリース供給構造において、
前記窓部を介して前記グリース収容部内の前記グリースの量を検知するグリース量検知部を設けたことを特徴とする。
【0009】
請求項4に記載の発明は、請求項3に記載のミシン釜のグリース供給構造において、
前記グリース量検知部が検知した前記グリース収容部内の前記グリースの量が所定量以下である場合に、その旨を報知する報知部を備えたことを特徴とする。
【0010】
請求項5に記載の発明は、請求項3に記載のミシン釜のグリース供給構造において、
前記釜軸が回転停止することに伴い、前記外釜は所定の向きで停止するように構成されており、
前記外釜が停止した状態で前記窓部と対向する位置に前記グリース量検知部が設けられていることを特徴とする。
(【0011】以降は省略されています)
この特許をJ-PlatPat(特許庁公式サイト)で参照する
関連特許
JUKI株式会社
ミシン
22日前
JUKI株式会社
ミシン
15日前
JUKI株式会社
ミシン
2か月前
JUKI株式会社
ゴム繋ぎ装置
16日前
JUKI株式会社
ミシンの布押え
4日前
JUKI株式会社
差動送りミシン
22日前
JUKI株式会社
取得装置及び二本針ミシン
9日前
JUKI株式会社
部品実装装置及びオフセット情報取得方法
1日前
JUKI株式会社
3次元計測装置、部品実装装置、及び3次元計測方法
11日前
JUKI株式会社
3次元計測装置、部品実装装置、及び3次元計測方法
15日前
JUKI株式会社
3次元計測装置、部品実装装置、及び3次元計測方法
15日前
JUKI株式会社
検査装置、サービス提供方法及び検査プログラムの提供方法
2か月前
株式会社バルダン
ミシン
11日前
JUKI株式会社
ミシン
4か月前
JUKI株式会社
ミシン
3か月前
ブラザー工業株式会社
ミシン
15日前
ブラザー工業株式会社
ミシン
15日前
ブラザー工業株式会社
ミシン
4か月前
ブラザー工業株式会社
ボビン
17日前
ブラザー工業株式会社
ミシン
3か月前
ブラザー工業株式会社
縫製装置
17日前
個人
ニードルパンチ針を使用した仮留め器具
2日前
個人
縫製方法
2か月前
ブラザー工業株式会社
糸巻回装置
17日前
JUKI株式会社
ミシンの布押え
4日前
ブラザー工業株式会社
糸巻回装置
17日前
JUKI株式会社
差動送りミシン
4か月前
JUKI株式会社
上下送りミシン
3か月前
株式会社PEGASUS
偏平縫いミシンの送り装置
15日前
株式会社PEGASUS
偏平縫いミシンの押え装置
15日前
JUKI株式会社
ボタン付け縫製装置
4か月前
JUKI株式会社
縁かがり縫いミシン
4か月前
JUKI株式会社
ミシンの糸切り装置
3か月前
ブラザー工業株式会社
ミシンフレーム
3か月前
JUKI株式会社
被縫製物の位置決め装置
3か月前
KLASS株式会社
畳縫着装置
3か月前
続きを見る
他の特許を見る