TOP
|
特許
|
意匠
|
商標
特許ウォッチ
Twitter
他の特許を見る
10個以上の画像は省略されています。
公開番号
2025152630
公報種別
公開特許公報(A)
公開日
2025-10-10
出願番号
2024054608
出願日
2024-03-28
発明の名称
ミシン
出願人
ブラザー工業株式会社
代理人
個人
,
個人
主分類
D05B
19/02 20060101AFI20251002BHJP(縫製;刺しゅう;タフティング)
要約
【課題】ベッド上に投影される設定オブジェクトの視認性が損なわれることを回避することに貢献するミシンを提供すること。
【解決手段】ミシンは、ベッドと、プロジェクタと、プロセッサとを備える。プロセッサは、ベッドの投影領域に対して、プロジェクタにより、縫製模様を表す模様イメージと、縫製模様の設定を指示するための投影設定オブジェクトとを含む投影画像を投影させる投影処理を実行する(S53)。プロセッサは、投影画像が投影されている期間中に、投影設定オブジェクトが選択されたことに応じて(S77:YES)、縫製模様の設定を行う投影設定実行処理を実行する(S78)。プロセッサは、投影画像内の投影設定オブジェクトの大きさ及び配置の少なくとも何れかを変更する変更処理を実行する(S59、S60)。
【選択図】図8
特許請求の範囲
【請求項1】
ベッドと、
プロジェクタと、
プロセッサと
を備え、
前記プロセッサは、
前記ベッド上の投影領域に対して、前記プロジェクタにより、縫製模様を表す模様イメージと、前記縫製模様の設定を指示するための投影設定オブジェクトとを含む投影画像を投影させる投影処理と、
前記投影画像が投影されている期間中に、前記投影設定オブジェクトが選択されたことに応じて、前記縫製模様の前記設定を行う投影設定実行処理と、
前記投影画像内の前記投影設定オブジェクトの大きさ及び配置の少なくとも何れかを変更する変更処理と
を実行することを特徴とするミシン。
続きを表示(約 1,800 文字)
【請求項2】
前記設定は、前記縫製模様の大きさ、前記縫製模様の縫製位置、及び前記縫製模様の縫製角度の何れかであることを特徴とする請求項1に記載のミシン。
【請求項3】
指示体により指定された前記投影領域の内の位置を検出するように構成されたセンサを更に備え、
前記プロセッサは、
前記投影設定実行処理において、前記投影画像が投影されている期間中に、前記センサにより前記投影設定オブジェクトが投影された位置が検出されたことに応じて、前記縫製模様の前記設定を行うことを特徴とする請求項1に記載のミシン。
【請求項4】
前記センサは、前記ベッド上を撮像するよう構成されたイメージセンサであり、
前記プロセッサは、前記投影設定実行処理で、前記イメージセンサで撮像した撮像画像に基づいて、前記投影設定オブジェクト投影された位置が検出されたことに応じて、前記縫製模様の前記設定を行うことを特徴とする請求項3に記載のミシン。
【請求項5】
前記投影画像は、前記投影設定オブジェクトが配置される位置を指定するための位置指定オブジェクトを含み、
前記プロセッサは、前記変更処理において、前記位置指定オブジェクトが選択されたことに応じて、前記投影画像内の前記投影設定オブジェクトを前記位置指定オブジェクトで指定された位置に配置することを特徴とする請求項1に記載のミシン。
【請求項6】
前記投影画像は、最小化オブジェクトを含み、
前記プロセッサは、
前記最小化オブジェクトが選択されたことに応じて、
前記模様イメージと、前記投影設定オブジェクトと、前記最小化オブジェクトとを含む前記投影画像を投影する通常モードと、
前記投影設定オブジェクトは含まず、前記模様イメージと、前記最小化オブジェクトとを含む前記投影画像を投影する最小化モードと
を切り替える最小化切替処理を更に実行することを特徴とする請求項1に記載のミシン。
【請求項7】
刺繍枠を装着可能なホルダを更に備え、
前記プロセッサは、
前記ホルダに装着される前記刺繍枠の種別を取得する種別取得処理を更に実行し、
前記投影処理において、
前記刺繍枠の前記種別が所定の種別である場合に、前記模様イメージと、前記投影設定オブジェクトとを含む前記投影画像を投影し、
前記刺繍枠の前記種別が前記所定の種別ではない場合に、前記模様イメージを含み、前記投影設定オブジェクトを含まない投影画像を投影することを特徴とする請求項1に記載のミシン。
【請求項8】
前記プロセッサは、
前記縫製模様の大きさを取得する大きさ取得処理と、
前記投影処理において、
前記縫製模様の大きさと、前記投影領域の大きさとが所定条件を満たす場合に、前記模様イメージと、前記投影設定オブジェクトとを含む前記投影画像を投影し、
前記縫製模様の大きさと、前記投影領域の大きさとが前記所定条件を満たさない場合に、前記模様イメージを含み、前記投影設定オブジェクトを含まない投影画像を投影することを特徴とする請求項1に記載のミシン。
【請求項9】
前記プロセッサは、
前記変更処理において、前記投影画像内における前記模様イメージと前記投影設定オブジェクトとが重なる場合に、前記模様イメージと前記投影設定オブジェクトとが重ならない位置に、前記投影画像内の前記投影設定オブジェクトの位置を変更することを特徴とする請求項1に記載のミシン。
【請求項10】
前記投影画像は、複数の前記投影設定オブジェクトを含み、
前記プロセッサは、
前記変更処理において、
前記投影画像の内の前記複数の前記投影設定オブジェクトが配置されるオブジェクトエリアの長手方向が、前記投影画像の長手方向と一致するように、前記複数の前記投影設定オブジェクトを前記投影画像内に配置する第一モードと、
前記オブジェクトエリアの前記長手方向が、前記投影画像の短手方向と一致するように、前記複数の前記投影設定オブジェクトを前記投影画像内に配置する第二モードと
を切り替えることを特徴とする請求項1に記載のミシン。
(【請求項11】以降は省略されています)
発明の詳細な説明
【技術分野】
【0001】
本発明は、ミシンに関する。
続きを表示(約 2,000 文字)
【背景技術】
【0002】
特許文献1のミシンは、超音波を検出した場合、超音波の発信源の被縫製物上の位置を指定位置として特定する。ミシンは、縫製領域の外側となる位置にメニュー画像を投影する。ミシンは、指定位置とメニュー画像の投影位置に基づき、編集模様の決定に必要な各種指示を入力可能である。
【先行技術文献】
【特許文献】
【0003】
特開2014-124464号公報
【発明の概要】
【発明が解決しようとする課題】
【0004】
従来のミシンでは、縫製領域、刺繍枠、及び投影領域の形状によっては、設定オブジェクトを投影するスペースが十分に確保できない場合がある。したがって、従来のミシンでは、投影された設定オブジェクトの視認性が損なわれることがある。
【0005】
本発明の目的は、ベッド上に投影される設定オブジェクトの視認性が損なわれることを回避することに貢献するミシンを提供することである。
【課題を解決するための手段】
【0006】
本発明の一態様に係るミシンは、ベッドと、プロジェクタと、プロセッサとを備え、前記プロセッサは、前記ベッド上の投影領域に対して、前記プロジェクタにより、縫製模様を表す模様イメージと、前記縫製模様の設定を指示するための投影設定オブジェクトとを含む投影画像を投影させる投影処理と、前記投影画像が投影されている期間中に、前記投影設定オブジェクトが選択されたことに応じて、前記縫製模様の前記設定を行う投影設定実行処理と、前記投影画像内の前記投影設定オブジェクトの大きさ及び配置の少なくとも何れかを変更する変更処理とを実行する。ミシンのプロセッサが実行する変更処理は、変更処理が実行されない従来のミシンに比べ、ベッド上に投影される投影設定オブジェクトの視認性が損なわれることを回避することに貢献する。
【図面の簡単な説明】
【0007】
ミシン1の斜視図である。
ミシン1の電気的構成を示すブロック図である。
メイン処理のフローチャートである。
第一表示画像G1の説明図である。
サブ編集画像G10の説明図である。
サブ編集画像G20の説明図である。
第二表示画像G30の説明図である。
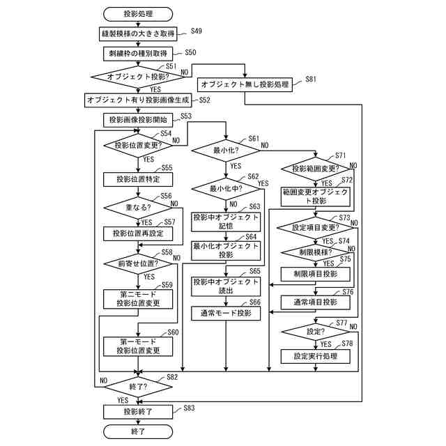
投影処理のフローチャートである。
(A)から(D)は、投影領域R1に投影される投影画像の説明図である。
(A)から(D)は、投影領域R1に投影される投影画像の説明図である。
(A)、(B)は、投影領域R1に投影される投影画像の説明図である。
(A)から(D)は、投影領域R1に投影される投影画像の説明図である。
縫製模様の設定の種類を表す表示種類オブジェクトF1からF16と、表示種類オブジェクトを表示画像に含ませる条件と、表示種類オブジェクトに対応する投影設定オブジェクトを投影画像に含ませる条件とを記憶するテーブル87の説明図である。
【発明を実施するための形態】
【0008】
本発明の一実施形態のミシン1を、図面を参照して順に説明する。図1を参照して、移動装置40が装着されたミシン1の物理的構成を説明する。図1の上下方向、右下側、左上側、左下側、及び右上側が、各々、移動装置40が装着されたミシン1の上下方向、前方、後方、左方、及び右方である。ベッド11及びアーム13の長手方向D2がミシン1の左右方向である。ベッド11及びアーム13の短手方向D1がミシン1の前後方向である。脚柱12が配置されている側が右側である。脚柱12の伸長方向がミシン1の上下方向である。以下の説明では、縫製模様を単に模様とも呼ぶ。
【0009】
図1に示すように、ミシン1は、ベッド11、脚柱12、アーム13、ヘッド14、及び移動装置40を備える。ベッド11は、左右方向に延びるミシン1の土台部である。脚柱12は、ベッド11の右端部から上方へ立設されている。アーム13は、ベッド11に対向して脚柱12の上端から延出方向Jへ延びる。本例の延出方向Jは、左方である。ヘッド14は、アーム13の左先端部に連結する部位である。
【0010】
ベッド11は、ベッド11の上面に図示しない針板を備える。針板には、後述する縫針7が挿通可能な図示しない針穴が形成される。ミシン1は、図2に示すように、ベッド11内に、送り歯24、送り機構23、及び釜機構28等を備える。送り歯24は、刺繍縫製ではない通常の縫製時に、送り機構23によって駆動され、被縫製物を所定の移動量で順送方向F又は逆送方向Bに移動させる。本例の順送方向Fは後方であり、逆送方向Bは前方である。釜機構28は、針板の下方において図示しない上糸を下糸に絡ませる。
(【0011】以降は省略されています)
この特許をJ-PlatPat(特許庁公式サイト)で参照する
関連特許
ブラザー工業株式会社
印刷装置
7日前
ブラザー工業株式会社
インクジェット記録方法及び印刷物
9日前
ブラザー工業株式会社
プリンタ
9日前
ブラザー工業株式会社
画像形成装置
今日
株式会社バルダン
ミシン
10日前
JUKI株式会社
ミシン
3か月前
ブラザー工業株式会社
ミシン
14日前
ブラザー工業株式会社
ミシン
3か月前
ブラザー工業株式会社
ボビン
16日前
ブラザー工業株式会社
ミシン
14日前
個人
ニードルパンチ針を使用した仮留め器具
1日前
ブラザー工業株式会社
縫製装置
16日前
個人
縫製方法
2か月前
JUKI株式会社
上下送りミシン
3か月前
ブラザー工業株式会社
糸巻回装置
16日前
ブラザー工業株式会社
糸巻回装置
16日前
JUKI株式会社
ミシンの布押え
3日前
株式会社PEGASUS
偏平縫いミシンの送り装置
14日前
JUKI株式会社
ミシンの糸切り装置
3か月前
ブラザー工業株式会社
ミシンフレーム
3か月前
株式会社PEGASUS
偏平縫いミシンの押え装置
14日前
JUKI株式会社
被縫製物の位置決め装置
3か月前
KLASS株式会社
畳縫着装置
1か月前
JUKI株式会社
ミシン
3か月前
KLASS株式会社
畳縫着装置
3か月前
JUKI株式会社
ミシン
2か月前
JUKI株式会社
ミシン
21日前
JUKI株式会社
取得装置及び二本針ミシン
8日前
JUKI株式会社
ミシン
14日前
株式会社TISM
ミシンにおける紐状素材の案内装置
4か月前
星鋭縫じん機股ふん有限公司
ミシン
2か月前
ブラザー工業株式会社
ミシン及びミシン制御方法
1か月前
JUKI株式会社
ゴム繋ぎ装置
15日前
JUKI株式会社
差動送りミシン
21日前
ブラザー工業株式会社
移動検出装置及び縫製システム
16日前
JUKI株式会社
縫製管理システム
2か月前
続きを見る
他の特許を見る