TOP
|
特許
|
意匠
|
商標
特許ウォッチ
Twitter
他の特許を見る
10個以上の画像は省略されています。
公開番号
2025149302
公報種別
公開特許公報(A)
公開日
2025-10-08
出願番号
2024049852
出願日
2024-03-26
発明の名称
糸巻回装置
出願人
ブラザー工業株式会社
代理人
個人
,
個人
主分類
D05B
59/00 20060101AFI20251001BHJP(縫製;刺しゅう;タフティング)
要約
【課題】ボビンに糸を巻回後、従来の糸巻回装置よりも安定して、糸を切断可能な糸巻回装置を提供すること。
【解決手段】糸巻回装置は、ノズル、ノズル回動部、空気供給部、及び制御装置を備える。ノズルは、糸を挿通する中空部と、中空部の先端部に形成され、糸を切断可能な刃部とを有する。制御装置は、ボビン回転部と、ノズル回動部と、空気供給部とを制御する。制御装置は、空気供給部によりノズルに空気を供給して、対向位置に配置されたノズルの中空部に挿通された糸をボビンケースの開口部に通す(S14)。制御装置は、ボビン回転部を駆動して、対向位置に配置されたノズルの中空部を介して糸供給源から供給された糸をボビンに巻き付ける(S15)。制御装置は、ノズル回動部を駆動して、ノズルを離隔位置に配置した状態で(S24、S25、S27)、中空部の刃部により糸を切断する(S28)。
【選択図】図8
特許請求の範囲
【請求項1】
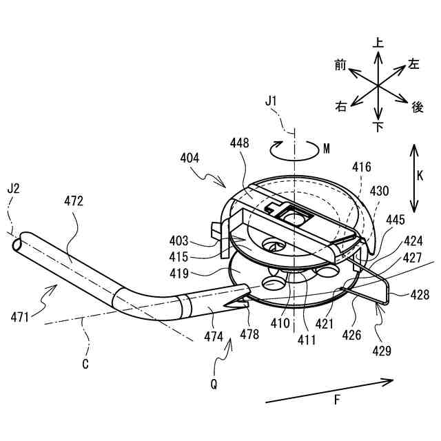
ボビンケース内のボビンを第一軸周りの巻回方向に回転させて、糸供給源から供給された糸を前記ボビンに巻き付けるボビン回転部を備えた糸巻回装置において、
前記糸を挿通する中空部と、前記中空部の先端部に形成され、前記糸を切断可能な刃部とを有し、第二軸周りに回動可能に保持されたノズルと、
前記刃部が前記ボビン回転部と対向する対向位置と、前記対向位置にある場合よりも、前記刃部と前記ボビン回転部との距離が離れた離隔位置とに前記ノズルを前記第二軸周りに回動させるノズル回動部と、
前記ノズルに空気を供給する空気供給部と、
前記ボビン回転部と、前記ノズル回動部と、前記空気供給部とを制御する制御装置と
を備え、
前記制御装置は、
前記空気供給部により前記ノズルに空気を供給して、前記対向位置に配置された前記ノズルの前記中空部に挿通された前記糸を前記ボビンケースの開口部に通し、
前記ボビン回転部を駆動して、前記対向位置に配置された前記ノズルの前記中空部を介して前記糸供給源から供給された前記糸を前記ボビンに巻き付け、
前記ノズル回動部を駆動して、前記ノズルを前記離隔位置に配置した状態で、前記中空部の前記刃部により前記糸を切断する
ことを特徴とする糸巻回装置。
続きを表示(約 1,100 文字)
【請求項2】
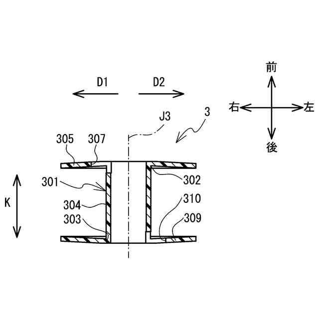
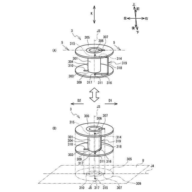
前記刃部は、前記対向位置にある前記中空部の中心を通り、前記第一軸と平行な仮想平面に対し、前記第一軸がある側とは反対側に形成されることを特徴とする請求項1に記載の糸巻回装置。
【請求項3】
前記刃部は、前記中空部の前記先端部に形成された切欠きであることを特徴とする請求項2に記載の糸巻回装置。
【請求項4】
前記制御装置は、
前記糸の切断に際して、前記ノズル回動部を駆動し、前記ノズルを前記対向位置から前記離隔位置に回動させ、
前記ノズルを前記離隔位置に回動後、前記ボビン回転部を駆動し、前記ボビンを前記巻回方向へ回転させて、前記離隔位置に配置された前記中空部の前記刃部により、前記糸を切断することを特徴とする請求項1~3の何れかに記載の糸巻回装置。
【請求項5】
前記離隔位置は、前記対向位置から、前記第二軸周りに135度以上且つ180度以下回動した位置であることを特徴とする請求項4に記載の糸巻回装置。
【請求項6】
前記制御装置は、
前記ノズル回動部は、前記離隔位置を越える超過位置まで前記ノズルを前記第二軸周りの第一回転方向に回動した後、前記空気供給部により前記ノズルに空気を供給し、前記第一回転方向とは反対方向に回転して、前記離隔位置に前記ノズルを位置させ、
前記ノズルを前記離隔位置になった後、前記糸を前記刃部で切断することを特徴とする請求項5に記載の糸巻回装置。
【請求項7】
前記制御装置は、
前記ボビン回転部を駆動して、前記空気供給部により供給された空気が前記対向位置に配置された前記ノズルから前記ボビンにむけて噴射される噴射方向に対して逆方向となる前記巻回方向に、前記ボビンを回転させることを特徴とする請求項1に記載の糸巻回装置。
【請求項8】
前記ボビンケースを前記第一軸周りに回動させるボビンケース回動部を更に備え、
前記制御装置は、
前記糸の切断に際して、前記ノズル回動部を駆動して、前記ノズルを前記対向位置から前記離隔位置に回動し、
前記ノズルを前記離隔位置に回動後、前記ボビンケース回動部を駆動して、前記ボビンケースを、前記巻回方向へ回転させることを特徴とする請求項1~3の何れかに記載の糸巻回装置。
【請求項9】
前記ノズルは、前記刃部が形成された前記中空部の前記先端部が前記第二軸の延びる方向に対して、65度以上且つ85度以下の角度の方向を向くよう屈曲していることを特徴とする請求項1~3の何れかに記載の糸巻回装置。
発明の詳細な説明
【技術分野】
【0001】
本発明は、糸巻回装置に関する。
続きを表示(約 2,100 文字)
【背景技術】
【0002】
特許文献1の下糸巻回装置は、糸供給ノズル、動メス付糸捌きを備える。糸供給ノズルは、回動自在に保持され、下糸供給源からの下糸を導出する。糸供給ノズルは、下糸をボビンケース内のボビンに供給する。動メス付糸捌きは、ボビンケースの周側面に沿って回動自在に保持され、ボビンに下糸が供給された状態において、回動することによって、ボビンケースの糸導出部から延出する下糸をすくい上げ、下糸を固定メスとの間に挟み込んで切断する。
【先行技術文献】
【特許文献】
【0003】
特開2000-5478号公報
【発明の概要】
【発明が解決しようとする課題】
【0004】
従来の糸巻回装置では、ボビンケースの糸導出部から延出する下糸をすくい上げ、動メス付糸捌きが下糸を固定メスとの間に挟み込んで切断する動作が不安定になりやすい。
【0005】
本発明の目的は、ボビンに糸を巻回後、従来の糸巻回装置よりも安定して、糸を切断可能な糸巻回装置を提供することである。
【課題を解決するための手段】
【0006】
本発明の請求項1に係る糸巻回装置は、ボビンケース内のボビンを第一軸周りの巻回方向に回転させて、糸供給源から供給された糸を前記ボビンに巻き付けるボビン回転部を備えた糸巻回装置において、前記糸を挿通する中空部と、前記中空部の先端部に形成され、前記糸を切断可能な刃部とを有し、第二軸周りに回動可能に保持されたノズルと、前記刃部が前記ボビン回転部と対向する対向位置と、前記対向位置にある場合よりも、前記刃部と前記ボビン回転部との距離が離れた離隔位置とに前記ノズルを前記第二軸周りに回動させるノズル回動部と、前記ノズルに空気を供給する空気供給部と、前記ボビン回転部と、前記ノズル回動部と、前記空気供給部とを制御する制御装置とを備え、前記制御装置は、前記空気供給部により前記ノズルに空気を供給して、前記対向位置に配置された前記ノズルの前記中空部に挿通された前記糸を前記ボビンケースの開口部に通し、前記ボビン回転部を駆動して、前記対向位置に配置された前記ノズルの前記中空部を介して前記糸供給源から供給された前記糸を前記ボビンに巻き付け、前記ノズル回動部を駆動して、前記ノズルを前記離隔位置に配置した状態で、前記中空部の前記刃部により前記糸を切断する。糸巻回装置の刃部は、糸供給源から供給かされた糸が挿通される中空部の先端部に形成されるので、ノズルとは別に切断部を設けることなく、ボビンに糸を巻回後、従来の糸巻回装置よりも安定して、糸を切断することに貢献する。
【0007】
本発明の請求項2に係る糸巻回装置の前記刃部は、前記対向位置にある前記中空部の中心を通り、前記第一軸と平行な仮想平面に対し、前記第一軸がある側とは反対側に形成される。糸巻回装置の刃部は、仮想平面に対し、第一軸がある側に形成される場合に比べ、対向位置に配置されたノズルの中空部を介して糸供給源から供給された糸をボビンに巻き付ける際に、糸が刃部に接触しにくくすることに貢献する。
【0008】
本発明の請求項3に係る糸巻回装置の前記刃部は、前記中空部の前記先端部に形成された切欠きである。糸巻回装置の刃部は、切欠きではない場合に比べ、糸と接しやすく、安定して、糸を切断することに貢献する。
【0009】
本発明の請求項4に係る糸巻回装置の前記制御装置は、前記糸の切断に際して、前記ノズル回動部を駆動し、前記ノズルを前記対向位置から前記離隔位置に回動させ、前記ノズルを前記離隔位置に回動後、前記ボビン回転部を駆動し、前記ボビンを前記巻回方向へ回転させて、前記離隔位置に配置された前記中空部の前記刃部により、前記糸を切断する。糸巻回装置の制御装置は、ノズルを離隔位置に回動後、ボビン回転部を駆動し、ボビンを巻回方向へ回転させることで、糸を引っ張り、中空部の先端部に形成された刃部で糸を切断しやすくすることに貢献する。
【0010】
本発明の請求項5に係る糸巻回装置の前記離隔位置は、前記対向位置から、前記第二軸周りに135度以上且つ180度以下回動した位置である。糸巻回装置は、離隔位置を対向位置から第二軸周りに135度未満回動した位置とする場合に比べ、離隔位置を対向位置から離れた位置に設定できる。糸巻回装置の制御装置は、離隔位置を対向位置から第二軸周りに135度未満回動した位置とする場合に比べ、ノズルと、ボビンとの間で糸を引っ張った状態で、糸を安定して切断することに貢献する。糸巻回装置の制御装置は、離隔位置を越えるまでノズルを第二軸周りに第一回転方向に回転後、ノズルに空気を供給し、ノズルを離隔位置に配置することで、ノズルに糸が絡みついている状態を解消し、糸が刃部に接触させやすくすることに貢献する。
(【0011】以降は省略されています)
この特許をJ-PlatPat(特許庁公式サイト)で参照する
関連特許
ブラザー工業株式会社
ミシン
9日前
ブラザー工業株式会社
ミシン
9日前
ブラザー工業株式会社
空調機
10日前
ブラザー工業株式会社
ホルダ
9日前
ブラザー工業株式会社
印刷媒体
9日前
ブラザー工業株式会社
印刷媒体
9日前
ブラザー工業株式会社
回収装置
9日前
ブラザー工業株式会社
塗工装置
9日前
ブラザー工業株式会社
塗工装置
9日前
ブラザー工業株式会社
印刷装置
2日前
ブラザー工業株式会社
塗工装置
9日前
ブラザー工業株式会社
結紮装置
10日前
ブラザー工業株式会社
結紮装置
10日前
ブラザー工業株式会社
制御装置
10日前
ブラザー工業株式会社
制御装置
10日前
ブラザー工業株式会社
縫製装置
11日前
ブラザー工業株式会社
印刷媒体
9日前
ブラザー工業株式会社
塗布装置
9日前
ブラザー工業株式会社
印刷装置
11日前
ブラザー工業株式会社
スキャナ
5日前
ブラザー工業株式会社
スキャナ
5日前
ブラザー工業株式会社
静電塗工装置
9日前
ブラザー工業株式会社
画像形成装置
9日前
ブラザー工業株式会社
画像形成装置
9日前
ブラザー工業株式会社
画像形成装置
9日前
ブラザー工業株式会社
画像形成装置
9日前
ブラザー工業株式会社
画像形成装置
9日前
ブラザー工業株式会社
画像形成装置
5日前
ブラザー工業株式会社
画像形成装置
5日前
ブラザー工業株式会社
画像読取装置
10日前
ブラザー工業株式会社
分別回収装置
9日前
ブラザー工業株式会社
画像形成装置
9日前
ブラザー工業株式会社
画像形成装置
10日前
ブラザー工業株式会社
画像形成装置
10日前
ブラザー工業株式会社
画像形成装置
10日前
ブラザー工業株式会社
静電塗工装置
9日前
続きを見る
他の特許を見る