TOP
|
特許
|
意匠
|
商標
特許ウォッチ
Twitter
他の特許を見る
10個以上の画像は省略されています。
公開番号
2025091901
公報種別
公開特許公報(A)
公開日
2025-06-19
出願番号
2023207434
出願日
2023-12-08
発明の名称
ボタン付け縫製装置
出願人
JUKI株式会社
代理人
個人
,
個人
主分類
D05B
3/14 20060101AFI20250612BHJP(縫製;刺しゅう;タフティング)
要約
【課題】糸浮かし部材の支持部と第一の把持部材との干渉を抑制する。
【解決手段】ボタン保持機構20に設けられ、糸浮かし部材31を支持すると共に棒状部311に沿って進退動作を付与する支持機構30と、糸浮かし部材31の進退動作方向に交差する方向に沿って被縫製物を搬送する搬送装置50とを備え、支持機構30は、ボタン保持機構20から糸浮かし部材31の進退動作方向に沿って延出されると共に縫い針11に対してボタン保持機構20とは逆側に回り込み、棒状部311の先端がボタン保持機構20側に延出されるように糸浮かし部材31を支持する支持部32を有し、搬送装置の第一の把持部材55の被縫製物を把持する先端部554と当該先端部から基端部側に延びる延出部553とを、被縫製物の把持状態において、糸浮かし部材31の支持部32の下側を通過可能な高さとした。
【選択図】図3
特許請求の範囲
【請求項1】
ボタンを保持するボタン保持機構と、
縫い針の上下動によって前記ボタンを被縫製物に縫い付ける針上下動機構と、
前記ボタンの穴に前記縫い針を通すために前記ボタン保持機構に保持された前記ボタンと前記縫い針とを相対的に移動させる移動機構と、
前記ボタン保持機構に保持された前記ボタンの上で、穴と穴との間に配置されて前記被縫製物に縫い付けられた前記ボタンの縫い糸に余長を与える棒状部を有する糸浮かし部材と、
前記ボタン保持機構に設けられ、前記糸浮かし部材を支持すると共に前記棒状部に沿って進退動作を付与する支持機構と、
前記糸浮かし部材の進退動作方向に交差する方向に沿って前記被縫製物を搬送する搬送装置とを備え、
前記支持機構は、前記ボタン保持機構から前記糸浮かし部材の進退動作方向に沿って延出されると共に前記縫い針に対して前記ボタン保持機構とは逆側に回り込み、前記棒状部の先端が前記ボタン保持機構側に延出されるように前記糸浮かし部材を支持する支持部を有し、
前記搬送装置は、
前記被縫製物を搬送する方向における一方と他方とについてそれぞれ前記被縫製物を上から把持する第一の把持部材及び第二の把持部材を有し、
前記糸浮かし部材に対して前記支持部側となる前記第一の把持部材は、前記被縫製物を把持する先端部と当該先端部から基端部側に延びる延出部とが、前記被縫製物の把持状態において、前記糸浮かし部材の前記支持部の下側を通過可能な高さであることを特徴とするボタン付け縫製装置。
続きを表示(約 530 文字)
【請求項2】
前記搬送装置は、前記第一の把持部材の先端部が前記被縫製物を把持する高さと前記被縫製物から離隔した高さとに位置切り替え可能に前記第一の把持部材を支持することを特徴とする請求項1に記載のボタン付け縫製装置。
【請求項3】
前記搬送装置の動作制御を行う制御装置を備え、
前記制御装置は、前記第一の把持部材の先端部が前記被縫製物を把持する高さを維持して前記搬送装置の原点検索を行うことを特徴とする請求項1又は請求項2に記載のボタン付け縫製装置。
【請求項4】
前記搬送装置の動作制御を行う制御装置と、
縫製の開始前に前記第一の把持部材及び前記第二の把持部材に対する前記被縫製物の取り付け作業を行う際の、前記第一の把持部材及び前記第二の把持部材の前記搬送装置による被縫製物の搬送方向における取り付け作業位置を設定する入力部とを備え、
前記制御装置は、前記入力部から設定された前記搬送方向における位置に前記第一の把持部材及び前記第二の把持部材を搬送し、前記第一の把持部材及び前記第二の把持部材に対する前記被縫製物の取り付け作業を可能とすることを特徴とする請求項1又は請求項2に記載のボタン付け縫製装置。
発明の詳細な説明
【技術分野】
【0001】
本発明は、ボタン付け縫製装置に関する。
続きを表示(約 2,600 文字)
【背景技術】
【0002】
従来のボタン付けミシンは、被縫製物の上でボタンを保持する保持機構と、保持機構を縫い針に対して前後左右に移動させることで各ボタン穴に縫い針を針落ちさせる移動機構と、保持されているボタンの上側に配置される棒状の糸浮かし部材とを備えている(例えば、特許文献1参照)。
このボタン付けミシンでは、ボタン穴から他のボタン穴に縫い針が相対的に移動する際に、ボタン穴から他のボタン穴に渡る縫い糸が棒状の糸浮かし部材を経由するように縫い付けを行わせることで、ボタンを縫い付ける縫い糸に余長を持たせている。
これにより、縫い付け後のボタンが縫い糸に締め付けられ過ぎて掛け合わせることができない等のような事態を回避し、適度に取り扱いができるようにボタンの縫い付けを行っている。
【先行技術文献】
【特許文献】
【0003】
特開2002-360962号公報
【発明の概要】
【発明が解決しようとする課題】
【0004】
ところで、上記ボタン付けミシンを被縫製物の搬送装置と組み合わせて、ある程度の長さを有する被縫製物、例えば、シャツの身頃生地の前立て等に沿って複数のボタンを一列に縫い付けるボタン付け縫製装置の開発が行われている。
このようなボタン付け縫製装置において、糸浮かし部材の支持機構は、縫い付け後に被縫製物の搬送を行う前に縫い糸から糸浮かし部材を引き抜く動作を行う必要があるが、針棒に対するミシンの懐側(立胴部側、以下、奥側とする)は、ボタン付け縫製を行うための構成が密集しているため、逆方向(以下、手前側とする)に移動させて引き抜く必要がある。
一方、糸浮かし部材は、保持されたボタンと一体となって動作しながら縫製が行う必要があるため、ボタンを保持する保持機構の土台に糸浮かし部材の支持機構を搭載する必要がある。
従って、支持機構は、糸浮かし部材を支持する支持部材を土台から針棒を避けてその側方を通り、針棒よりも手前側となる遠方まで延出し、当該遠方となる位置から折り返すように糸浮かし部材を奥側に向けて配置する必要があった。
糸浮かし部材の支持部材をこのような配置とすることにより、構成が密集する針棒の周囲を避けることができ、且つ、糸浮かし部材を手前側に引き抜く動作を行うことが可能となる。
【0005】
ところで、ボタン付け縫製装置の搬送機構は、被縫製物の一端部と他端部とを個別に把持部材によって上から把持して搬送を行う。
この搬送機構では、ボタンが被縫製物の一端部近傍に縫い付けられる場合、当該被縫製物の一端部を把持する把持部材が糸浮かせの支持部材と干渉するという問題が生じていた。
【0006】
本発明は、糸浮かせ部材と把持部材の干渉を抑制することをその目的とする。
【課題を解決するための手段】
【0007】
本発明は、ボタン付け縫製装置において、
ボタンを保持するボタン保持機構と、
縫い針の上下動によって前記ボタンを被縫製物に縫い付ける針上下動機構と、
前記ボタンの穴に前記縫い針を通すために前記ボタン保持機構と前記縫い針とを相対的に移動させる移動機構と、
前記ボタン保持機構に保持された前記ボタンの上で、穴と穴との間に配置されて前記被縫製物に縫い付けられた前記ボタンの縫い糸に余長を与える棒状部を有する糸浮かし部材と、
前記ボタン保持機構に設けられ、前記糸浮かし部材を支持すると共に前記棒状部に沿って進退動作を付与する支持機構と、
前記糸浮かし部材の進退動作方向に交差する方向に沿って前記被縫製物を搬送する搬送装置とを備え、
前記支持機構は、前記ボタン保持機構から前記糸浮かし部材の進退動作方向に沿って延出されると共に前記縫い針に対して前記ボタン保持機構とは逆側に回り込み、前記棒状部の先端が前記ボタン保持機構側に延出されるように前記糸浮かし部材を支持する支持部を有し、
前記搬送装置は、
前記被縫製物を搬送する方向における一方と他方とについてそれぞれ前記被縫製物を上から把持する第一の把持部材及び第二の把持部材を有し、
前記糸浮かし部材に対して前記支持部側となる前記第一の把持部材は、前記被縫製物を把持する先端部と当該先端部から基端部側に延びる延出部とが、前記被縫製物の把持状態において、前記糸浮かし部材の前記支持部の下側を通過可能な高さであることを特徴とする。
【発明の効果】
【0008】
本発明のミシンは、糸浮かせ部材と把持部材の干渉を抑制することが可能となる。
【図面の簡単な説明】
【0009】
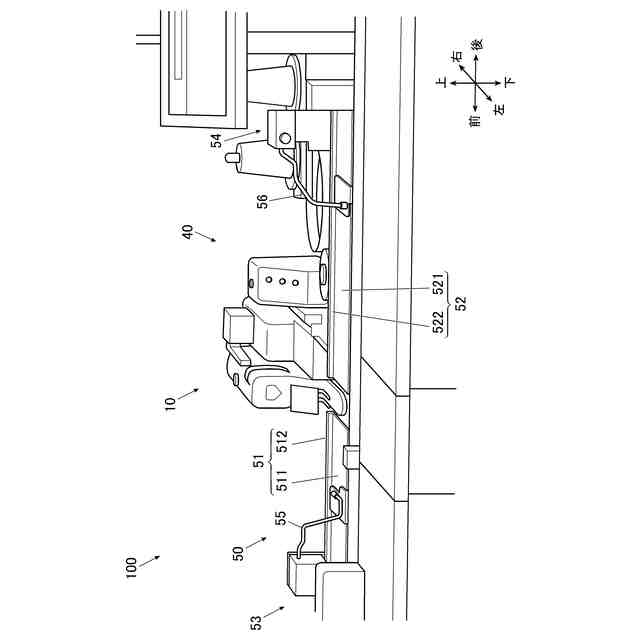
発明の実施形態であるボタン付け縫製装置の斜視図である。
ミシンの斜視図である。
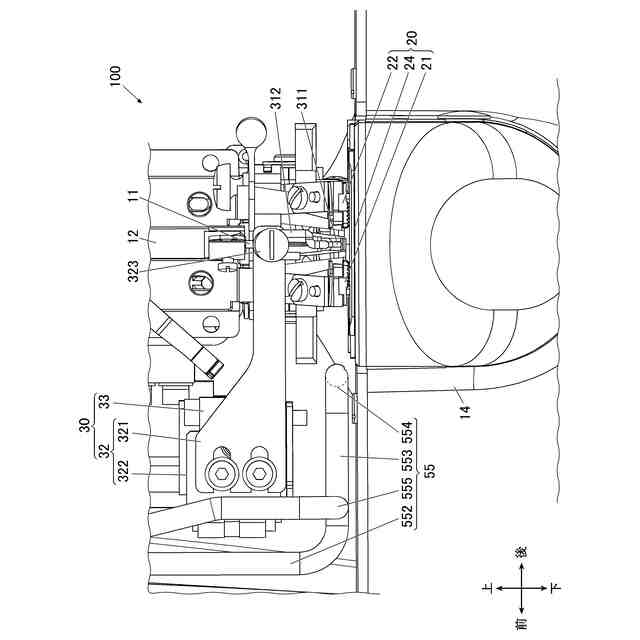
ミシンを左方から見た図である。
搬送装置の第一ヘッドの左側面図である。
搬送駆動機構の斜視図である。
ボタン付け縫製装置の制御系を示すブロック図である。
第一ヘッドが針落ち位置である針穴に最も接近した搬送機構の可動範囲の後端に移動した状態を示す平面図である。
設定入力装置の表示部に表示されるボタン付け縫製動作の各種のパラメータを設定する設定画面を示す図である。
ボタン付け縫製装置のCPUが実行するボタン縫着縫製動作のフローチャートである。
【発明を実施するための形態】
【0010】
[発明の実施形態の概要]
以下、本発明の実施形態であるボタン付け縫製装置100について詳細に説明する。
図1はボタン付け縫製装置100の斜視図である。
ボタン付け縫製装置100は、被縫製物にボタンの縫着を行うミシン10と、ミシン10にボタンを供給するボタン供給装置40と、ミシン10に対して被縫製物を搬送する搬送装置50と、全体を制御する制御装置90(図6参照)とを有する。
ボタン付け縫製装置100では、搬送装置50の搬送経路の中間部にミシン10が配置されており、ボタン供給装置40は、ミシン10に隣接して配置されている。
(【0011】以降は省略されています)
この特許をJ-PlatPat(特許庁公式サイト)で参照する
関連特許
JUKI株式会社
ミシン
2か月前
JUKI株式会社
ミシン
15日前
JUKI株式会社
ミシン
22日前
JUKI株式会社
ゴム繋ぎ装置
16日前
JUKI株式会社
差動送りミシン
22日前
JUKI株式会社
ミシンの布押え
4日前
JUKI株式会社
ボンディング装置
3か月前
JUKI株式会社
ボンディング装置
3か月前
JUKI株式会社
縫製管理システム
2か月前
JUKI株式会社
取得装置及び二本針ミシン
9日前
JUKI株式会社
実装装置及び実装装置の制御方法
2か月前
JUKI株式会社
3次元実装装置及び3次元実装方法
3か月前
JUKI株式会社
3次元実装装置及び3次元実装方法
3か月前
JUKI株式会社
3次元実装装置及び3次元実装方法
3か月前
JUKI株式会社
生産システム、管理装置及び管理方法
3か月前
JUKI株式会社
部品実装装置及びオフセット情報取得方法
1日前
JUKI株式会社
3次元計測装置、部品実装装置、及び3次元計測方法
15日前
JUKI株式会社
3次元計測装置、部品実装装置、及び3次元計測方法
15日前
JUKI株式会社
3次元計測装置、部品実装装置、及び3次元計測方法
11日前
JUKI株式会社
検査装置、サービス提供方法及び検査プログラムの提供方法
2か月前
株式会社バルダン
ミシン
11日前
JUKI株式会社
ミシン
3か月前
JUKI株式会社
ミシン
4か月前
ブラザー工業株式会社
ミシン
15日前
ブラザー工業株式会社
ミシン
15日前
ブラザー工業株式会社
ミシン
4か月前
ブラザー工業株式会社
ボビン
17日前
ブラザー工業株式会社
ミシン
3か月前
個人
縫製方法
2か月前
ブラザー工業株式会社
縫製装置
17日前
個人
ニードルパンチ針を使用した仮留め器具
2日前
JUKI株式会社
差動送りミシン
4か月前
ブラザー工業株式会社
糸巻回装置
17日前
ブラザー工業株式会社
糸巻回装置
17日前
JUKI株式会社
上下送りミシン
3か月前
JUKI株式会社
ミシンの布押え
4日前
続きを見る
他の特許を見る