TOP
|
特許
|
意匠
|
商標
特許ウォッチ
Twitter
他の特許を見る
10個以上の画像は省略されています。
公開番号
2025105059
公報種別
公開特許公報(A)
公開日
2025-07-10
出願番号
2023223345
出願日
2023-12-28
発明の名称
ボンディング装置
出願人
JUKI株式会社
代理人
弁理士法人酒井国際特許事務所
主分類
A41H
43/04 20060101AFI20250703BHJP(衣類)
要約
【課題】接着剤の塗布ムラを抑制すること。
【解決手段】ボンディング装置は、基材テープを搬送するテープ搬送装置と、接着剤を吐出する吐出口を有する塗布ノズルを有し、基材テープが正方向に搬送されている状態で、基材テープの塗布面に接着剤を塗布して接着テープを生成する接着剤塗布装置と、接着テープが正方向に搬送されている状態で、接着テープとシートとを押圧する第1圧着ローラ及び第2圧着ローラと、接着テープが第1圧着ローラと第2圧着ローラとの間に進入する前に接着テープを加熱する加熱装置と、を有し、接着テープと前記シートとを接合する圧着装置と、テープ搬送装置、接着剤塗布装置、及び圧着装置を制御する制御信号を出力するコントローラと、を備える。コントローラは、テープ搬送装置、接着剤塗布装置、及び圧着装置のそれぞれの駆動を停止させ、基材テープが逆方向に所定距離だけ移動するようにテープ搬送装置を駆動させた後、テープ搬送装置の駆動を停止させる。
【選択図】図22
特許請求の範囲
【請求項1】
基材テープを搬送するテープ搬送装置と、
接着剤を吐出する吐出口を有する塗布ノズルを有し、前記基材テープが正方向に搬送されている状態で、前記基材テープの塗布面に接着剤を塗布して接着テープを生成する接着剤塗布装置と、
前記接着テープが正方向に搬送されている状態で、前記接着テープとシートとを押圧する第1圧着ローラ及び第2圧着ローラと、前記接着テープが前記第1圧着ローラと前記第2圧着ローラとの間に進入する前に前記接着テープを加熱する加熱装置と、を有し、前記接着テープと前記シートとを接合する圧着装置と、
前記テープ搬送装置、前記接着剤塗布装置、及び前記圧着装置を制御する制御信号を出力するコントローラと、を備え、
前記コントローラは、前記テープ搬送装置、前記接着剤塗布装置、及び前記圧着装置のそれぞれの駆動を停止させ、前記基材テープが逆方向に所定距離だけ移動するように前記テープ搬送装置を駆動させた後、前記テープ搬送装置の駆動を停止させる、
ボンディング装置。
続きを表示(約 950 文字)
【請求項2】
前記接着剤塗布装置は、接着剤が前記塗布ノズルに供給されるように駆動するポンプを有し、
前記接着剤塗布装置の駆動を停止させることは、前記ポンプの駆動を停止させることを含み、
前記所定距離は、前記接着剤塗布装置の駆動を停止させた後、前記塗布ノズルの内部流路に残留している接着剤に起因して前記接着テープに形成された前記接着剤の液溜まりが前記塗布ノズルにより潰される距離である、
請求項1に記載のボンディング装置。
【請求項3】
前記テープ搬送装置は、前記接着テープに掛かるテンションを調整するテンション調整ローラを有し、
前記テンション調整ローラは、支持部材に揺動可能に支持され、
前記基材テープが逆方向に移動するように前記テープ搬送装置が駆動され、前記テープ搬送装置の駆動が停止された後、前記基材テープは、前記テンション調整ローラの揺動により、正方向に移動する、
請求項2に記載のボンディング装置。
【請求項4】
前記テープ搬送装置は、前記基材テープを支持する従動ローラと、前記基材テープの搬送経路において前記従動ローラよりも下流側に配置され、前記基材テープが正方向に搬送されるように正回転する下流側駆動ローラと、を有し、
前記基材テープは、前記従動ローラと前記下流側駆動ローラとの間において前記塗布面が上方を向くように、前記従動ローラ及び前記駆動ローラのそれぞれに支持され、
前記塗布ノズルは、前記塗布面の上方から前記塗布面に前記接着剤を塗布する、
請求項1に記載のボンディング装置。
【請求項5】
前記テープ搬送装置は、前記基材テープの搬送経路において前記塗布ノズルよりも上流側に配置され、前記基材テープが正方向に搬送されるように正回転する上流側駆動ローラを有し、
前記基材テープを逆方向に移動させることは、前記下流側駆動ローラを停止させた状態で、前記上流側駆動ローラを逆回転させることを含む、
請求項4に記載のボンディング装置。
【請求項6】
前記シートは、衣類に用いられる、
請求項1に記載のボンディング装置。
発明の詳細な説明
【技術分野】
【0001】
本明細書で開示する技術は、ボンディング装置に関する。
続きを表示(約 2,000 文字)
【背景技術】
【0002】
縫製物の製造装置に係る技術分野において、特許文献1に開示されているような、接着テープを加熱してシートに接着させるボンディング装置が知られている。ボンディング装置は、熱風を噴射するノズルと、熱風で加熱された接着テープとシートとを接合する一対のローラとを備える。
【先行技術文献】
【特許文献】
【0003】
特開2017-203224号公報
【発明の概要】
【発明が解決しようとする課題】
【0004】
接着テープは、基材テープと、基材テープに塗布される接着剤とを有する。接着剤の塗布ムラを抑制する技術が要望される。
【0005】
本明細書で開示する技術は、接着剤の塗布ムラを抑制することを目的とする。
【課題を解決するための手段】
【0006】
本明細書は、ボンディング装置を開示する。ボンディング装置は、基材テープを搬送するテープ搬送装置と、接着剤を吐出する吐出口を有する塗布ノズルを有し、基材テープが正方向に搬送されている状態で、基材テープの塗布面に接着剤を塗布して接着テープを生成する接着剤塗布装置と、接着テープが正方向に搬送されている状態で、接着テープとシートとを押圧する第1圧着ローラ及び第2圧着ローラと、接着テープが第1圧着ローラと第2圧着ローラとの間に進入する前に接着テープを加熱する加熱装置と、を有し、接着テープと前記シートとを接合する圧着装置と、テープ搬送装置、接着剤塗布装置、及び圧着装置を制御する制御信号を出力するコントローラと、を備える。コントローラは、テープ搬送装置、接着剤塗布装置、及び圧着装置のそれぞれの駆動を停止させ、基材テープが逆方向に所定距離だけ移動するようにテープ搬送装置を駆動させた後、テープ搬送装置の駆動を停止させる。
【発明の効果】
【0007】
本明細書で開示する技術によれば、接着剤の塗布ムラが抑制される。
【図面の簡単な説明】
【0008】
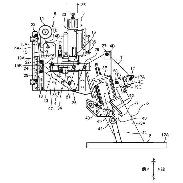
図1は、第1実施形態に係るボンディング装置を左後方から見た図である。
図2は、第1実施形態に係るボンディング装置を後方から見た図である。
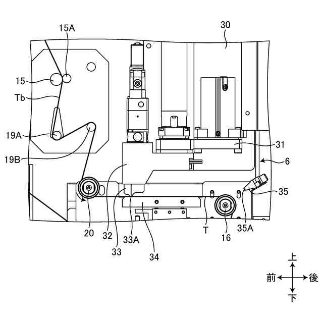
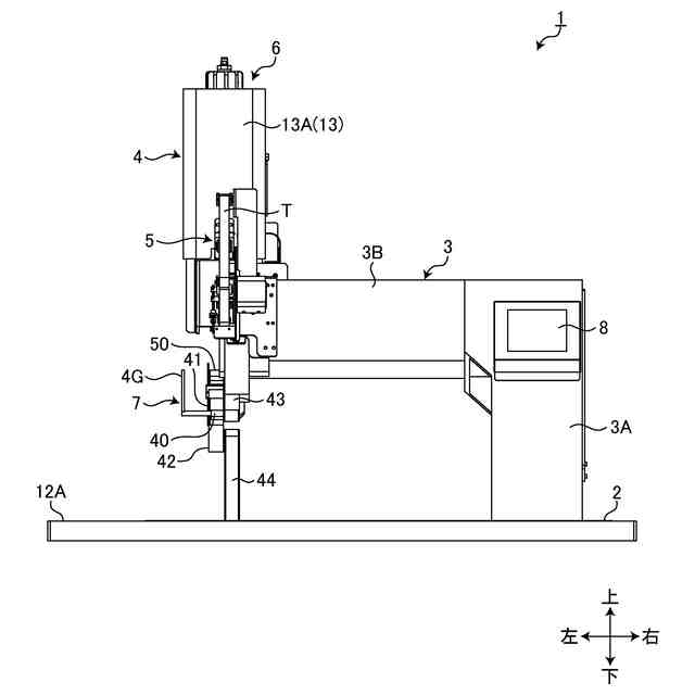
図3は、第1実施形態に係るボンディング装置を左方から見た図である。
図4は、第1実施形態に係るボンディング装置を示すブロック図である。
図5は、第1実施形態に係る接着テープ及びシートを模式的に示す側面図である。
図6は、第1実施形態に係る接着テープ及びシートを模式的に示す平面図である。
図7は、第1実施形態に係るボンディング装置を左方から見た図である。
図8は、第1実施形態に係るボンディング装置を左前方から見た図である。
図9は、第1実施形態に係る接着剤塗布装置を左方から見た図である。
図10は、第1実施形態に係る接着剤塗布装置を左前方から見た図である。
図11は、第1実施形態に係るポンプを左前方から見た図である。
図12は、第1実施形態に係る圧着装置を左方から見た図である。
図13は、第1実施形態に係る圧着装置を左後方から見た図である。
図14は、第1実施形態に係る圧着装置を左前方から見た図である。
図15は、第1実施形態に係る冷却装置を左前方から見た図である。
図16は、第1実施形態に係る冷却装置を下後方から見た図である。
図17は、第1実施形態に係る冷却装置を下後方から見た図である。
図18は、第1実施形態に係るボンディング装置の動作を示すフローチャートである。
図19は、第1実施形態に係る接着剤塗布装置の動作を説明するための図である。
図20は、第1実施形態に係る圧着装置の動作を説明するための図である。
図21は、第1実施形態に係る圧着装置の動作を説明するための図である。
図22は、第1実施形態に係るテープ搬送装置の動作を説明するための図である。
図23は、第2実施形態に係る冷却装置を左方から見た図である。
図24は、第3実施形態に係る支持プレートを左前方から見た図である。
図25は、第4実施形態に係る従動ローラを左前方から見た図である。
【発明を実施するための形態】
【0009】
以下、実施形態について図面を参照しながら説明する。実施形態においては、左、右、前、後、上、及び下の用語を用いて各部の位置関係について説明する。これらの用語は、ボンディング装置1の中心を基準とした相対位置又は方向を示す。
【0010】
[第1実施形態]
第1実施形態について説明する。
(【0011】以降は省略されています)
この特許をJ-PlatPat(特許庁公式サイト)で参照する
関連特許
JUKI株式会社
ミシン
22日前
JUKI株式会社
ミシン
15日前
JUKI株式会社
ミシン
2か月前
JUKI株式会社
ゴム繋ぎ装置
16日前
JUKI株式会社
差動送りミシン
22日前
JUKI株式会社
ミシンの布押え
4日前
JUKI株式会社
縫製管理システム
2か月前
JUKI株式会社
ボンディング装置
3か月前
JUKI株式会社
ボンディング装置
3か月前
JUKI株式会社
取得装置及び二本針ミシン
9日前
JUKI株式会社
実装装置及び実装装置の制御方法
2か月前
JUKI株式会社
3次元実装装置及び3次元実装方法
3か月前
JUKI株式会社
3次元実装装置及び3次元実装方法
3か月前
JUKI株式会社
3次元実装装置及び3次元実装方法
3か月前
JUKI株式会社
部品実装装置及びオフセット情報取得方法
1日前
JUKI株式会社
3次元計測装置、部品実装装置、及び3次元計測方法
15日前
JUKI株式会社
3次元計測装置、部品実装装置、及び3次元計測方法
15日前
JUKI株式会社
3次元計測装置、部品実装装置、及び3次元計測方法
11日前
JUKI株式会社
検査装置、サービス提供方法及び検査プログラムの提供方法
2か月前
個人
衿芯
3か月前
個人
和服
5か月前
個人
シャツ
1か月前
個人
二部式袍
9か月前
個人
ネクタイ
1か月前
個人
靴下
10か月前
個人
衣装
6か月前
個人
下着
4か月前
個人
多機能装身具
1か月前
個人
簡単帯
10か月前
個人
マスク
1か月前
個人
マスク装着具
11か月前
個人
:マスクカバー
2か月前
個人
ボクサーパンツ
11か月前
東レ株式会社
防護服
18日前
個人
手首穴付き手袋
11か月前
個人
シャツ改造方法
6か月前
続きを見る
他の特許を見る