TOP
|
特許
|
意匠
|
商標
特許ウォッチ
Twitter
他の特許を見る
10個以上の画像は省略されています。
公開番号
2025095849
公報種別
公開特許公報(A)
公開日
2025-06-26
出願番号
2023212180
出願日
2023-12-15
発明の名称
減圧乾燥装置
出願人
株式会社SCREENホールディングス
代理人
個人
,
個人
主分類
F26B
5/04 20060101AFI20250619BHJP(乾燥)
要約
【課題】減圧乾燥時ギャップを基板面内で均一化して塗布膜の乾燥ムラの発生を抑制する。
【解決手段】減圧乾燥装置では、複数の押えピンがカバー部の天井面から基板に向かって天板部の貫通孔を介して吊り下げられている。そして、カバー部の下降により、カバー部の下面がベース部の上面に密着して処理空間が形成されるとともに、押えピンが基板の一方主面の周縁領域に当接して基板の反りを矯正する。そして、押えピンによる反りを矯正したまま、基板支持部に支持された基板の上面に対して天板部の対向面が対向する。したがって、矯正された基板の上面と、対向面との距離(減圧乾燥時ギャップ)を基板面内において均一化することができる。
【選択図】図1
特許請求の範囲
【請求項1】
基板の一方主面の中央領域に形成された塗布膜を乾燥させる減圧乾燥装置であって、
ベース部と、前記ベース部の上方にて昇降可能に設けられたカバー部とを有し、前記カバー部の下面が前記ベース部の上面に密着することで、前記基板を収容可能な処理空間が形成されるチャンバ-と、
前記処理空間内で、前記塗布膜を上方に向けた姿勢で前記基板を支持する基板支持部と、
前記カバー部の天井面から前記基板支持部で支持された前記基板に向かって吊り下げられた複数の押えピンと、
前記処理空間を排気する排気部と、
前記基板支持部に支持された前記基板の上面に対向する対向面と、前記押えピンを挿通するために設けられた貫通孔とを有する天板部と、
前記処理空間内で、前記基板支持部に支持された前記基板の上面に前記対向面が接近する下方位置および前記下方位置よりも上方の上方位置の間で前記天板部を昇降させる天板昇降部と、
前記複数の押えピンを吊り下げた状態のまま前記カバー部を前記ベース部に対して相対的に昇降させるチャンバ駆動部と、
前記チャンバ駆動部により前記カバー部の下面が前記ベース部の上面に密着したときに、前記複数の押えピンが前記一方主面の周縁領域に当接することを特徴とする減圧乾燥装置。
続きを表示(約 1,600 文字)
【請求項2】
請求項1に記載の減圧乾燥装置であって、
前記天板部は、
前記天板昇降部に連結された上方天板と、
前記対向面を有し、前記上方天板の下方に配置された下方天板と、
前記下方天板の面内において互いに異なる位置で、前記上方天板と前記下方天板とを連結する複数の連結部材と、を有し、
前記複数の連結部材のうちの少なくとも一部は、前記上方天板と前記下方天板との間隔を調整可能となっている、減圧乾燥装置。
【請求項3】
請求項2に記載の減圧乾燥装置であって、
前記天板部を上方から見たとき、前記複数の連結部材は前記基板支持部に支持された前記基板よりも外側に位置している、減圧乾燥装置。
【請求項4】
請求項1に記載の減圧乾燥装置であって、
前記天板部は下方天板のみで構成され、
前記下方天板の下面が前記対向面として機能するとともに、前記下方天板の上面が前記天板昇降部に連結されている、減圧乾燥装置。
【請求項5】
請求項2ないし4のいずれか一項に記載の減圧乾燥装置であって、
前記複数の押えピンは前記カバー部に対して着脱自在である、減圧乾燥装置。
【請求項6】
請求項2ないし4のいずれか一項に記載の減圧乾燥装置であって、
前記天板部に設けられた前記貫通孔とは別の貫通孔を介して前記基板支持部で支持された前記基板の端面に向かって前記天井面から吊り下げられた複数のアライメントピンをさらに備え、
前記天井面から下方への突出量について、前記アライメントピンが前記押えピンよりも長く、
前記チャンバ駆動部による前記カバー部の下降時に、前記押えピンに先立って前記アライメントピンの先端部が前記基板の端面と係合することで水平面内において前記基板の位置を調整する、減圧乾燥装置。
【請求項7】
請求項2ないし4のいずれか一項に記載の減圧乾燥装置であって、
前記基板支持部で支持された前記基板の端面に向かって前記対向面から吊り下げられた複数のアライメントピンをさらに備え、
前記対向面から下方への突出量について、前記アライメントピンが前記押えピンよりも長く、
前記チャンバ駆動部による前記カバー部および前記天板部の一体的な下降時に、前記一方主面の周縁領域への前記押えピンの当接に先立って前記アライメントピンの先端部が前記基板の端面と係合することで水平面内において前記基板の位置を調整する、減圧乾燥装置。
【請求項8】
請求項2ないし4のいずれか一項に記載の減圧乾燥装置であって、
前記チャンバ駆動部、前記天板昇降部および前記排気部を制御する制御部をさらに備え、
前記制御部は、
前記カバー部の下面が前記ベース部の上面に密着するとともに前記一方主面の周縁領域が前記複数の押えピンと当接するように前記チャンバ駆動部を制御した後で、前記処理空間からの単位時間当たりの排気量が第1排気量となるように前記排気部を制御しながら、第1所定時間だけ前記塗布膜に対する減圧乾燥を継続させる初期減圧乾燥処理と、
前記初期減圧乾燥処理後に、前記天板部が前記上方位置に上昇するように前記天板昇降部を制御する天板上昇処理と、前記処理空間からの単位時間当たりの排気量が前記第1排気量よりも多い第2排気量となるように前記排気部を制御しながら第2所定時間だけ前記塗布膜に対する減圧乾燥を継続させるメイン減圧乾燥処理と、
を実行する、減圧乾燥装置。
【請求項9】
請求項8に記載の減圧乾燥装置であって、
前記制御部は、前記天板上昇処理後に、前記メイン減圧乾燥処理を実行する、減圧乾燥装置。
発明の詳細な説明
【技術分野】
【0001】
この発明は、基板に形成された塗布膜を乾燥させる減圧乾燥装置に関するものである。
続きを表示(約 2,700 文字)
【背景技術】
【0002】
半導体デバイスの製造プロセスのひとつとして、基板表面に塗布液を塗布して塗布膜を形成し、これを乾燥させることで基板表面にレジスト膜や保護膜等の機能膜を形成する処理がある。また、近年、半導体装置の分野では、装置の小型・薄型化の要求が非常に高まっている。このような要求を満たすため、基板を用いて半導体パッケージを製造するパネルレベルのファンアウトパッケージング技術(FOPLP)が注目されている。FOPLP技術を用いて半導体パッケージを製造する際にも、基板に対して露光現像工程を施す前に、基板表面に塗布された塗布膜が乾燥される。このような乾燥処理を実行する装置として、例えば特許文献1に記載されているように、塗布膜が形成された基板の周囲空間を減圧して溶媒成分を揮発させる減圧乾燥装置が基板処理装置の一例として用いられている。この装置では、基板が基板載置ステージの上面に載置されるとともに、当該基板の上方位置に整流板が配置されている。この整流板の下面(本発明の「天板部の対向面」に相当)から基板の上面(基板表面)までの距離(以下「減圧乾燥時ギャップ」という)を制御することで、基板に形成された塗布膜からの溶媒成分の蒸発速度が基板面内において均一に調整される。
【先行技術文献】
【特許文献】
【0003】
特開2022-38284号公報
【発明の概要】
【発明が解決しようとする課題】
【0004】
ここで、半導体パッケージ用基板の材質などの影響により反りが大きくなる傾向にある。そのため、基板載置ステージに基板を載置した際に、基板の周縁部が中央部よりも上方に位置した姿勢となることがあった。また、それ以外の基板においても、このような反りが問題視されるようになっている。これら基板の反りにより、基板面内において、減圧乾燥時ギャップは不均一になる。その結果、塗布膜の乾燥ムラが発生してしまう。
【0005】
この発明は上記課題に鑑みなされたものであり、減圧乾燥時ギャップを基板面内で均一化して塗布膜の乾燥ムラの発生を抑制することができる、減圧乾燥装置を提供することを目的とする。
【課題を解決するための手段】
【0006】
この発明の一態様は、基板の一方主面の中央領域に形成された塗布膜を乾燥させる減圧乾燥装置であって、ベース部と、ベース部の上方にて昇降可能に設けられたカバー部とを有し、カバー部の下面がベース部の上面に密着することで、基板を収容可能な処理空間が形成されるチャンバ-と、処理空間内で、塗布膜を上方に向けた姿勢で基板を支持する基板支持部と、カバー部の天井面から基板支持部で支持された基板に向かって吊り下げられた複数の押えピンと、処理空間を排気する排気部と、基板支持部に支持された基板の上面に対向する対向面と、押えピンを挿通するために設けられた貫通孔とを有する天板部と、処理空間内で、基板支持部に支持された基板の上面に対向面が接近する下方位置および下方位置よりも上方の上方位置の間で天板部を昇降させる天板昇降部と、複数の押えピンを吊り下げた状態のままカバー部をベース部に対して相対的に昇降させるチャンバ駆動部と、チャンバ駆動部によりカバー部の下面がベース部の上面に密着したときに、複数の押えピンが一方主面の周縁領域に当接することを特徴としている。
【0007】
この発明では、天板部は基板支持部に支持された基板の上面に対向する対向面を有している。このため、当該対向面から基板の上面までの距離、つまり減圧乾燥時ギャップを制御することで、基板に形成された塗布膜からの溶媒の蒸発速度を制御することができる。ここで、基板の周縁部が上方に反っている場合、基板面内での減圧乾燥時ギャップが不均一になる。そこで、本発明では、複数の押えピンがカバー部の天井面から基板に向かって天板部の貫通孔を介して吊り下げられている。そして、カバー部の下降により、カバー部の下面がベース部の上面に密着して処理空間が形成されるとともに、押えピンが基板の一方主面の周縁領域に当接して基板の反りを矯正する。
【発明の効果】
【0008】
以上のように、本発明では、カバー部の下面とベース部の上面が相互に密着して処理空間が形成されたときに、当該カバー部の天井面から吊り下げられた複数の押えピンにより基板の反りを矯正するように、構成されている。したがって、矯正された基板の上面と、対向面との距離(減圧乾燥時ギャップ)を基板面内において均一化することができる。
【図面の簡単な説明】
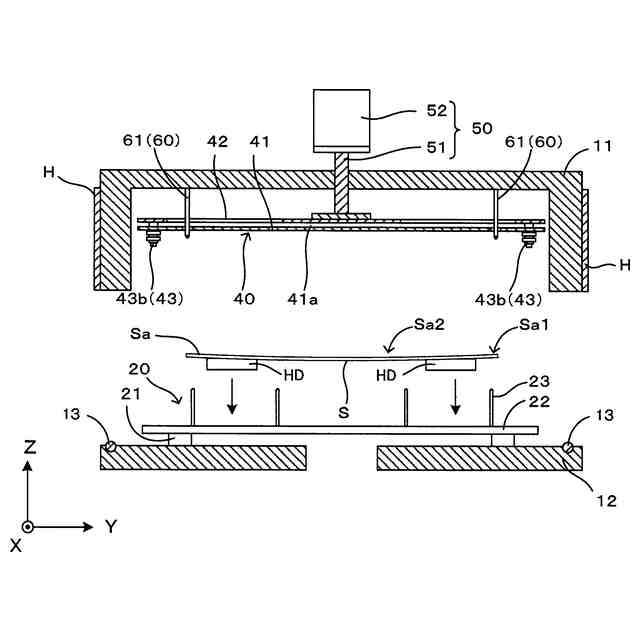
【0009】
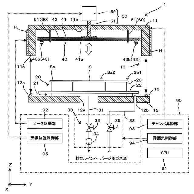
本発明に係る減圧乾燥装置の第1実施形態を示す図である。
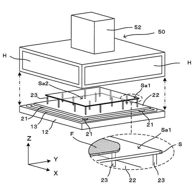
図1に示す減圧乾燥装置におけるチャンバと基板支持部との配置関係を示す斜視図である。
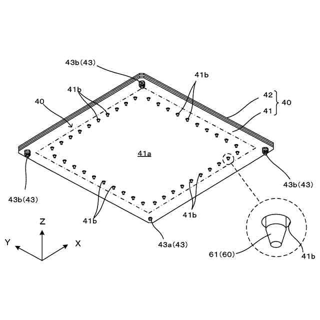
天板部、押えピンおよび基板を斜め上方から見た斜視図である。
天板部および押えピンを斜め下方から見た斜視図である。
天板部の構成および調整動作を示す側断面図である。
本発明に係る減圧乾燥装置による減圧乾燥動作を示すフローチャートである。
図1に示す減圧乾燥装置における基板の搬入動作を示す図である。
図1に示す減圧乾燥装置におけるチャンバ閉成および基板矯正動作を示す図である。
図1に示す減圧乾燥装置における初期減圧乾燥動作を示す図である。
図1に示す減圧乾燥装置におけるメイン減圧乾燥動作を示す図である。
本発明に係る減圧乾燥装置の第2実施形態において天板部を斜め上方から見た斜視図である。
本発明に係る減圧乾燥装置の第2実施形態において天板部を斜め下方から見た平面図である。
本発明に係る減圧乾燥装置の第3実施形態の一部を示す図である。
【発明を実施するための形態】
【0010】
図1は本発明に係る減圧乾燥装置の第1実施形態を示す図である。より具体的には、図1は本発明の第1実施形態である減圧乾燥装置1の主要部の構成を示す断面図と、それらに対する制御系のブロック図とを組み合わせた図である。なお、以下の各図において装置各部の配置関係を明確にするために、図1に示すように右手系XYZ直交座標を設定する。この座標系で示されるXY平面が水平方向を表し、Z方向が鉛直方向を表す。特に(-Z)方向が鉛直下向き方向を表す。
(【0011】以降は省略されています)
この特許をJ-PlatPat(特許庁公式サイト)で参照する
関連特許
個人
ハンディ傘乾燥丸め器
27日前
株式会社サタケ
循環式穀物乾燥機
10日前
株式会社ダイソー
乾熱減容処理装置
1か月前
株式会社チノー
乾燥システム
2か月前
株式会社クレブ
ブーツ乾燥装置
7か月前
東レ株式会社
塗膜付きシートの加熱装置
4か月前
東レエンジニアリング株式会社
乾燥装置
1か月前
エイ・エス・デイ株式会社
乾燥装置
2か月前
株式会社ヨシカワ
乾燥装置
1か月前
大東電子株式会社
傘水滴除去装置
8か月前
株式会社サタケ
穀物乾燥機
2か月前
クリーン・テクノロジー株式会社
乾燥装置
8か月前
クリーン・テクノロジー株式会社
乾燥装置
7か月前
株式会社ワカミヤ商会
乾燥装置
3か月前
高砂工業株式会社
凍結乾燥装置
6か月前
アントム株式会社
搬送式乾燥炉
5か月前
セイコーエプソン株式会社
乾燥機
4か月前
個人
常服乾燥装置
17日前
株式会社マクニカ
乾熱減容処理装置
1か月前
クリーン・テクノロジー株式会社
熱風式乾燥装置
7か月前
株式会社大川原製作所
乾燥システム
6か月前
株式会社大川原製作所
乾燥システム
6か月前
特殊電極株式会社
塗装乾燥装置および塗装乾燥方法
6か月前
株式会社アサヒテクノ
乾燥装置及び乾燥方法
4か月前
株式会社ショウワテクノ
コンテナ容器脱水装置
7か月前
カワサキ機工株式会社
ネット型乾燥装置
3か月前
京セラドキュメントソリューションズ株式会社
乾燥装置
7か月前
京セラドキュメントソリューションズ株式会社
乾燥装置
7か月前
三菱電機株式会社
浴室乾燥機
3か月前
セイコーエプソン株式会社
乾燥装置及び記録装置
1か月前
株式会社エコジニア
冷風乾燥機
1か月前
株式会社大気社
熱風発生装置
7か月前
株式会社リコー
加熱装置、画像形成装置及び液体吐出装置
6か月前
株式会社SCREENホールディングス
減圧乾燥装置
3か月前
矢崎総業株式会社
シャッター機構及び乾燥装置
1か月前
株式会社SCREENホールディングス
減圧乾燥装置
3か月前
続きを見る
他の特許を見る