TOP
|
特許
|
意匠
|
商標
特許ウォッチ
Twitter
他の特許を見る
公開番号
2025101871
公報種別
公開特許公報(A)
公開日
2025-07-08
出願番号
2023218944
出願日
2023-12-26
発明の名称
溶銑の予備処理方法
出願人
日本製鉄株式会社
代理人
個人
主分類
C21C
5/28 20060101AFI20250701BHJP(鉄冶金)
要約
【課題】脱P性と歩留ロス抑制との両立を安定して実現可能な溶銑の予備処理方法を提供する。
【解決手段】転炉型容器を用いた溶銑の予備処理方法であって、固酸以外の副原料の投入量に基づいて脱P処理後の溶銑温度を推定し、前記推定した溶銑温度に応じて、固酸の投入、ランス高さの調整、および酸素流量の調整の中の少なくとも1つを行うことにより、脱P処理後のスラグ中のFeO濃度および溶銑温度がそれぞれ設定値および設定温度に近づくように制御して吹錬を行う。
【選択図】図3
特許請求の範囲
【請求項1】
転炉型容器を用いた溶銑の予備処理方法であって、
固酸以外の副原料の投入量に基づいて脱P処理後の溶銑温度を推定し、
前記推定した溶銑温度に応じて、固酸の投入、ランス高さの調整、および酸素流量の調整の中の少なくとも1つを行うことにより、脱P処理後のスラグ中のFeO濃度および溶銑温度がそれぞれ設定値および設定温度に近づくように制御して吹錬を行うことを特徴とする溶銑の予備処理方法。
続きを表示(約 620 文字)
【請求項2】
前記推定した溶銑温度が前記設定温度よりも高い場合は、溶銑温度を前記設定温度とする固酸の投入量を計算し、前記計算した投入量での固酸の投入により推定される脱P処理後のスラグ中のFeO濃度が前記設定値に近づくように前記固酸の投入量の調整、またはランス高さの調整および酸素流量の調整の中の少なくとも1つを行い、
前記推定した溶銑温度が前記設定温度以下の場合は、ランス高さの調整および酸素流量の調整の中の少なくとも1つを行うことを特徴とする請求項1に記載の溶銑の予備処理方法。
【請求項3】
前記計算した投入量での固酸の投入により推定される脱P処理後のスラグ中のFeO濃度が前記設定値から所定値超小さい場合は、前記計算した投入量で固酸を投入するとともに、さらにランス高さの調整および酸素流量の調整の中の少なくとも1つを行い、
前記計算した投入量での固酸の投入により推定される脱P処理後のスラグ中のFeO濃度が前記設定値から所定値超大きい場合は、前記計算した固酸の投入量よりも少ない量で固酸を投入するように調整することを特徴とする請求項2に記載の溶銑の予備処理方法。
【請求項4】
前記推定した溶銑温度が前記設定温度以下の場合は、予め用意したランス高さの変化量とスラグ中のFeO濃度の変化量との関係に基づいて、ランス高さを調整することを特徴とする請求項2または3に記載の溶銑の予備処理方法。
発明の詳細な説明
【技術分野】
【0001】
本発明は、特に、脱P処理での脱P性および中間排滓による鉄分の歩留ロスの抑制を両立させた溶銑の予備処理方法に関する。
続きを表示(約 2,300 文字)
【背景技術】
【0002】
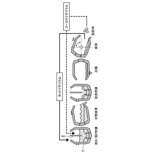
製鉄における製鋼工程では、精錬工程において高炉で鉄鉱石を還元して得られる溶銑中のC、Si、P、Sなどの不純物を除去して溶鋼とし、その後鋳造工程において溶鋼を鋳造することによってスラブ等を製造する。精錬工程では酸化還元反応により溶銑中から不純物をスラグまたはガスとして除去するが、近年ではスラグの発生量を削減したり、副原料の使用量を削減したりすることを目的として、転炉を用いた溶銑予備処理が行われている。溶銑予備処理では脱Si、脱P処理が転炉内にて行われ、脱P処理では以下の式(1)の反応により溶銑中のPが除去され、P
2
O
5
を含むスラグが生成される。一方で、脱P処理で生成したP
2
O
5
を含むスラグが、その後行われる脱C処理中に存在すると、脱C処理による溶銑温度の上昇と共にスラグ中のP
2
O
5
が分解し、再び溶銑中に復Pしてしまう。
2[P]+5(FeO)→(P
2
O
5
)+5[Fe] ・・・(1)
ここで、[ ]は溶鋼中であることを示し、( )はスラグ中であることを示す。
【0003】
復Pを回避するためには、スラグ中のP
2
O
5
をCaOと反応させて分解を防ぐ(スラグ中に固定する)ことが必要であり、脱C処理時に生石灰および石灰石などのCaO源を投入することが有効であるが、CaO源の使用量およびスラグの発生量の増加を招く。そこでCaO源の使用量を極力抑えるために、脱Si、脱P処理を行った後、かつ脱C処理を行う前に脱Si、脱P処理で生成したP
2
O
5
を含むスラグの排滓(中間排滓)が一般に行われる。
【0004】
さらに、脱P処理後の脱P量が不十分であると脱C処理でPの更なる除去にCaO源の添加が必要となるため、CaO源の使用量を抑えるためには、脱P反応に影響する溶銑予備処理時の溶銑温度の管理も重要である。脱P反応は熱力学的に低温ほど進行しやすいため、副原料の投入量などを調整して脱P処理中の溶銑温度を脱Pに適した温度とすることによって、脱P反応を効率よく進行させることができる。そして、処理後の溶銑温度が1300~1350℃程度になるようにして脱P反応をより進行させることで、溶銑中のP濃度を低く、即ちスラグ中のP
2
O
5
濃度を高くして中間排滓で炉外へ排出されるP
2
O
5
量を増加させ、脱C処理に持ち越されるP量を低減することができ、脱C処理で添加するCaO源の使用量を抑えることができる。
【0005】
また、式(1)からわかるように、脱P反応はスラグ中に存在するFeO量に影響されるため、上吹きランスや底吹きによる酸素の供給速度などを調整してFeOの生成量を制御したり酸化鉄源の供給量を制御したりしてスラグ中のFeO濃度を確保する必要がある。一方で、スラグは中間排滓にて系外へ排出されるため、FeO濃度が高すぎる場合は系外に排出されるFe分が多くなり鉄分の歩留低下の要因となる。したがって脱P処理では、処理後の溶銑温度とスラグ中のFeO濃度との調整により溶銑中のP濃度を低下させると同時に、スラグ中のFeO濃度が高くなり過ぎないようにすることが必要となる。
【0006】
脱P性と歩留ロス抑制とを両立させる技術として、特許文献1には、吹錬初期に上吹きランスの高さ、酸素ガス流量の調整によりFeOの生成を促進させ、吹錬末期に上吹きランス高さ、酸素ガス流量の調整によりFeOの還元を促進させる方法が開示されている。
【先行技術文献】
【特許文献】
【0007】
特開2006-152426号公報
【発明の概要】
【発明が解決しようとする課題】
【0008】
脱C処理でのCaO源の使用量を抑えるためには、中間排滓で排出するスラグ量(排滓性)をできるだけ多くすることも重要である。そのためには、脱P処理で供給する酸素と溶銑中のCとの脱C反応で生じるCOガスによってスラグをフォーミングさせ、スラグ体積を大きくすることが有効である。一方で、過剰にフォーミングした場合は吹錬中に転炉炉口からスラグが溢出したり、排滓中に炉前操業床へスラグが飛散したりしてしまうため、フォーミングしたスラグが転炉内で予め設定した所定の高さに到達した時点で脱P処理を終了させる必要がある。したがって、フォーミングのタイミングによって脱P処理時間が変わるため、脱P量やスラグ中のFeO濃度がばらつき、脱P不良、歩留ロスにつながる可能性がある。
【0009】
特許文献1に記載の方法では、脱P処理の終了タイミングは不明であり、過剰にフォーミングして脱P処理の終了が早い場合には目的値への調整が十分にできないと考えられる。特に、スラグ中のFeO濃度に関しては一度上昇させてから吹錬末期で低下させるように制御するため、脱P処理の終了が早い場合にはスラグ中のFeO濃度を十分に制御できない。
【0010】
本発明は前述の問題点を鑑み、脱P性と歩留ロス抑制との両立を安定して実現可能な溶銑の予備処理方法を提供することを目的とする。
【課題を解決するための手段】
(【0011】以降は省略されています)
この特許をJ-PlatPat(特許庁公式サイト)で参照する
関連特許
日本製鉄株式会社
線材
9日前
日本製鉄株式会社
溶接継手
7日前
日本製鉄株式会社
原油油槽用鋼材
9日前
日本製鉄株式会社
鉄鉱石の選別方法
6日前
日本製鉄株式会社
鉄道車両用の車軸
7日前
日本製鉄株式会社
鉄道車両用の台車枠
8日前
日本製鉄株式会社
ワカメ藻体及びその育成方法
13日前
日本製鉄株式会社
試験体分析装置及び試験体分析方法
2日前
日本製鉄株式会社
試験体分析装置及び試験体分析方法
2日前
日本製鉄株式会社
演算装置、演算方法および演算プログラム
6日前
日本製鉄株式会社
プレス成形品の製造方法、及び、プレス装置
9日前
日本製鉄株式会社
堤防補強構造および堤防補強構造の施工方法
6日前
日本製鉄株式会社
セメント硬化体補強用鋼繊維及びセメント組成物
1日前
日本製鉄株式会社
金属材料の腐食量及び侵入水素量の測定装置及び方法
2日前
日本製鉄株式会社
鋼の連続鋳造用モールドフラックス及び連続鋳造方法
9日前
日本製鉄株式会社
データ処理システム、データ処理方法、およびプログラム
9日前
日本製鉄株式会社
鉄含有物質とともに水域環境保全材料を構成する有機物の評価方法
今日
日本製鉄株式会社
断面性能の算定装置、断面性能の算定方法、及び断面性能の算定プログラム
6日前
日本製鉄株式会社
ハット形鋼矢板および鋼矢板壁の製造方法
1日前
日本製鉄株式会社
磁石飛散防止保護管、永久磁石同期電動モーターの回転子、及び永久磁石同期電動モーター
13日前
日本製鉄株式会社
マルテンサイト系ステンレス鋼材及びその製造方法、並びにマルテンサイト系ステンレス鋼の焼入れ又は焼入れ焼戻し材
2日前
個人
バイオ水素製鉄方法
2か月前
新和環境株式会社
炉システム
7か月前
新和環境株式会社
炉システム
7か月前
日本製鉄株式会社
転炉精錬方法
1か月前
日本製鉄株式会社
転炉精錬方法
6か月前
日本製鉄株式会社
溶鋼の製造方法
2か月前
日本製鉄株式会社
溶鉄の製造方法
1か月前
富士電子工業株式会社
焼入れ装置
2か月前
日本製鉄株式会社
溶鉄の製造方法
15日前
株式会社伊原工業
還元鉄の製造方法
7か月前
日本製鉄株式会社
スラグの排出方法
7か月前
中外炉工業株式会社
連続式熱処理炉
5か月前
株式会社デンケン
高温炉
7か月前
日本製鉄株式会社
溶鋼の脱窒処理方法
13日前
バイオメッド バレー ディスカバリーズ,インコーポレイティド
C21H22Cl2N4O2の結晶形態
4か月前
続きを見る
他の特許を見る