TOP
|
特許
|
意匠
|
商標
特許ウォッチ
Twitter
他の特許を見る
公開番号
2025108186
公報種別
公開特許公報(A)
公開日
2025-07-23
出願番号
2024001945
出願日
2024-01-10
発明の名称
土砂運搬用建設機械作業具及びその製造方法
出願人
株式会社ヒロテック
,
大林道路株式会社
,
大煌工業株式会社
代理人
弁理士法人IPRコンサルタント
主分類
B62D
33/02 20060101AFI20250715BHJP(鉄道以外の路面車両)
要約
【課題】接着剤やリベット締結等を用いることなく、フッ素樹脂材と金属材とが直接接合されたフッ素樹脂金属接合体を有する土砂運搬用建設機械作業具において、土砂等の擦過によるフッ素樹脂材と金属材との剥離やフッ素樹脂材の損傷等が効果的に抑制された長寿命な土砂運搬用建設機械作業具及びその簡便かつ効率的な製造方法を提供する。
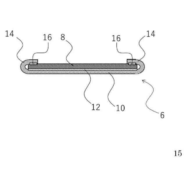
【解決手段】金属製容器の内面に、フッ素樹脂板と金属板とが積層されたフッ素樹脂金属接合体が、フッ素樹脂板が表面となるように設けられ、金属板はフッ素樹脂板よりも長さ及び/又は幅が大きく、フッ素樹脂板と金属板の重ね合わせ面に、金属板とフッ素樹脂板とが直接接合された直接接合界面が形成され、金属板の端部を折り曲げたヘミング加工部を有すること、を特徴とする土砂運搬用建設機械作業具。
【選択図】図1
特許請求の範囲
【請求項1】
金属製容器の内面に、フッ素樹脂板と金属板とが積層されたフッ素樹脂金属接合体が、前記フッ素樹脂板が表面となるように設けられ、
前記金属板は前記フッ素樹脂板よりも長さ及び/又は幅が大きく、
前記フッ素樹脂板と前記金属板の重ね合わせ面に、前記金属板と前記フッ素樹脂板とが直接接合された直接接合界面が形成され、
前記金属板の端部を折り曲げたヘミング加工部を有すること、
を特徴とする土砂運搬用建設機械作業具。
続きを表示(約 830 文字)
【請求項2】
荷台、バケット及びホッパーのうちの何れかであること、
を特徴とする請求項1に記載の土砂運搬用建設機械作業具。
【請求項3】
前記フッ素樹脂板がポリテトラフルオロエチレンであること、
を特徴とする請求項1又は2に記載の土砂運搬用建設機械作業具。
【請求項4】
前記金属製容器の隅角部に、前記フッ素樹脂金属接合体が設けられていること、
を特徴とする請求項1又は2に記載の土砂運搬用建設機械作業具。
【請求項5】
前記フッ素樹脂板の厚さが0.25~5mmであること、
を特徴とする請求項1又は2に記載の土砂運搬用建設機械作業具。
【請求項6】
前記ヘミング加工部の前記フッ素樹脂板と前記金属板が接合又は接着されていること、
を特徴とする請求項1又は2に記載の土砂運搬用建設機械作業具。
【請求項7】
前記金属板の折り曲げ部位を溶接代として、前記フッ素樹脂金属接合体と前記金属製容器が溶接締結されていること、
を特徴とする請求項1又は2に記載の土砂運搬用建設機械作業具。
【請求項8】
請求項1又は2に記載の土砂運搬用建設機械作業具の製造方法であって、
金属製容器の内面に、フッ素樹脂板と金属板とが積層されたフッ素樹脂金属接合体を前記フッ素樹脂板が表面になるように設置し、
前記フッ素樹脂金属接合体は前記金属板の端部を折り曲げたヘミング加工部を有し、
前記金属板の折り曲げ部位を溶接代として、前記フッ素樹脂金属接合体と前記金属製容器を溶接締結すること、
を特徴とする土砂運搬用建設機械作業具の製造方法。
【請求項9】
前記金属製容器の隅角部に前記フッ素樹脂金属接合体を配置すること、
を特徴とする請求項8に記載の土砂運搬用建設機械作業具の製造方法。
発明の詳細な説明
【技術分野】
【0001】
本発明は土砂等の運搬、投入及び排出等に使用される荷台、ショベル、バケット及びホッパー等の建設機械作業具及びその製造方法に関する。
続きを表示(約 1,700 文字)
【背景技術】
【0002】
土木建築業界においては大量の土砂貨物等を運搬することが必要不可欠であり、当該土砂貨物等の運搬に関しては、様々な観点からの改善要求が存在する。例えば、ダンプカーの荷台として一般的に用いられているのは鋼板であるが、鉄鋼製の荷台は高重量となる。一方で、道路を走行する際の車両の総重量は道路交通法で上限が定められており、一度により多くの砂利や土砂等を運搬するためには、車両自体を軽量化する必要がある。
【0003】
ここで、荷台をアルミニウム合金製とすれば、車両の軽量化を図ることができるが、アルミニウム合金材の耐摩耗性は鉄鋼材と比較して大幅に低く、砂利や土砂を繰り返し積載及び荷下ろしすると摩耗の進行が深刻となる。当該摩耗を考慮するとアルミニウム合金板の厚さを増加させる必要があり、重量増となることに加え、アルミニウム合金板表面における土砂等の滑り性は悪く、荷台の傾斜を急にしないと土砂貨物等を円滑に荷下ろしできないという問題があった。
【0004】
これに対し、発明者らは、特許文献1(特開2022-049070号公報)において、鉄鋼製荷台の内側表面にフッ素樹脂材が設けられ、鉄鋼製荷台とフッ素樹脂材が直接に接合された接合部を有し、当該接合部において鉄鋼製荷台からフッ素樹脂材を剥離させると、フッ素樹脂材が鉄鋼製荷台の表面から繊維状に伸長すること、を特徴とする土砂等運搬用荷台、を提案している。
【0005】
前記特許文献1に記載の土砂等運搬用荷台においては、鉄鋼製荷台の内側表面に設けられたフッ素樹脂材によって、鋼板床面構造の荷台と比較しても付着残土を効率的に抑制することができ、土砂等を繰り返し運搬しても当該効果を維持することができる土砂等運搬用荷台を提供することができる。
【先行技術文献】
【特許文献】
【0006】
特開2022-049070号公報
【発明の概要】
【発明が解決しようとする課題】
【0007】
しかしながら、上記特許文献1に記載の土砂等運搬用荷台においては、フッ素樹脂材と鉄鋼製荷台とを直接接合し、「接合部において鉄鋼製荷台からフッ素樹脂材を剥離させると、フッ素樹脂材が鉄鋼製荷台の表面から繊維状に伸長する」程度にまで強固に接合した場合であっても、使用時間の増加に伴い、フッ素樹脂材の損傷や剥離等が生じることが問題となっていた。
【0008】
以上のような従来技術における問題点に鑑み、本発明の目的は、接着剤やリベット締結等を用いることなく、フッ素樹脂板と金属板とが直接接合されたフッ素樹脂金属接合体を有する土砂運搬用建設機械作業具において、土砂等の擦過によるフッ素樹脂板と金属板との剥離やフッ素樹脂板の損傷等が効果的に抑制された長寿命な土砂運搬用建設機械作業具及びその簡便かつ効率的な製造方法を提供することにある。
【課題を解決するための手段】
【0009】
本発明者は上記目的を達成すべく、土砂運搬用建設機械作業具に用いるフッ素樹脂金属接合体の構造等について鋭意研究を重ねた結果、フッ素樹脂板と金属板とが直接接合されたフッ素樹脂金属接合体において、金属板の端部を折り曲げたヘミング加工部を有するフッ素樹脂金属接合体を用いること等が効果的であることを見出して、本発明に到達した。
【0010】
即ち、本発明は、
金属製容器の内面に、フッ素樹脂板と金属板とが積層されたフッ素樹脂金属接合体が、前記フッ素樹脂板が表面となるように設けられ、
前記金属板は前記フッ素樹脂板よりも長さ及び/又は幅が大きく、
前記フッ素樹脂板と前記金属板の重ね合わせ面に、前記金属板と前記フッ素樹脂板とが直接接合された直接接合界面が形成され、
前記金属板の端部を折り曲げたヘミング加工部を有すること、
を特徴とする土砂運搬用建設機械作業具、を提供する。
(【0011】以降は省略されています)
この特許をJ-PlatPat(特許庁公式サイト)で参照する
関連特許
個人
カート
3か月前
個人
走行装置
3か月前
個人
電動走行車両
3か月前
個人
乗り物
5か月前
個人
駐輪設備
1か月前
個人
電動モビリティ
7か月前
個人
発音装置
7か月前
個人
折り畳み自転車
10か月前
個人
閂式ハンドル錠
3か月前
個人
ボギー・フレーム
1か月前
個人
自転車用傘捕捉具
11か月前
個人
ルーフ付きトライク
1か月前
個人
自由方向乗車自転車
7か月前
個人
“zen-go.”
2か月前
個人
体重掛けリフト台車
10か月前
個人
ルーフ付きトライク
2か月前
個人
アタッチメント
11か月前
個人
パワーアシスト自転車
1か月前
個人
キャンピングトライク
8か月前
個人
自転車用荷物台
10か月前
株式会社CPM
駐輪機
11か月前
個人
ステアリングの操向部材
8か月前
個人
フロントフットブレーキ。
3か月前
株式会社豊田自動織機
産業車両
4か月前
株式会社三五
リアサブフレーム
10か月前
学校法人千葉工業大学
車両
9か月前
学校法人千葉工業大学
車両
9か月前
ヤマハ発動機株式会社
車両
11か月前
ヤマハ発動機株式会社
車両
11か月前
ヤマハ発動機株式会社
車両
11か月前
ヤマハ発動機株式会社
車両
11か月前
学校法人千葉工業大学
車両
9か月前
豊田鉄工株式会社
小型車両
2か月前
豊田合成株式会社
操舵装置
11か月前
個人
乗用自動車のディフューザー
11日前
個人
ホイールハブ駆動構造
4か月前
続きを見る
他の特許を見る