TOP
|
特許
|
意匠
|
商標
特許ウォッチ
Twitter
他の特許を見る
公開番号
2025028513
公報種別
公開特許公報(A)
公開日
2025-03-03
出願番号
2023133365
出願日
2023-08-18
発明の名称
自由方向乗車自転車
出願人
個人
代理人
主分類
B62M
17/00 20060101AFI20250221BHJP(鉄道以外の路面車両)
要約
【課題】運転者が進行方向に対して、東西南北方向に自在に乗車可能な自転車を構築する。運転者が横向きに自転車に乗車して摘果や剪定農業をしながら進む事が出来る農業用自転車を実現する。また、多彩な利用が可能な革新的な自転車を実現する。
【解決手段】サドルとペダル等の駆動系を有し、このペダル軸を軸支し、このペダル軸の水平回転を垂直回転に変換した垂直回転軸を軸支する乗車駆動フレームと、車輪を有する車軸を軸支した車体とを、取り付け方向を自在に固定する。車体の進行方向に対して東西南北の任意方向に乗車してペダルを漕いで進行する事が可能になる。
【選択図】図1
特許請求の範囲
【請求項1】
ペダルに印加した力が伝達されるペダル桿軸を水平軸支し、且つ前記ペダル軸の回転を垂直回転に変換した垂直回転回転軸を軸支する乗車駆動フレームと、車軸を軸支する車体とを前記垂直回転回転軸を支点として回転自在に結合すると共に、車軸と垂直回転回転軸とを直交歯車で結合してなる、乗車運転方向自在な自転車又は人力推進船又は人力飛行機
発明の詳細な説明
【技術分野】
【0001】
本発明は、運転者が進行方向に対して東西南北、自在な向きに乗車してペダルを漕ぎ、進行する事が出来る自転車に関する。
続きを表示(約 1,200 文字)
【背景技術】
【0002】
従来の自転車は運転者が前向きに乗車し前方向に進んでいた。これは常識であり、安全性を担保するためにも前方を注視して運転する必要があるため、それ以外の方向を向いて乗車する自転車は、パフォーマンスや曲芸等に使われる以外は皆無であった。
【発明の概要】
【発明が解決しようとする課題】
【0003】
本発明は前記した様に、今まで一顧だにされず、存在していなかった、運転者が全方位に向いて乗車して走行可能な自転車を実現するためになされた。自転車の運転者は、進行方向に対して、サドルとペダルを有する乗車フレームを自由な乗車方向に向けて車体に固定して、自然体で運転する事が出来る。
【0004】
例えば、進行方向の北方向に対して西向き乗車する際には、車体に乗車フレームを西向きにして取り付ければ、サドルとペダルは西向きになり、西向き乗車して北に進む事が出来る。
【課題を解決するための手段】
【0005】
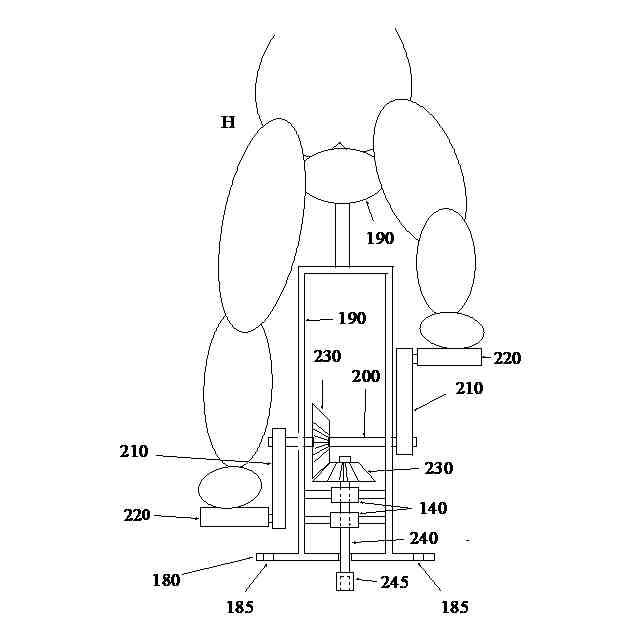
運転者が乗車してペダルを漕いで駆動力を発生させる駆動系であるところの乗車駆動フレームと、車輪を結合した車軸を軸支する被駆動系であるところの車体とに分離し、両者を垂直軸に回転自在に目的方向に向けて固定結合する。
【0006】
乗車駆動フレームはサドルを有し、ペダル軸を軸支し、且つこの回転を直交歯車で垂直回転に変換した垂直回転軸を軸支する。そしてフレーム下部には車体と結合する結合部を有する。
【0007】
乗車駆動フレームのペダル軸と、車体の車軸は水平軸であり、乗車駆動フレーと車体とは垂直軸に回転自在に結合されるので、ペダル軸の水平回転を乗車駆動フレーム内部垂直回転に変換して垂直回転軸として軸支する事により、車体に対して垂直軸に回転自在に取り付けても回転伝達する事が可能になり、この垂直回転軸の回転を更に直交歯車で水平回転にして、車体の車軸に伝達し車輪を回転させて走行するのである。
【0008】
これにより、両者は垂直回転軸を回転中心として、回転自在に結合可能となり、乗車フレームに乗った運転者はどの方向を向いて乗車しても、その向きでペダルを漕ぎ、目的方向に走行する自転車を構築する事が可能となるのである。
【発明の効果】
【0009】
自転車の使用目的に応じて、前向き乗車、横向き乗車が可能な自転車が簡単に製作出来て、
農業用、観光用、など多用途に利用可能となる。
【0010】
農業用として使用すれば、横向きに乗車したまま摘果を行いながら畝に沿って進む事が出る。工事用に使用すれば、施工しながら進む事が出来るので作業効率が飛躍的に向上する。
また、観光用として利用する際には、自転車専用道路で一定間隔を空けるなど工夫して使用すれば、景色を見ながらの横向き乗車サイクリングが可能となる。
(【0011】以降は省略されています)
この特許をJ-PlatPat(特許庁公式サイト)で参照する
関連特許
個人
カート
3か月前
個人
走行装置
3か月前
個人
電動走行車両
3か月前
個人
乗り物
5か月前
個人
駐輪設備
1か月前
個人
発音装置
7か月前
個人
閂式ハンドル錠
3か月前
個人
電動モビリティ
7か月前
個人
折り畳み自転車
10か月前
個人
自転車用歩数計
4日前
個人
自転車用傘捕捉具
11か月前
個人
ボギー・フレーム
2か月前
個人
三輪電動車両
4日前
個人
ルーフ付きトライク
1か月前
個人
“zen-go.”
2か月前
個人
自由方向乗車自転車
7か月前
個人
ルーフ付きトライク
2か月前
個人
体重掛けリフト台車
11か月前
個人
アタッチメント
11か月前
個人
パワーアシスト自転車
2か月前
個人
自転車用荷物台
11か月前
個人
キャンピングトライク
8か月前
株式会社CPM
駐輪機
12か月前
個人
ステアリングの操向部材
9か月前
株式会社三五
リアサブフレーム
10か月前
株式会社豊田自動織機
産業車両
4か月前
個人
フロントフットブレーキ。
4か月前
学校法人千葉工業大学
車両
10か月前
豊田鉄工株式会社
小型車両
3か月前
個人
ホイールハブ駆動構造
4か月前
学校法人千葉工業大学
車両
10か月前
学校法人千葉工業大学
車両
10か月前
個人
乗用自動車のディフューザー
24日前
豊田合成株式会社
操舵装置
12か月前
個人
ハブモーターの配線構造
1か月前
個人
二輪車の三次元折りたたみ機構
2か月前
続きを見る
他の特許を見る