TOP
|
特許
|
意匠
|
商標
特許ウォッチ
Twitter
他の特許を見る
公開番号
2025109828
公報種別
公開特許公報(A)
公開日
2025-07-25
出願番号
2025079610,2022512025
出願日
2025-05-12,2021-03-24
発明の名称
熱変色性筆記具
出願人
株式会社パイロットコーポレーション
代理人
弁理士法人 津国
主分類
B43K
29/02 20060101AFI20250717BHJP(筆記用または製図用の器具;机上付属具)
要約
【課題】金属光沢顔料が添加された熱変色性インキの筆跡を化学的及び物理的に消去することを可能とする
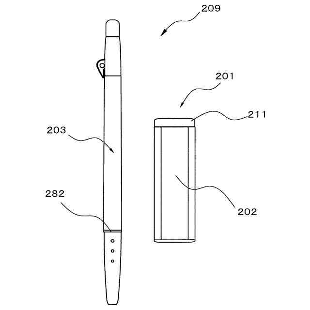
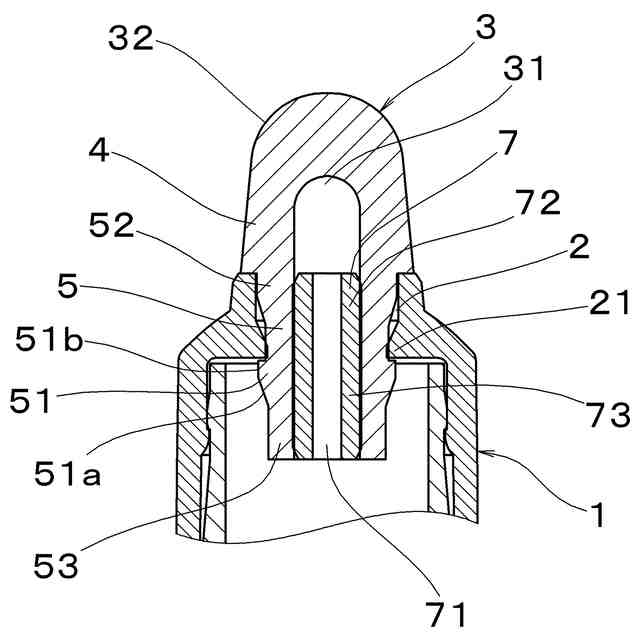
【解決手段】熱変色性インキには、金属光沢顔料が添加され、熱変色性筆記具には、摩擦体3を取り付けるための取付孔2が設けられ、摩擦体3は、取付孔2に挿入される取付部5と、取付孔2から突出する凸曲面形状の摩擦部32とを含み、摩擦部32の体積Veと、金属光沢顔料の体積Vpとが、5≦Ve/Vp≦35を満たし、摩擦部32の最大外径Dと、出長さLとが、0.1≦L/D≦1.5を満たし、摩擦体3の材料は、日本工業規格のJIS K 7215に準拠して測定されるショアA硬度の押針接触開始直後の値が、60以上85以下の範囲にあり、及びショアA硬度の下式で定義される値(ΔHS)が、0以上5未満である。ΔHS=(押針接触開始直後のショアA硬度値)-(押針接触開始から15秒後のショアA硬度値)
【選択図】図1
特許請求の範囲
【請求項1】
熱変色性インキと、前記熱変色性インキによる筆跡を摩擦熱によって熱変色させるための摩擦体とを備える熱変色性筆記具であって、
前記熱変色性インキには、金属光沢顔料が添加され、
前記熱変色性筆記具には、前記摩擦体を取り付けるための取付孔が設けられ、
前記摩擦体は、前記取付孔に挿入される取付部と、前記取付孔から突出する凸曲面形状の摩擦部とを含み、
前記摩擦部の体積Veと、前記金属光沢顔料の体積Vpとが、5≦Ve/Vp≦35を満たし、
前記摩擦部の最大外径Dと、出長さLとが、0.1≦L/D≦1.5を満たし、
前記摩擦体の材料は、日本工業規格のJIS K 7215に準拠して測定されるショアA硬度の押針接触開始直後の値が、60以上85以下の範囲にあり、及びショアA硬度の下式で定義される値(ΔHS)が、0以上5未満である熱変色性筆記具。
ΔHS=(押針接触開始直後のショアA硬度値)-(押針接触開始から15秒後のショアA硬度値)
続きを表示(約 1,300 文字)
【請求項2】
前記摩擦体の材料は、日本工業規格のJIS K 6251に準拠して測定される切断時引張強さTbと、切断時伸びEbとの積の値(Tb×Eb)が、5000以上18000以下である請求項1に記載の熱変色性筆記具。
【請求項3】
前記取付孔は、前記熱変色性筆記具を構成する軸筒の後端部又はキャップの頂部を縦方向の中心軸に沿って貫通するように設けられ、上端及び下端に位置する2つの開口の間に内周面を有し、
前記取付孔の内周面に、前記取付孔の内側に向かって突出する内向突起が形成され、
前記取付部の外周面に、前記取付部の外側に向かって突出する外向突起が形成され、
前記取付部が前記取付孔に挿入されたときに、前記外向突起が前記内向突起を乗り越えることにより、前記外向突起と前記内向突起とが互いに係止され、
前記摩擦体には、縦方向の中心軸に沿って、少なくとも前記取付部の下端で開口する真直ぐな内孔が設けられ、
前記内向には、前記内孔に収まる長さ、及び前記内孔の内周面に接触する外周面を有する棒状の中芯が挿入され、
前記取付部が前記取付孔に挿入され、且つ前記中芯が前記内孔に挿入された状態において、前記中芯が前記取付孔の内周面に対応する位置に保持されることにより、前記取付部が前記中芯の外周面と前記取付孔の前記外向突起との間に挟持されるように構成された請求項1又は2に記載の熱変色性筆記具。
【請求項4】
前記取付部が前記取付孔に挿入され、且つ前記中芯が前記内孔に挿入された状態において、前記中芯が、前記内孔の下端の開口から前記取付孔の上端の開口までの長さを有する請求項3に記載の熱変色性筆記具。
【請求項5】
前記取付部が前記取付孔に挿入され、且つ前記中芯が前記内孔に挿入された状態において、前記中芯の下端が、前記取付部の下端と同一の位置、又は前記取付部の下端よりも上に位置する請求項3又は4に記載の熱変色性筆記具。
【請求項6】
前記内孔が、前記取付部の下端で開口し、且つ前記摩擦部の上端で開口しない一方が塞がれた孔であり、前記中芯が前記内孔に挿入される過程において、前記内孔内の空気を排出するために、前記中芯に通気部が設けられた請求項3~5のいずれか1項に記載の熱変色性筆記具。
【請求項7】
前記通気部が、前記中芯の縦方向の中心軸に沿って、前記中芯の一端から他端に貫通する貫通孔である請求項6に記載の熱変色性筆記具。
【請求項8】
前記通気部が、前記中芯の外周面に沿って、前記中芯の一端から他端に連続する少なくとも1つの溝又は突起である請求項6に記載の熱変色性筆記具。
【請求項9】
前記中芯が、上下方向に対称形状である請求項3~8のいずれか1項に記載の熱変色性筆記具。
【請求項10】
前記中芯の外周面に、前記内孔の内周面に接触する突部が設けられた請求項3~9のいずれか1項に記載の熱変色性筆記具。
(【請求項11】以降は省略されています)
発明の詳細な説明
【技術分野】
【0001】
本発明は、筆記具に関する。更には、熱変色性インキの筆跡を熱変色させるための摩擦体を備える筆記具に関する。
続きを表示(約 2,100 文字)
【背景技術】
【0002】
近年、熱変色性筆記具が広く普及している。熱変色性筆記具は、熱変色性インキを内蔵する。熱変色性インキの筆跡は、加熱することにより変色又は消色させることができる。熱変色性筆記具は、熱変色性インキの筆跡を消色又は変色させるための摩擦熱を発生させる摩擦体を備える。なお、熱変色性インキについての「変色」は、有色から別の有色に変化することを意味する。「消色」は、変色の一態様であり、有色から無色に変化することを意味する。
【0003】
例えば、国際公開第2018/116767号には、熱変色性インキに金属光沢顔料が添加された熱変色性インキが内蔵された筆記具が開示されている。この熱変色性筆記具は、粘弾性体を含む摩擦体を備える。この摩擦体は、金属光沢顔料が添加された熱変色性インキを化学的及び物理的に消去することが可能である。すなわち、粘弾性体を含む摩擦体は、摩擦熱によって熱変色性インキを消色させ、且つ粘弾性によって金属光沢顔料を吸着して紙面から剥離する。このように、国際公開第2018/116767号に開示されている粘弾性体を含む摩擦体は、摩擦熱によって熱変色性インキを消色させる化学的消去性と、粘弾性によって金属光沢顔料を剥離させる物理的消去性とを兼ね備える。
【先行技術文献】
【特許文献】
【0004】
国際公開第2018/116767号
【発明の概要】
【発明が解決しようとする課題】
【0005】
しかし、粘弾性体を含む摩擦体は、熱変色性インキの筆跡を摩擦するときの往復運動(以下「摩擦動作」という)によって、摩擦体の変形量が次第に大きくなるという問題がある。すなわち、粘弾性体は、一定の外力を与えると時間の経過に伴って変形量が大きくなる性質を有する。このため、粘弾性体を含む摩擦体は、摩擦動作を繰り返すことによって次第に大きく変形する。摩擦体の変形量が大きくなると、熱変色性インキの筆跡を変色又は消色させるために必要な摩擦熱を生じさせることができない場合がある。
【0006】
一方、摩擦体を摩擦動作させるための力を次第に小さくすれば、摩擦体の変形量を一定に保つことができる。しかし、摩擦体を摩擦動作させるための力が小さくなりすぎて、熱変色性インキの筆跡を変色又は消色させるために必要な摩擦熱を生じさせることができない場合がある。特に、合成樹脂からなる摩擦体の弾性率は、温度に依存する。このため、摩擦体自体の温度が摩擦熱によって上昇した場合、及び摩擦体が高温の環境下で使用された場合には、摩擦体がより大きく変形しやすくなる。
【0007】
本発明は、上述した問題点を解決するためになされたものであって、金属光沢顔料が添加された熱変色性インキの筆跡を化学的及び物理的に消去することを可能とし、及び摩擦体の変形を抑止することにより、摩擦体に所望の摩擦性能を発揮させることができる熱変色性筆記具を提供することを目的とする。
【課題を解決するための手段】
【0008】
(1)上記目的を達成するために、本発明の熱変色性筆記具は、熱変色性インキと、前記熱変色性インキによる筆跡を摩擦熱によって熱変色させるための摩擦体とを備える熱変色性筆記具であって、前記熱変色性インキには、金属光沢顔料が添加され、前記熱変色性筆記具には、前記摩擦体を取り付けるための取付孔が設けられ、前記摩擦体は、前記取付孔に挿入される取付部と、前記取付孔から突出する凸曲面形状の摩擦部とを含み、前記摩擦部の体積Veと、前記金属光沢顔料の体積Vpとが、5≦Ve/Vp≦35を満たし、前記摩擦部の最大外径Dと、出長さLとが、0.1≦L/D≦1.5を満たし、前記摩擦体の材料は、日本工業規格のJIS K 7215に準拠して測定されるショアA硬度の押針接触開始直後の値が、60以上85以下の範囲にあり、及びショアA硬度の下式で定義される値(ΔHS)が、0以上5未満である。
ΔHS=(押針接触開始直後のショアA硬度値)-(押針接触開始から15秒後のショアA硬度値)
【0009】
上記(1)の熱変色性筆記具に備えられた摩擦体は、熱変色性インキの筆跡を摩擦熱によって化学的に変色又は消色させることができ、さらに、熱変色性インキに添加された金属光沢顔料を物理的に剥離することができる。一方、摩擦体の材料のΔHSを5未満とすることによって、摩擦動作に対する十分な剛性を摩擦部に与えることが可能となる。これにより、摩擦動作させたときの摩擦部の変形が抑えられ、摩擦部に所望の摩擦性能を発揮させることができる。
【0010】
(2)好ましくは、上記(1)の熱変色性筆記具において、前記摩擦体の材料は、日本工業規格のJIS K 6251に準拠して測定される切断時引張強さTbと、切断時伸びEbとの積の値(Tb×Eb)が、5000以上18000以下である。
(【0011】以降は省略されています)
この特許をJ-PlatPat(特許庁公式サイト)で参照する
関連特許
個人
両利き筆記具
15日前
三菱鉛筆株式会社
筆記具
今日
三菱鉛筆株式会社
塗布具
今日
ぺんてる株式会社
筆記具
2か月前
ぺんてる株式会社
塗布具
6か月前
個人
ペンスタンド
11か月前
ぺんてる株式会社
塗布具
6か月前
個人
ツールホルダー
3か月前
コクヨ株式会社
転写具
5か月前
コクヨ株式会社
転写具
5か月前
個人
筆記具
1か月前
コクヨ株式会社
転写具
5か月前
三菱鉛筆株式会社
筆記具
5日前
株式会社東山
ペン
2か月前
個人
板発条スケールコンパス。
13日前
個人
開封具
7か月前
ぺんてる株式会社
消しゴム組成物
11か月前
株式会社3S
塗布具
6か月前
ぺんてる株式会社
ボールペンチップ
1か月前
個人
携帯用消しゴムとその保持形態
11か月前
ぺんてる株式会社
ボールペンチップ
5か月前
個人
電子黒板システム
9か月前
三菱鉛筆株式会社
筆記具
7か月前
株式会社サクラクレパス
塗布具
27日前
ぺんてる株式会社
ボールペンリフィル
5か月前
株式会社サクラクレパス
塗布具
5か月前
三菱鉛筆株式会社
筆記具
1か月前
有限会社コスモ
挟着具
13日前
株式会社パイロットコーポレーション
筆記具
6か月前
三菱鉛筆株式会社
筆記具
5か月前
三菱鉛筆株式会社
筆記具
4か月前
株式会社サクラクレパス
出没式筆記具
11か月前
三菱鉛筆株式会社
筆記具
4か月前
株式会社パイロットコーポレーション
筆記具
3か月前
株式会社パイロットコーポレーション
筆記具
3か月前
個人
学習用定規及びプリント切断方法
5か月前
続きを見る
他の特許を見る