TOP
|
特許
|
意匠
|
商標
特許ウォッチ
Twitter
他の特許を見る
公開番号
2025155432
公報種別
公開特許公報(A)
公開日
2025-10-14
出願番号
2024059261
出願日
2024-04-01
発明の名称
塗布具
出願人
三菱鉛筆株式会社
代理人
主分類
B43K
8/04 20060101AFI20251006BHJP(筆記用または製図用の器具;机上付属具)
要約
【課題】
内溶液を充填した交換可能な塗布具の内筒において、環境に配慮した塗布具を提供する。
【解決手段】
内筒20を内層20aと外層20bとの二層構造で構成され、塗布液に接触する内層20aの材料はバージン材料で、塗布液に接触しない外層20bの材料は環境配慮材料を用いて形成した。内層20aの肉厚は0.1~0.3mm、外層20bの肉厚は0.9~1.2mmで形成しブロー成形法で加工することが好ましい。
【選択図】図2
特許請求の範囲
【請求項1】
先端に塗布部が装着された筒状の本体と、塗布液を充填し該本体の筒内に該本体の軸方向を移動自在に収納し、該本体の筒内から一部露出した交換可能な内筒と、該内筒の先端に取り付けられたバルブセットとを備えた塗布具であって、
内筒が内側の内層と外側の外層との二層構造であり、前記外層が環境配慮材料により形成されたことを特徴とする塗布具。
続きを表示(約 110 文字)
【請求項2】
前記環境配慮材料は、モダン炭素比率が10pMC以上であることを特徴とする請求項1記載の塗布具。
【請求項3】
内軸はブロー成形により形成されたことを特徴とする請求項1又は2に記載の塗布具。
発明の詳細な説明
【技術分野】
【0001】
本発明はインク、化粧料、液体医薬品、接着剤等の塗布液をインクタンク等の液体収容部内に直接的に収容しその塗布液を対象物に塗布(筆記も含む)する直液式の塗布具に関する。
続きを表示(約 2,400 文字)
【背景技術】
【0002】
従来より、塗布具においては、液体収容部内に直接的に収容されたインク、化粧料等の塗布液を塗布体によって対象物に塗布するものである。例えば特許文献1において、塗布具の後端部にある一部露出した内軸を前方に押圧することで内軸に収容された液体から塗布体に液体を供給する、供給しないを弁部材によって切換えるバルブ装置を有し、後端部の一部を露出させる塗布具が開示されている。
【先行技術文献】
【特許文献】
【0003】
特開2011-206926
【発明の概要】
【発明が解決しようとする課題】
【0004】
しかし、特許文献1記載の塗布具において、内筒が二層構造であり、内側の層と外側の層が異なる樹脂で形成し、内筒は軸方向に対し、内側の層にポリエチレンナフタレート(PEN)、外側の層にポリエチレンテレフタレート(PET)でブロー成形されたことを特徴としており、透明性が高いので内溶液の残量が容易でかつ割れに強い内筒を有する塗布具を提供することはできるが、新材、所謂バージン材にて形成された容器が前提となっており、昨今叫ばれている持続可能な開発目標(SDGs)とした環境に配慮された容器とはなっていない。以上のことから環境に配慮された容器を提供することを課題とする。
【課題を解決するための手段】
【0005】
そこで本発明者は鋭意開発の末、以下の発明を実現するに至った。
先端に塗布部が装着された筒状の本体と、塗布液を充填し該本体の筒内に該本体の軸方向を移動自在に収納し、該本体の筒内から一部露出した交換可能な内筒と、該内筒の先端に取り付けられたバルブセットとを備えた塗布具であって、内筒が内側の内層と外側の外層との二層構造であり、前記外層が環境配慮材料により形成されたことを特徴とする塗布具である。内筒をすべて環境配慮材料とした場合は物性が不安定なため内筒内に収納された液体に悪影響を及ぼす可能性がある。そこで、液体と接触する内側の層にバージン材、外側の層に環境配慮材料でブロー成形することによって、内容物のインクと環境配慮材料を直接接触しないようにすることで品質と環境対策との両立を得ることができる。
バージン材とは、まだ使用されていない、つまり使用サイクルを経ていない樹脂素材のことである。所謂新品と呼ばれる樹脂成形品である。
なお、環境配慮材料とは、ポストコンシューマ材料や、樹脂材料内に澱粉、米粉、セルロース由来材料、茶殻、コーヒー豆、穀類のもみ殻、木炭、竹炭、海藻、藻、木粉、竹粉、籾殻粉、古米粉若しくは米糠粉のいずれかの粉体又は植物油脂としたバイオマス材料、植物由来材料、産業用再生プラスチック、海洋廃棄物由来プラスチックを少なくとも10%以上含有していることをいう。
また、環境配慮材料は、モダン炭素比率が10pMC以上であることが好ましい。本発明におけるモダン炭素比率とは、ASTM D6866-12に規定される放射性炭素(C14)測定によるバイオマス由来の炭素の含有量を測定した値であり、バージン材の合成樹脂での炭素含有量は10pMC未満である。外側の層に含まれる炭素の含有量の割合を測定することにより、モダン炭素比率を算出することができる。また、ポストコンシューマ材料とは、JIS Q14021:2000に記載された材料を意味する。家庭から排出される材料又は製品のユーザとして商業施設、工業施設及び各種施設から本来の目的のためにはもはや使用できなくなった製品として発生する材料であり、一度市場に出荷され、ユーザや施設等での使用が終了、排出した後で回収して再利用する材料である。また、海洋プラスチックとは、海洋中に廃棄されたビニール片、ペットボトル及び漁具等のプラスチックごみをいう。
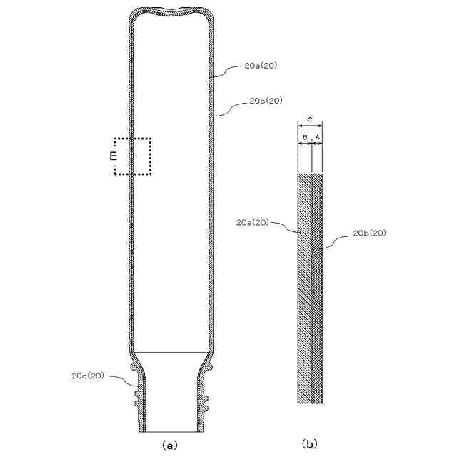
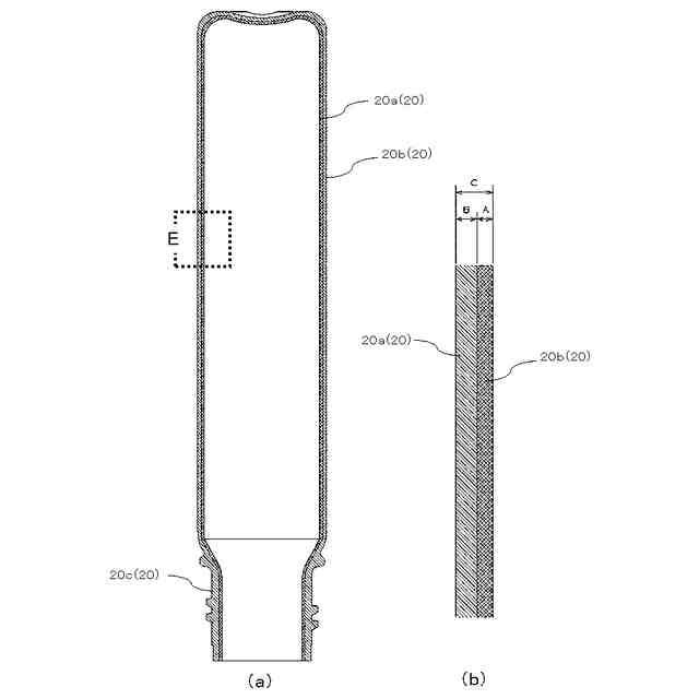
また、内軸における内側の層の肉厚Aは0.1~0.3mm、外側の層の肉厚Bは0.9~1.2mmであることが好ましく、またブロー成形によるものが好ましい。
【発明の効果】
【0006】
上記記載の手段により、内筒の内層に液体と接触することから製品として品質に懸念のないバージン材を用い、外層に環境配慮材料を用いて液体による品質の変化の影響を及ぼしにくい構造として、環境に配慮した材料を用いることで環境に配慮した製品を提供することができる。
【図面の簡単な説明】
【0007】
本発明の実施形態における塗布具の図面である。
本発明の実施形態における塗布具の内軸の断面図である。
【発明を実施するための形態】
【0008】
以下、本発明の実施形態の直液式の塗布具を図面に基づいて説明する。
なお、先端とは塗布又は筆記する側を前方側、後端とは内筒の押圧可能な後方側をいう。
先ず、本実施形態の直液式の塗布具の概略構成を図1に基づいて説明する。
図1(a)は、本発明の実施形態の塗布具の外観図である。図1(b)は、本発明の実施形態の塗布具の断面図である。
【0009】
図1に示すように、本実施形態の直液式の塗布具Wは、外筒1および先軸2により構成される中空筒状の本体10と、外筒1の筒内に外筒1の軸方向を移動自在に収納された内筒20と、内筒20の先端部に取り付けられた内先軸30と、内筒20の先端側筒内に取り付けられたバルブセット40bと、先軸2の外周部に着脱自在に取り付けられるキャップ50とを備えている。
【0010】
塗布部11は多孔質体の筆記部となったマーキングペン形状となっているが、筆形状、へら形状等、筆記又は塗布できる形状であれば特に指定しない。
(【0011】以降は省略されています)
この特許をJ-PlatPat(特許庁公式サイト)で参照する
関連特許
三菱鉛筆株式会社
筆記具
1日前
三菱鉛筆株式会社
塗布具
1日前
三菱鉛筆株式会社
筆記具
6日前
三菱鉛筆株式会社
化粧料塗布具
8日前
三菱鉛筆株式会社
化粧関連製品セット
1日前
三菱鉛筆株式会社
サイドノック式筆記具
8日前
三菱鉛筆株式会社
スピーカー用塗料組成物
16日前
三菱鉛筆株式会社
炭素繊維-樹脂複合シート
6日前
三菱鉛筆株式会社
筆記具用水性インク組成物、この水性インク組成物を搭載した筆記具
12日前
個人
両利き筆記具
16日前
三菱鉛筆株式会社
筆記具
1日前
三菱鉛筆株式会社
塗布具
1日前
個人
ペンスタンド
11か月前
ぺんてる株式会社
塗布具
6か月前
ぺんてる株式会社
塗布具
6か月前
ぺんてる株式会社
筆記具
2か月前
個人
ツールホルダー
3か月前
コクヨ株式会社
転写具
5か月前
コクヨ株式会社
転写具
5か月前
コクヨ株式会社
転写具
5か月前
個人
筆記具
1か月前
個人
板発条スケールコンパス。
14日前
株式会社東山
ペン
2か月前
三菱鉛筆株式会社
筆記具
6日前
個人
開封具
7か月前
ぺんてる株式会社
消しゴム組成物
11か月前
株式会社3S
塗布具
6か月前
ぺんてる株式会社
ボールペンチップ
1か月前
ぺんてる株式会社
ボールペンチップ
5か月前
個人
携帯用消しゴムとその保持形態
11か月前
個人
電子黒板システム
10か月前
三菱鉛筆株式会社
筆記具
7か月前
ぺんてる株式会社
ボールペンリフィル
5か月前
三菱鉛筆株式会社
筆記具
1か月前
株式会社サクラクレパス
塗布具
5か月前
株式会社サクラクレパス
塗布具
28日前
続きを見る
他の特許を見る