TOP
|
特許
|
意匠
|
商標
特許ウォッチ
Twitter
他の特許を見る
10個以上の画像は省略されています。
公開番号
2025117130
公報種別
公開特許公報(A)
公開日
2025-08-12
出願番号
2024011826
出願日
2024-01-30
発明の名称
熱交換器及び熱交換システム
出願人
フタバ産業株式会社
代理人
名古屋国際弁理士法人
主分類
F28F
9/26 20060101AFI20250804BHJP(熱交換一般)
要約
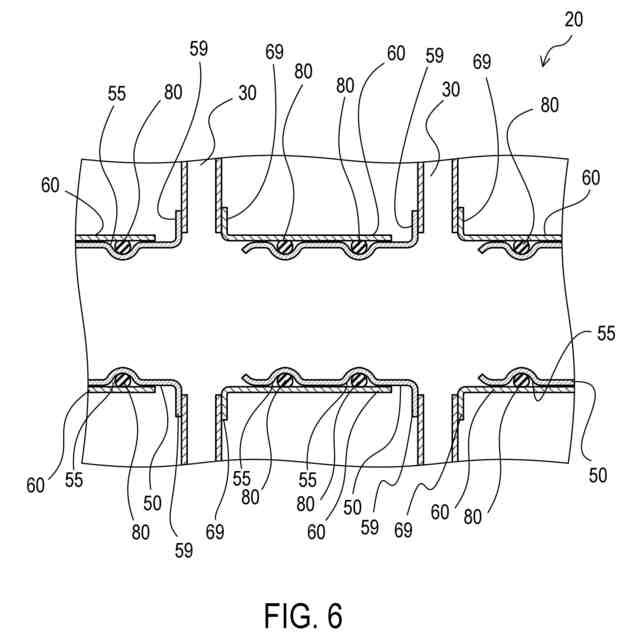
【課題】熱交換器間の接続のために金属製の接続構造を備える熱交換器を提供する。
【解決手段】熱交換器は、熱交換器本体と、第一の接続構造と、第二の接続構造と、シール部材と、を備える。第一の接続構造は、熱交換器の第一の側に配置される第一の接続対象に、熱交換器本体を接続するための構造である。第二の接続構造は、熱交換器の第二の側に配置される第二の接続対象に、熱交換器本体を接続するための構造である。第一の接続対象は、第二の接続構造を備え、第二の接続対象は、第一の接続構造を備える。第一の接続構造及び第二の接続構造は、熱交換媒体の流通のために筒状であり、かつ金属製である。第二の接続構造は、第一の接続構造の外周を覆うように、第一の接続構造と係合する構成にされる。シール部材は、第一の接続構造の外周面と第二の接続構造の内周面との間に配置される。
【選択図】図1
特許請求の範囲
【請求項1】
電動車に搭載される熱交換器であって、
前記熱交換器の第一の側に配置される第一の電池セル、及び、前記熱交換器の前記第一の側とは反対側である第二の側に配置される第二の電池セルの少なくとも一方と熱交換可能に構成される熱交換器本体と、
前記熱交換器の前記第一の側で前記第一の電池セルを介して配置される第一の接続対象に、前記熱交換器本体を接続するための第一の接続構造と、
前記熱交換器の前記第二の側で前記第二の電池セルを介して配置される第二の接続対象に、前記熱交換器本体を接続するための第二の接続構造と、
環状のシール部材と、
を備え、
前記第一の接続対象は、前記第二の接続構造を備え、
前記第二の接続対象は、前記第一の接続構造を備え、
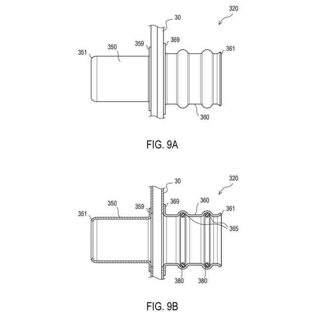
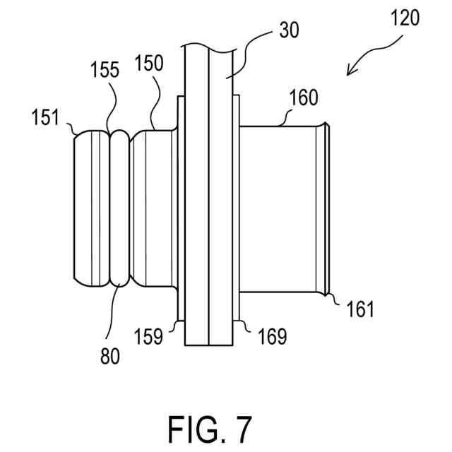
前記第一の接続構造及び前記第二の接続構造は、熱交換媒体の流通のために筒状であり、かつ金属製であり、前記熱交換器において軸方向に一列に配置されており、
前記第二の接続構造は、前記第一の接続構造の外周を覆うように、前記第一の接続構造と係合する構成にされ、
前記第一の接続構造及び前記第二の接続構造のうちの少なくとも一方の接続構造には、前記第一の接続構造と前記第二の接続構造との境界に面する環状凹部であって前記シール部材が嵌め込まれる環状凹部が設けられており、
前記シール部材は、前記環状凹部に嵌め込まれた状態で、前記第一の接続構造の外周面と前記第二の接続構造の内周面との間に配置される
熱交換器。
続きを表示(約 980 文字)
【請求項2】
請求項1記載の熱交換器であって、
前記少なくとも一方の接続構造は、実質一定の肉厚を有する筒状体であり、
前記環状凹部は、前記筒状体の湾曲により形成された窪みである
熱交換器。
【請求項3】
請求項1記載の熱交換器であって、
前記環状凹部は、前記第一の接続構造に設けられる
熱交換器。
【請求項4】
請求項1記載の熱交換器であって、
前記環状凹部として、複数の環状凹部を備え、
前記シール部材として、前記複数の環状凹部に嵌め込まれる複数のシール部材を備え、
前記複数の環状凹部は、前記少なくとも一方の接続構造の軸方向に並ぶ
熱交換器。
【請求項5】
請求項4記載の熱交換器であって、
前記複数の環状凹部は、前記軸方向に間隔を空けて配置され、
前記軸方向における前記複数の環状凹部の間で、前記第一の接続構造の外周面及び第二の接続構造の内周面は、軸方向に平坦な面として構成される
熱交換器。
【請求項6】
請求項1記載の熱交換器であって、
前記熱交換器本体を貫通する一つの筒状接続部品を備え、
前記第一の接続構造は、前記一つの筒状接続部品において、前記第一の側で前記熱交換器本体から突出する部位に設けられ、
前記第二の接続構造は、前記一つの筒状接続部品において、前記第二の側で前記熱交換器本体から突出する部位に設けられる
熱交換器。
【請求項7】
電動車に搭載される熱交換システムであって、
複数の熱交換器と、
複数の電池セルと、
を備え、
前記複数の熱交換器と前記複数の電池セルとは、直線状に交互に配置され、
前記複数の熱交換器のそれぞれは、請求項1~請求項6のいずれか一項記載の熱交換器として構成され、前記第一の接続構造、前記第二の接続構造、及び、前記第一の接続構造と前記第二の接続構造との間に配置される前記シール部材、を備え、
前記複数の熱交換器のそれぞれは、前記複数の熱交換器のうちの隣接する熱交換器と、前記第一の接続構造及び前記第二の接続構造を介して接続される
熱交換システム。
発明の詳細な説明
【技術分野】
【0001】
本開示は、熱交換器及び熱交換システムに関する。
続きを表示(約 1,300 文字)
【背景技術】
【0002】
従来、電動車に搭載される熱交換システムが知られている(例えば特許文献1参照)。公知の熱交換システムでは、例えば電池セルと熱交換器とが交互に配置される。熱交換器は、熱交換媒体の流通のために相互接続される。この熱交換システムでは、複数の熱交換器を用いて、複数の電池セルを含むバッテリの温度が制御される。
【0003】
この熱交換システムにおける複数の熱交換器は、各熱交換器の入口管に接続される管ユニットの連結により、直列に接続される。管ユニットは、複数の熱交換器に熱交換媒体を供給するための流路として機能する。
【0004】
管ユニットは、樹脂製であり、主管部の長手方向における中間部で、主管部と直交するように分岐管部が分岐したT字形状の外形を有する。管ユニットは、分岐管部が熱交換器本体の入口管に接続されることにより、熱交換器に取り付けられる。
【0005】
主管部の一端には、挿入端部が設けられ、主管部の反対側の端には、受容端部が設けられる。挿入端部が、隣接する熱交換器に接続された管ユニットの受容端部に連結されることにより、複数の熱交換器の管ユニットは、直列接続される。直列接続された管ユニットを通じて、複数の熱交換器のそれぞれに、熱交換媒体が供給される。
【先行技術文献】
【特許文献】
【0006】
特開2012-180876号公報
【発明の概要】
【発明が解決しようとする課題】
【0007】
ところで、従来の熱交換システムで使用される管ユニットは、T字型であり、更には固定構造を有し、形状が複雑である。したがって、従来と同一構成の管ユニットを、金属材料で製造することは、技術面及びコスト面の少なくとも一方の面で難しい。
【0008】
そこで、本開示の一側面によれば、熱交換器間の接続のための接続構造として、比較的簡単な金属材料の加工により実現可能な金属製の接続構造を備える熱交換器及び熱交換システムを提供できることが望ましい。
【課題を解決するための手段】
【0009】
本開示の一側面によれば、電動車に搭載される熱交換器が提供される。熱交換器は、熱交換器本体と、第一の接続構造と、第二の接続構造と、環状のシール部材と、を備える。熱交換器本体は、熱交換器の第一の側に配置される第一の電池セル、及び、熱交換器の第二の側に配置される第二の電池セルの少なくとも一方と熱交換可能に構成される。熱交換器の第二の側は、熱交換器の第一の側とは反対側である。
【0010】
第一の接続構造は、熱交換器の第一の側で第一の電池セルを介して配置される第一の接続対象に、熱交換器本体を接続するための接続構造として構成される。第二の接続構造は、熱交換器の第二の側で第二の電池セルを介して配置される第二の接続対象に、熱交換器本体を接続するための接続構造として構成される。
(【0011】以降は省略されています)
この特許をJ-PlatPat(特許庁公式サイト)で参照する
関連特許
フタバ産業株式会社
消音器
11日前
フタバ産業株式会社
消音器
23日前
フタバ産業株式会社
排気系部品
11日前
フタバ産業株式会社
ステアリング支持装置
5日前
個人
排熱回収装置
2か月前
個人
熱交換装置
2日前
個人
熱交換装置
5か月前
ホーコス株式会社
熱交換ユニット
8か月前
三恵技研工業株式会社
熱交換器
6か月前
三恵技研工業株式会社
熱交換器
6か月前
住友精密工業株式会社
熱交換器
12か月前
株式会社パイオラックス
熱交換器
8か月前
アンリツ株式会社
検査装置
5か月前
アンリツ株式会社
検査装置
5か月前
日産自動車株式会社
熱交換器
7か月前
株式会社ティラド
ラジエータ
8か月前
スズキ株式会社
熱交換器
11か月前
株式会社アイシン
水噴射冷却システム
8か月前
新光電気工業株式会社
蓄熱装置
1か月前
個人
熱交換器
11か月前
株式会社アイシン
熱交換器
4か月前
栗田工業株式会社
冷却塔システム
3か月前
株式会社デンソー
熱交換器
5か月前
サンデン株式会社
熱交換器
6か月前
栗田工業株式会社
冷却塔システム
8か月前
株式会社デンソー
熱交換器
4か月前
サンデン株式会社
熱交換器
8か月前
サンデン株式会社
熱交換器
8か月前
サンデン株式会社
熱交換器
6か月前
株式会社デンソー
熱交換器
4か月前
株式会社デンソー
熱交換器
3か月前
サンデン株式会社
熱交換器
8か月前
ZACROS株式会社
熱交換装置
6か月前
日新電機株式会社
化学蓄熱反応器
9か月前
株式会社デンソー
熱交換器
11か月前
株式会社神戸製鋼所
積層型熱交換器
4か月前
続きを見る
他の特許を見る