TOP
|
特許
|
意匠
|
商標
特許ウォッチ
Twitter
他の特許を見る
公開番号
2025117159
公報種別
公開特許公報(A)
公開日
2025-08-12
出願番号
2024011877
出願日
2024-01-30
発明の名称
リフト用補助具
出願人
ベストテック株式会社
代理人
個人
主分類
B66F
9/06 20060101AFI20250804BHJP(巻上装置;揚重装置;牽引装置)
要約
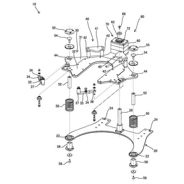
【課題】リフトで運搬される対象物品と設置対象位置との位置合わせを容易に行い得る技術を開示する。
【解決手段】リフト用補助具は、リフトの昇降部に固定されるベースと、前記ベース上に設けられ、前記リフトで運搬される対象物品の少なくとも一部を載置可能なテーブルと、前記ベースと前記テーブルの間に設けられる弾性体と、を備える。前記テーブルは、前記弾性体を変形させることによって、前記ベースに対して揺動可能である。
【選択図】図2
特許請求の範囲
【請求項1】
リフトの昇降部に固定されるベースと、
前記ベース上に設けられ、前記リフトで運搬される対象物品の少なくとも一部を載置可能なテーブルと、
前記ベースと前記テーブルの間に設けられる弾性体と、を備え、
前記テーブルは、前記弾性体を変形させることによって、前記ベースに対して揺動可能である、
リフト用補助具。
続きを表示(約 200 文字)
【請求項2】
前記テーブルは、前記ベース上に設けられる本体と、前記本体の上面に設けられる樹脂板とを有し、前記樹脂板の摩擦係数は前記本体の摩擦係数より小さい、請求項1に記載のリフト用補助具。
【請求項3】
前記対象物品は航空機関連部品である、請求項1に記載のリフト用補助具。
【請求項4】
前記弾性体は金属製のばねである、請求項1に記載のリフト用補助具。
発明の詳細な説明
【技術分野】
【0001】
本明細書で開示される技術は、リフト用補助具に関する。
続きを表示(約 1,300 文字)
【背景技術】
【0002】
特許文献1は、左右に所定の間隔で立設する一対のマストの前方に、フォーク等の昇降体を備えるリフトを開示する。特許文献1のリフトは、昇降体に載置又は垂下させた対象物品を所定位置まで持ち上げて運搬することができる。
【先行技術文献】
【特許文献】
【0003】
実用新案登録第3216452号公報
【発明の概要】
【発明が解決しようとする課題】
【0004】
特許文献1の技術では、昇降体はマストに沿って上下動できるに過ぎない。そのため、例えば、昇降体に載置した大型の部品(例えば航空機関連部品)に設けられるレールを、設置対象位置(例えば航空機本体)に設けられる溝にガイドさせることにより、大型の部品を設置対象位置に取り付ける場合などにおいて、マストの昇降体の位置を調整することで部品のレールと設置対象位置の溝との間の細かい位置合わせを適切に行うことが難しい場合がある。
【0005】
本明細書では、リフトで運搬される対象物品と設置対象位置との位置合わせを容易に行い得る技術を開示する。
【課題を解決するための手段】
【0006】
本明細書によって開示されるリフト用補助具は、リフトの昇降部に固定されるベースと、前記ベース上に設けられ、前記リフトで運搬される対象物品の少なくとも一部を載置可能なテーブルと、前記ベースと前記テーブルの間に設けられる弾性体と、を備える。前記テーブルは、前記弾性体を変形させることによって、前記ベースに対して揺動可能である。
【0007】
上記の構成によると、例えば対象物品に設けられているレールを、設置対象位置に設けられている溝にガイドさせることによって、対象物品を設置対象位置に取り付ける場合において、テーブルをベースに対して揺動させることで、レールの位置、角度等を細かく変えることができる。特に対象物品が大型の物品等である場合に、部品のレールと設置対象位置の溝との間の細かい位置合わせを容易に行うことができる。リフトで運搬される対象物品と設置対象位置との細かい位置合わせを容易に行い得る。
【0008】
前記テーブルは、前記ベース上に設けられる本体と、前記本体の上面に設けられる樹脂板とを有していてもよい。前記樹脂板の摩擦係数は前記本体の摩擦係数より小さくてもよい。
【0009】
この構成によると、対象物品の少なくとも一部を樹脂板上に載置させることができる。樹脂板の摩擦係数は本体の摩擦係数より小さい。そのため、樹脂板上に載置された対象物品を、樹脂板の上面に沿ってスライド移動させ得る。樹脂板上に載置させた対象物品を、樹脂板の上面に沿って前後左右方向に移動、又は回転させ得る。例えば、対象物品と設置対象位置との間の細かい位置合わせをより容易に行い得る。
【0010】
前記対象物品は航空機関連部品であってもよい。
(【0011】以降は省略されています)
この特許をJ-PlatPat(特許庁公式サイト)で参照する
関連特許
個人
自走手摺
3か月前
ユニパルス株式会社
吊具
4か月前
個人
海上コンテナ昇降装置
10か月前
ユニパルス株式会社
荷役装置
9か月前
ユニパルス株式会社
吊具装置
10か月前
株式会社豊田自動織機
荷役車両
8か月前
株式会社豊田自動織機
産業車両
11か月前
水戸工業株式会社
吊り具
6か月前
株式会社豊田自動織機
荷役車両
10か月前
ユニパルス株式会社
リフト装置
4か月前
株式会社いうら
車椅子用昇降機
2か月前
株式会社豊田自動織機
産業車両
1か月前
愛知製鋼株式会社
受け架台
1か月前
株式会社大林組
安全支援システム
1か月前
大栄産業株式会社
クランプ
5か月前
個人
垂直自動搬送機
1か月前
個人
エアバック式レスキュー用品
13日前
株式会社伊藤
滑り止め装置
2か月前
ユニパルス株式会社
荷役助力装置
4か月前
白山工業株式会社
バランサ
7か月前
ユニパルス株式会社
荷役助力装置
5か月前
ユニパルス株式会社
荷役助力装置
3か月前
株式会社キトー
タイヤ用吊具
5か月前
株式会社ユピテル
システム等
6か月前
株式会社五十鈴製作所
搬送装置
4か月前
大和ハウス工業株式会社
吊上具
2か月前
株式会社豊田自動織機
フォークリフト
7か月前
フジテック株式会社
エレベータ
9か月前
株式会社豊田自動織機
フォークリフト
1か月前
新英運輸株式会社
自動車用台車
5か月前
中国計量大学
電子安全クランプ
21日前
中坪造園有限会社
吊り荷降ろし具
4か月前
山崎産業株式会社
手摺り拭用器具
1か月前
フジテック株式会社
エスカレータ
6か月前
有限会社サエキ
玉掛用器具
10か月前
株式会社スギヤス
車両整備用リフト
10か月前
続きを見る
他の特許を見る