TOP
|
特許
|
意匠
|
商標
特許ウォッチ
Twitter
他の特許を見る
10個以上の画像は省略されています。
公開番号
2025119993
公報種別
公開特許公報(A)
公開日
2025-08-15
出願番号
2024015172
出願日
2024-02-02
発明の名称
解析装置及びプログラム
出願人
KDDI株式会社
代理人
個人
,
個人
主分類
G06T
7/62 20170101AFI20250807BHJP(計算;計数)
要約
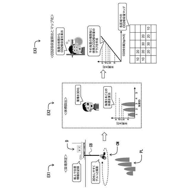
【課題】水中の物体について計測されている点群から、水生植物の占有範囲としての体積を算出することができる解析装置を提供する。
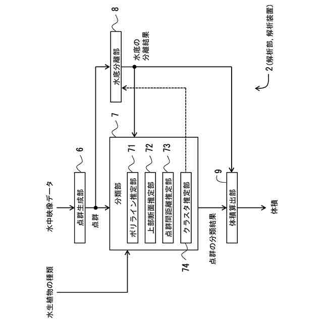
【解決手段】水中の物体について計測されている点群に対して分類を適用し、水生植物が連続範囲を占める1物体としての個体が該当する各々の部分点群を得る分類部7と、前記部分点群の各々に対して、対応する水生植物が占める水中範囲の体積を算出する体積算出部9と、を備える
【選択図】図4
特許請求の範囲
【請求項1】
水中の物体について計測されている点群に対して分類を適用し、水生植物が連続範囲を占める1物体としての個体が該当する各々の部分点群を得る分類部と、
前記部分点群の各々に対して、対応する水生植物が占める水中範囲の体積を算出する体積算出部と、を備えることを特徴とする解析装置。
続きを表示(約 1,000 文字)
【請求項2】
前記分類部は、前記点群における点の密度に基づくクラスタリングを行うことにより、前記各々の部分点群を得ることを特徴とする請求項1に記載の解析装置。
【請求項3】
前記分類部はさらに、前記点群における点の密度に基づくクラスタリングを行った結果の部分点群に対してポリラインの割り当てを受け付け、
前記体積算出部では、前記割り当てられたポリラインに応じた所定の3次元モデルの体積として、前記水中範囲の体積を算出することを特徴とする請求項2に記載の解析装置。
【請求項4】
前記分類部はさらに、前記割り当てられたポリラインのうち、短いと判定されるもの、または、向きが水平に近いと判定されるものを、前記個体に該当しないものと判定することを特徴とする請求項2に記載の解析装置。
【請求項5】
前記分類部はさらに、前記点群における点の密度に基づくクラスタリングを行った結果の部分点群に対して、所定サイズの3次元ウィンドウを水深方向でスライドさせ、当該スライドさせた断面に現れる点群の個別領域の数が、水深の浅い側で複数存在し、水深の深い側で複数から1つへと減少する場合に、
前記体積算出部では、前記水深の浅い側で複数存在する個別領域がそれぞれ、対応する水生植物が個体として占める水中範囲を有しているものとして、複数の体積を算出することを特徴とする請求項2に記載の解析装置。
【請求項6】
前記分類部でクラスタリングした結果のクラスタのうち、互いに近接していると判定される複数のクラスタが存在する場合は、
前記体積算出部では、当該複数のクラスタを1つにまとめたものを対象として、前記水中範囲の体積を算出することを特徴とする請求項2に記載の解析装置。
【請求項7】
前記点群から水底に該当する水底点群を分離して得る水底分離部をさらに備え、
前記分類部では、前記点群から前記水底点群を除外したものに対して前記分類を適用することを特徴とする請求項1に記載の解析装置。
【請求項8】
前記体積算出部は、前記部分点群を水深方向で区切った範囲ごとに定まる水平方向での占有範囲の面積を用いて、前記水中範囲の体積を算出することを特徴とする請求項1に記載の解析装置。
【請求項9】
コンピュータを請求項1ないし8のいずれかに記載の解析装置として機能させることを特徴とするプログラム。
発明の詳細な説明
【技術分野】
【0001】
本発明は、水中の物体について取得されている点群から、水生植物の占有範囲としての体積を算出する解析装置及びプログラムに関する。
続きを表示(約 1,800 文字)
【背景技術】
【0002】
アマモやコンブといった海草・海藻(以下、「海藻類」という)が存在する海洋生態系では、光合成などによって二酸化炭素(CO
2
)を吸収し、吸収したCO
2
の一部は土壌や海水中に留まる。ジャパンブルーエコノミー技術研究組合(JBE)では、海洋生態系によるCO
2
の吸収を対象とする、Jブルークレジット(登録商標)制度を創設した。この制度は、CO
2
吸収量に相当するクレジットの認証及び発行を行い、CO
2
削減を図る企業あるいは団体とのクレジット取引を促進することを企図する。
【0003】
クレジットを発行したい企業あるいは団体(別言すると、クレジット販売者)は、例えば、藻場の観測結果と共にクレジットの申請をJBEに対して行う。JBEは、藻場の観測結果を踏まえ、適切な量のクレジットを申請者に発行する。JBEは、申請の手引きを公開しており(例えば、非特許文献1)、この手引きによれば、藻場のCO
2
吸収量(ブルーカーボン量とも称される)は、藻場の面積とCO
2
の吸収係数との積によって決定される。吸収係数に関しては文献等に記載された値の利用が許容されるが、藻場の面積に関しては実測することが求められる。
【先行技術文献】
【特許文献】
【0004】
特開2023-054691号公報
【非特許文献】
【0005】
ジャパンブルーエコノミー技術研究組合(JBE)、"Jブルークレジット(R)認証申請の手引き -ブルーカーボンを活用した気候変動対策-Ver. 2.3"、[online]、令和5年8月、[令和5年12月19日検索]、インターネット<https://www.blueeconomy.jp/wp-content/uploads/jbc2023/20230816_J-BlueCredit_Guideline_v2.3.pdf>
【発明の概要】
【発明が解決しようとする課題】
【0006】
気候変動対策の実行を図るべく、クレジット取引が適切に行われることが望まれる。このため、ブルーカーボン量を精度良く見積もることが求められ、その前提となるデータとして、藻場における海藻類等の水生植物の分布を精度良く求めることが必要となる。
【0007】
しかしながら、前記手引きでは「藻場面積×吸収係数=CO
2
吸収量」として見積もっており、水生植物の分布は「藻場面積」として2次元分布で求めたものが利用されているに留まっている。水生植物は2次元平面的に分布するだけでなく、水中の深さ方向にも分布しており、3次元で水中内の占有体積をもって分布しているが、従来技術ではこの3次元分布を考慮できていなかった。
【0008】
一方で、映像等をもとに3次元分布のデータを比較的簡素に得ることができる従来技術として点群がある。例えば特許文献1では、鉄塔周辺を3次元計測して得られる点群を処理することで、ドローンが飛行できる空域を設定している。しかしながら、こうした従来技術で点群を扱う手法は、地上でのデータを扱うことを前提としており、水中に存在する水生植物の分布を扱うことをそもそも考慮したものではないため、当該分布を精度良く求めることはできなかった。
【0009】
以上のような従来技術の課題に鑑み、本発明は、水中の物体について計測されている点群から、水生植物の占有範囲としての体積を算出することができる解析装置及びプログラムを提供することを目的とする。
【課題を解決するための手段】
【0010】
前記目的を達成するため、本発明は解析装置であって、水中の物体について計測されている点群に対して分類を適用し、水生植物が連続範囲を占める1物体としての個体が該当する各々の部分点群を得る分類部と、前記部分点群の各々に対して、対応する水生植物が占める水中範囲の体積を算出する体積算出部と、を備えることを特徴とする。また、コンピュータを前記解析装置として機能させるプログラムであることを特徴とする。
【発明の効果】
(【0011】以降は省略されています)
この特許をJ-PlatPat(特許庁公式サイト)で参照する
関連特許
KDDI株式会社
光増幅器
24日前
KDDI株式会社
光増幅器
24日前
KDDI株式会社
光増幅器
11日前
KDDI株式会社
光増幅器
11日前
KDDI株式会社
光接続ノード
11日前
KDDI株式会社
緊急ネットワーク分離方法
12日前
KDDI株式会社
基地局及び基地局の制御方法
3日前
KDDI株式会社
情報処理装置及び情報処理方法
24日前
KDDI株式会社
情報処理装置及び情報処理方法
1か月前
KDDI株式会社
情報処理装置及び情報処理方法
1か月前
KDDI株式会社
情報処理装置及び情報処理方法
5日前
KDDI株式会社
情報処理装置及び情報処理方法
1か月前
KDDI株式会社
情報処理装置及び情報処理方法
24日前
KDDI株式会社
情報処理装置及び情報処理方法
4日前
KDDI株式会社
情報処理装置及び情報処理方法
10日前
KDDI株式会社
情報処理装置及び情報処理方法
10日前
KDDI株式会社
情報処理装置及び情報処理方法
1か月前
KDDI株式会社
基地局装置およびその通信方法
5日前
KDDI株式会社
情報処理装置及び情報処理方法
10日前
KDDI株式会社
情報処理装置及び情報処理方法
4日前
KDDI株式会社
情報処理装置及び情報処理方法
4日前
KDDI株式会社
情報処理装置及び情報処理方法
3日前
KDDI株式会社
制御装置、方法及びプログラム
4日前
KDDI株式会社
通信制御システム及び通信制御方法
18日前
KDDI株式会社
通信制御システム及び通信制御方法
18日前
KDDI株式会社
通信制御システム及び通信制御方法
18日前
KDDI株式会社
通信制御システム及び通信制御方法
18日前
KDDI株式会社
情報処理装置、方法及びプログラム
3日前
KDDI株式会社
ネットワーク制御装置及びプログラム
1か月前
KDDI株式会社
基地局装置、端末装置及び無線通信方法
3日前
KDDI株式会社
飛行体、情報処理装置及び情報処理方法
14日前
KDDI株式会社
認証装置、認証方法及び認証プログラム
1か月前
KDDI株式会社
通信装置、無線デバイス及びプログラム
1か月前
KDDI株式会社
通信装置、無線デバイス及びプログラム
14日前
KDDI株式会社
認証装置、認証方法及び認証プログラム
1か月前
KDDI株式会社
通信装置、無線デバイス及びプログラム
1か月前
続きを見る
他の特許を見る