TOP
|
特許
|
意匠
|
商標
特許ウォッチ
Twitter
他の特許を見る
10個以上の画像は省略されています。
公開番号
2025122836
公報種別
公開特許公報(A)
公開日
2025-08-22
出願番号
2024018524
出願日
2024-02-09
発明の名称
ダイヤフラムバルブおよび弁体
出願人
株式会社キッツエスシーティー
代理人
個人
主分類
F16K
1/36 20060101AFI20250815BHJP(機械要素または単位;機械または装置の効果的機能を生じ維持するための一般的手段)
要約
【課題】幅広い温度環境下での使用においても、簡易な構成で、調心機能を備えつつ気密性を高めることができるダイヤグラムバルブを提供すること。
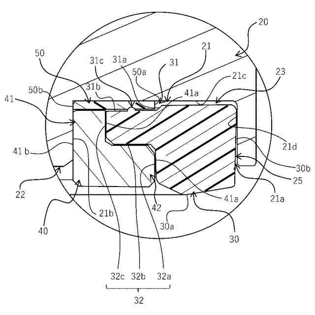
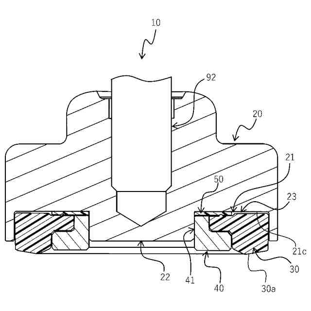
【解決手段】ダイヤフラムバルブ1は、弁室61eを気密に封止するダイヤフラム78によって吊り下げられ、かつ環状シール部材30が弁座面61dに当接した弁閉位置と弁座面61dから離れた弁開位置になるようにステム76に連動する弁体10を備え、弁体10は、筒状部41を有して環状シール部材30を保持部20と同心位置に保持するシール保持部材40と、シール保持部材40および環状シール部材30に挟持され、かつ保持部20と同心位置の環状収容部21内に保持された環状クッション部材50と、を有し、環状シール部材30は、環状クッション部材50より径外方向に拡大して環状収容部21の底面21cに向かい合う面と底面21cとの間に隙間23を形成した状態で環状収容部21内に保持されている。
【選択図】図3A
特許請求の範囲
【請求項1】
弁室を気密に封止するダイヤフラムによって吊り下げられ、かつ、環状収容部内に環状シール部材を保持した保持部を有して該環状シール部材が弁座面に当接した弁閉位置と前記弁座面から離れた弁開位置になるようにステムに連動する弁体を備え、
前記弁体は、前記環状収容部の内周面に筒内面を嵌め合わせる筒状部を有して前記環状シール部材を前記保持部と同心位置に保持するシール保持部材と、前記シール保持部材および前記環状シール部材の前記環状収容部の底面側の面と前記底面とに挟持され、かつ、内周面が該環状収容部の内周面に嵌め合わされて前記保持部と同心位置の前記環状収容部内に保持された環状クッション部材と、を有し、
前記環状シール部材は、前記環状クッション部材より径外方向に拡大して前記環状収容部の底面に向かい合う面と前記底面との間に隙間を形成した状態で前記環状収容部内に保持されたことを特徴とするダイヤフラムバルブ。
続きを表示(約 780 文字)
【請求項2】
前記環状クッション部材は、前記環状シール部材に比べてクッション性が高い材料からなる請求項1に記載のダイヤフラムバルブ。
【請求項3】
前記シール保持部材は、前記筒状部の端部に径外方向に鍔状に突設した鍔部を有し、
前記環状シール部材は、前記鍔部を含む前記筒状部の外周面に段状に当接される段状当接面が形成された請求項1に記載のダイヤフラムバルブ。
【請求項4】
前記環状シール部材は、前記環状収容部の底面側の面に前記環状クッション部材の外周面に僅かに離間した周側面を有して前記環状クッション部材が配置される凹部が形成され、
前記隙間は、前記凹部よりも径方向外側の前記環状シール部材の面と前記環状収容部の底面との間に形成した請求項1に記載のダイヤフラムバルブ。
【請求項5】
前記環状シール部材は、ポリイミド樹脂からなり、
前記環状クッション部材は、パーフルオロアルコキシアルカン樹脂からなる請求項1乃至4の何れか一つに記載のダイヤフラムバルブ。
【請求項6】
弁室を気密に封止するダイヤフラムによって吊り下げられ、かつ、環状収容部内に環状シール部材を保持した保持部を有して該環状シール部材が弁座面に当接した弁閉位置と前記弁座面から離れた弁開位置になるようにステムに連動し、
前記環状収容部の内周面に筒内面を嵌め合わせる筒状部を有して前記環状シール部材を前記保持部と同心位置に保持するシール保持部材と、前記シール保持部材および前記環状シール部材の前記環状収容部の底面側の面と前記底面とに挟持され、かつ、内周面が該環状収容部の内周面に嵌め合わされて前記保持部と同心位置の前記環状収容部内に保持された環状クッション部材と、を有することを特徴とする弁体。
発明の詳細な説明
【技術分野】
【0001】
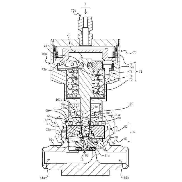
本発明は、ダイヤフラムバルブおよび弁体に関し、特に、弁室を気密に封止した状態で吊り下げられた弁体をステムに連動して弁開閉位置に移動するダイヤフラムバルブおよび弁体に関する。
続きを表示(約 2,500 文字)
【背景技術】
【0002】
従来、半導体製造装置や太陽電池製造装置、液晶製造装置などのガス供給配管系で用いられる開閉弁としては、デッドスペースが少なく、パーティクルの発生を抑えることが要求されており、この要求に応える弁としてダイヤフラムバルブが多く用いられている。
そして、ダイヤフラムバルブには、弁座シート等のシール部材をボデー側に設けるのでなく、ステムの移動に連動して動く弁体側に設けたものがある。
【0003】
このようなバルブは、弁閉状態における弁体と弁座の気密性を高めるため、弁体に設けたシール部材の弁座面に対する追従性を向上させること、および、吊り下げた状態の弁体の調心性能を向上させることが要求される。
また、昨今の高耐熱性の要求から、例えば、300℃以上の高温の制御流体を用いた高温環境下での使用も含めて気密性を維持することが重要になってきている。
そして、このような様々な要求に対応するため、各種技術が提案されている。
【0004】
例えば、特許文献1には、ダイヤフラムとそれに協働する弁エレメントにねじり荷重を受けさせずに開放位置と閉さ位置との間を移動させることができる作動機構を有したダイヤフラムバルブが記載されている。
この特許文献1に記載のダイヤフラムバルブは、閉さ運動を進行すると弾性シールリング160のシール面167と弁座域の間に作用する圧縮力が増大する。剛性リング152のコーナー156と弁座域との間の力も増大するがその程度は少ない。その理由は剛性が少なく一層弾力性のあるリング158が一層容易に圧縮力を受け剛性リング152を主体部78と弾性シールリング160に対して或る程度後退させるためである。この作用によって面167と弁座域との間の密封圧力を増大させながら剛性リング152を弁座域に接触させ続けることができる。また弾性シールリング160内に作用する圧縮力がフランジ部168によってスリーブ166に下向きの力を作用させ続ける。弁が最終的に閉さするとスリーブ166の下縁が弁座域と弾性シールリング160の円周上で線接触する。
【0005】
そして、特許文献2には、ダイヤフラムバルブではないが、吊り下げた弁体を用いるバルブとして、ベローズ12によって吊り下げられた弁体9を弁軸10(ステムに相当)に連動して弁開閉位置に移動するベローズシール弁が記載されている。
このベローズシール弁は、軸方向に往復動可能な弁軸10に支持された弁体9が、弁室4の壁部に突設された環状弁座8と当接可能な金属薄板14を具備しており、金属薄板14の背後には空所15が設けられている。この空所15には、クッション部材16が支持部材17と共に収容されている。
【0006】
また、特許文献3には、特許文献2と同様に、ベローズ13bによって吊り下げられた弁体14をスピンドル16(ステムに相当)に連動して弁開閉位置に移動するベローズバルブが記載されている。
このベローズバルブは、弁体14の底面14aとディスク20の底面20aとの間にパッキング30が挟着されている。
【先行技術文献】
【特許文献】
【0007】
昭62-288786号公報
実開平1-117971号公報
昭61-168375号公報
【発明の概要】
【発明が解決しようとする課題】
【0008】
しかしながら、特許文献1に記載のダイヤフラムバルブは、弁閉状態における弁体と弁座の気密性を確保するための主要なシール部材である弾性シールリング160が剛性リング152とスリーブ166の間にはさまれてしめつけられるため、本来のクッション性を十分に発揮させることが難しく、結果的に、気密性を高めることが難しいという問題があった。
また、特許文献2に記載のベローズシール弁は、弁体9に調心機構18を設けて調心するようにしているため、弁体9が煩雑な構成になる問題があった。
また、特許文献3に記載のベローズバルブは、パッキング30が、軸方向で弁体14の底面14aとディスク20の底面20aとに重なるように挟着されているだけであり、軸と同心の位置に保持する具体的な構成が開示されていないため、弁体14による調心機能を期待することはできない。しかも、ディスク20の底面20aの裏側に突出させた突起23、24が弁体14の底面14aを下側から押圧接触してシールするようになっているため、パッキング30のクッション性を十分に発揮させることが難しい。
このため、特許文献3に記載のベローズバルブは、気密性を高めることが難しいという問題があった。
【0009】
本発明は、従来の課題を解決するために開発したものであり、その目的とするところは幅広い温度環境下においても、簡易な構成で、調心機能を備えつつ気密性を高めることができるダイヤフラムバルブおよび弁体を提供することにある。
【課題を解決するための手段】
【0010】
上記目的を達成するため、請求項1に係る発明は、弁室を気密に封止するダイヤフラムによって吊り下げられ、かつ、環状収容部内に環状シール部材を保持した保持部を有して環状シール部材が弁座に当接した弁閉位置と弁座から離れた弁開位置になるようにステムに連動する弁体を備え、弁体は、環状収容部の内周面に筒内面を嵌め合わせる筒状部を有して環状シール部材を保持部と同心位置に保持するシール保持部材と、シール保持部材および環状シール部材の環状収容部の底面側の面と底面とに挟持され、かつ、内周面が環状収容部の内周面に嵌め合わされて保持部と同心位置の環状収容部内に保持された環状クッション部材と、を有し、環状シール部材は、環状クッション部材より径外方向に拡大して環状収容部の底面に向かい合う面と底面との間に隙間を形成した状態で環状収容部内に保持されたダイヤフラムバルブである。
(【0011】以降は省略されています)
この特許をJ-PlatPat(特許庁公式サイト)で参照する
関連特許
個人
流路体
8か月前
個人
鍋虫ねじ
1か月前
個人
回転伝達機構
2か月前
個人
ホース保持具
5か月前
個人
紛体用仕切弁
1か月前
個人
差動歯車用歯形
3か月前
個人
トーションバー
6か月前
個人
ジョイント
16日前
個人
ボルトナットセット
6か月前
個人
地震の揺れ回避装置
2か月前
個人
ナット
17日前
株式会社不二工機
電磁弁
3か月前
株式会社不二工機
電磁弁
4か月前
個人
固着具と成形品部材
8か月前
個人
回転式配管用支持具
7か月前
株式会社アイシン
駆動装置
8か月前
株式会社オンダ製作所
継手
8か月前
個人
吐出量監視装置
1か月前
カヤバ株式会社
ダンパ
3か月前
カヤバ株式会社
緩衝器
3か月前
株式会社ミクニ
弁装置
8か月前
株式会社ミクニ
弁装置
8か月前
株式会社三協丸筒
枠体
6か月前
カヤバ株式会社
緩衝器
3か月前
カヤバ株式会社
ダンパ
3か月前
カヤバ株式会社
緩衝器
6か月前
個人
ベルトテンショナ
7か月前
柿沼金属精機株式会社
分岐管
1か月前
株式会社ナジコ
自在継手
8か月前
株式会社不二工機
電磁弁
1か月前
株式会社ノーリツ
分配弁
2日前
個人
固着具と固着具の固定方法
4か月前
個人
固着具と固着具の固定方法
7か月前
個人
固着具と固着具の固定方法
4か月前
株式会社奥村組
制振機構
6日前
協和工業株式会社
空気弁
7か月前
続きを見る
他の特許を見る