TOP
|
特許
|
意匠
|
商標
特許ウォッチ
Twitter
他の特許を見る
公開番号
2025123691
公報種別
公開特許公報(A)
公開日
2025-08-25
出願番号
2024019302
出願日
2024-02-13
発明の名称
ステアリング装置
出願人
株式会社ジェイテクト
代理人
個人
主分類
B62D
1/183 20060101AFI20250818BHJP(鉄道以外の路面車両)
要約
【課題】伸縮可能なステアリング装置の安全性を高める。
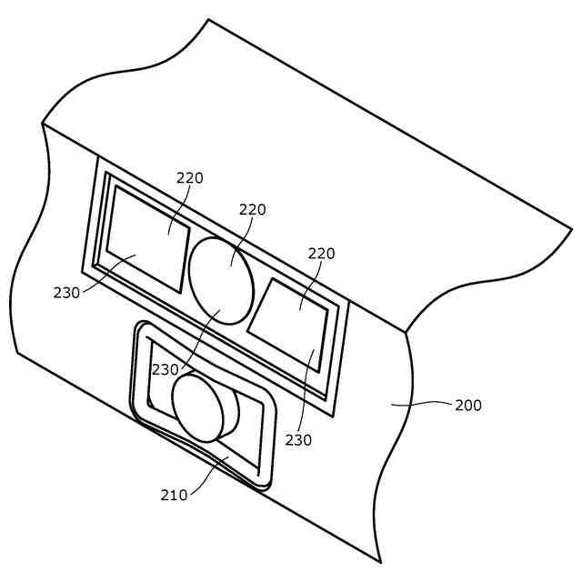
【解決手段】ステアリング装置100は、運転者が操作する操作部材210を、運転者による操作のための位置である通常位置と、通常位置よりも前方の前方位置との間で移動させる移動機構110と、移動機構110を制御する制御装置120と、を備え、制御装置120は、車両の情報や映像を表示するディスプレイ220の表示面に配置される静電容量式センサ230からのセンサ情報を取得する情報取得部121と、センサ情報に基づき前方位置、およびその近傍における手指の有無を検出する検出部122と、操作部材210を前方位置に移動させている際に検出部122により手指が検出された場合、操作部材210の動作を安全動作に切り替える移動制御部123と、を備える。
【選択図】図4
特許請求の範囲
【請求項1】
車両の操舵を行うためのステアリング装置であって、
運転者が操作する操作部材を、運転者による操作のための位置である通常位置と、前記通常位置よりも前方の前方位置との間で移動させる移動機構と、
前記移動機構を制御する制御装置と、を備え、
前記制御装置は、
前記車両の情報や映像を表示するディスプレイの表示面に配置される静電容量式センサからのセンサ情報を取得する情報取得部と、
前記センサ情報に基づき前記前方位置、およびその近傍における手指の有無を検出する検出部と、
前記操作部材を前記前方位置に移動させている際に前記検出部により手指が検出された場合、前記操作部材の動作を安全動作に切り替える移動制御部と、
を備えるステアリング装置。
続きを表示(約 310 文字)
【請求項2】
前記前方位置の近傍に配置され、前記ステアリング装置に関する情報を表示するディスプレイと、
前記ディスプレイの表示面に配置され、前記ディスプレイに表示される内容に対応する運転者の入力を受け付ける静電容量式センサと、
を備える請求項1に記載のステアリング装置。
【請求項3】
前記検出部は、
前記操作部材の移動領域の一部である第一領域に前記操作部材がある場合は、手指の検出感度を第一感度とし、前記第一領域よりも前記前方位置に近い第二領域に前記操作部材がある場合は、手指の検出感度を前記第一感度より高い第二感度にする
請求項1または2に記載のステアリング装置。
発明の詳細な説明
【技術分野】
【0001】
本発明は、ステアリングホイールなどの操作部材を停車中や自動運転等の際にダッシュボード等の車両部材の近傍に移動させることのできるステアリング装置に関する。
続きを表示(約 1,700 文字)
【背景技術】
【0002】
従来、停車中や自動運転等において運転時に操作される操作部材を車両部材内に格納する技術が提案されている。このような技術においては、操作部材の移動中に運転者と操作部材とが干渉する事が懸念される。例えば特許文献1には、操作部材を、車両部材の外形に沿うように移動させることによって、運転者と操作部材との干渉する可能性を低減する技術が記載されている。
【先行技術文献】
【特許文献】
【0003】
特開2021-20581号公報
【発明の概要】
【発明が解決しようとする課題】
【0004】
ところが、操作部材の移動経路を限定するだけでは、運転者の姿勢によっては操作部材と運転者が干渉してしまうなど課題が残存する。
【0005】
本発明は、上記課題に鑑みなされたものであり、所定領域に手指が存在した場合に操作部材の動作を安全動作に切り替えることのできるステアリング装置を提供する。
【課題を解決するための手段】
【0006】
本発明の1つであるステアリング装置は、車両の操舵を行うためのステアリング装置であって、運転者が操作する操作部材を、運転者による操作のための位置である通常位置と、前記通常位置よりも前方の前方位置との間で移動させる移動機構と、前記移動機構を制御する制御装置と、を備え、前記制御装置は、前記車両の情報や映像を表示するディスプレイの表示面に配置される静電容量式センサからのセンサ情報を取得する情報取得部と、前記センサ情報に基づき前記前方位置、およびその近傍における手指の有無を検出する検出部と、前記操作部材を前記前方位置に移動させている際に前記検出部により手指が検出された場合、前記操作部材の動作を安全動作に切り替える移動制御部と、を備える。
【発明の効果】
【0007】
本発明によれば、安全性の高いステアリング装置を提供することができる。
【図面の簡単な説明】
【0008】
操作部材を通常位置に配置した実施の形態1に係るステアリング装置を車両部材と共に示す斜視図である。
操作部材を前方位置に配置した実施の形態1に係るステアリング装置を車両部材と共に示す斜視図である。
操作部材が取り付けられた実施の形態1に係るステアリング装置100などの機能を示す図である。
実施の形態1に係る制御装置の機能構成を示すブロック図である。
操作部材を通常位置に配置した実施の形態2に係るステアリング装置を車両部材と共に示す斜視図である。
操作部材が取り付けられた実施の形態2に係るステアリング装置の機能を示す図である。
実施の形態2に係る制御装置の機能構成を示すブロック図である。
【発明を実施するための形態】
【0009】
以下、本発明に係るステアリング装置の実施の形態について、図面を参照しつつ説明する。なお、以下の実施の形態は、本発明を説明するために一例を挙示するものであり、本発明を限定する主旨ではない。例えば、以下の実施の形態において示される形状、構造、材料、構成要素、相対的位置関係、接続状態、数値、数式、方法における各段階の内容、各段階の順序などは、一例であり、以下に記載されていない内容を含む場合がある。また、平行、直交などの幾何学的な表現を用いる場合があるが、これらの表現は、数学的な厳密さを示すものではなく、実質的に許容される誤差、ずれなどが含まれる。また、同時、同一などの表現も、実質的に許容される範囲を含んでいる。
【0010】
また、図面は、本発明を説明するために適宜強調、省略、または比率の調整を行った模式的な図となっており、実際の形状、位置関係、および比率とは異なる。また、図中に示す場合があるX軸、Y軸、Z軸は、図の説明のために任意に設定した直交座標を示している。つまりZ軸は、鉛直方向に沿う軸とは限らず、X軸、Y軸は、水平面内に存在するとは限らない。
(【0011】以降は省略されています)
この特許をJ-PlatPat(特許庁公式サイト)で参照する
関連特許
個人
カート
2か月前
個人
走行装置
3か月前
個人
電動走行車両
3か月前
個人
乗り物
4か月前
個人
発音装置
6か月前
個人
閂式ハンドル錠
3か月前
個人
折り畳み自転車
10か月前
個人
電動モビリティ
7か月前
個人
駐輪設備
28日前
個人
自転車用傘捕捉具
11か月前
個人
ボギー・フレーム
1か月前
個人
ルーフ付きトライク
2か月前
個人
ルーフ付きトライク
1か月前
個人
自由方向乗車自転車
7か月前
個人
体重掛けリフト台車
10か月前
個人
“zen-go.”
2か月前
個人
アタッチメント
11か月前
個人
パワーアシスト自転車
1か月前
個人
自転車用荷物台
10か月前
個人
キャンピングトライク
8か月前
個人
ステアリングの操向部材
8か月前
株式会社CPM
駐輪機
11か月前
個人
フロントフットブレーキ。
3か月前
株式会社三五
リアサブフレーム
10か月前
株式会社豊田自動織機
産業車両
4か月前
個人
ホイールハブ駆動構造
3か月前
個人
乗用自動車のディフューザー
7日前
学校法人千葉工業大学
車両
9か月前
学校法人千葉工業大学
車両
9か月前
豊田合成株式会社
操舵装置
11か月前
ヤマハ発動機株式会社
車両
11か月前
ヤマハ発動機株式会社
車両
11か月前
ヤマハ発動機株式会社
車両
11か月前
ヤマハ発動機株式会社
車両
11か月前
学校法人千葉工業大学
車両
9か月前
豊田鉄工株式会社
小型車両
2か月前
続きを見る
他の特許を見る