TOP
|
特許
|
意匠
|
商標
特許ウォッチ
Twitter
他の特許を見る
10個以上の画像は省略されています。
公開番号
2025128828
公報種別
公開特許公報(A)
公開日
2025-09-03
出願番号
2024025766
出願日
2024-02-22
発明の名称
変換装置集積体
出願人
株式会社ダイヘン
代理人
個人
,
個人
主分類
H02M
3/00 20060101AFI20250827BHJP(電力の発電,変換,配電)
要約
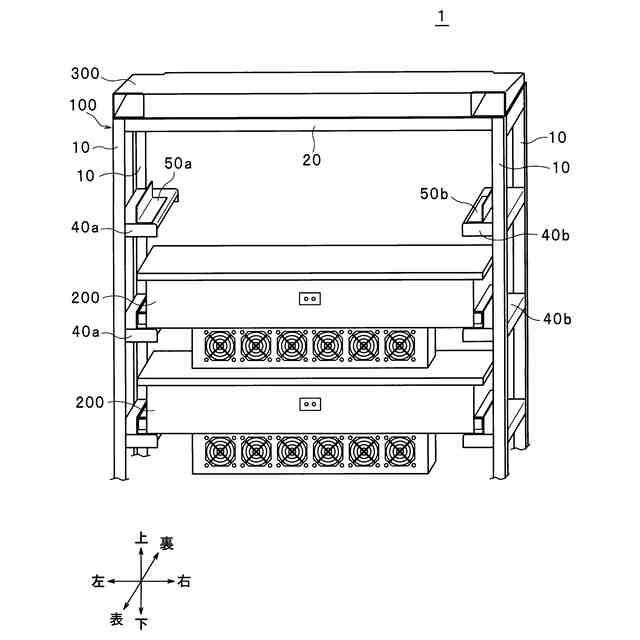
【課題】より簡単に電力変換装置の大容量化を実現できる変換装置集積体を提供する。
【解決手段】複数の電力変換装置200が厚み方向を上下方向にして集積された変換装置集積体1であって、平面視で矩形をなすように配設された、上下方向に延在する4つのコラム10と、上下方向に隔てられ、一対のコラム10間で横架された複数の第1フレーム40と、各第1フレーム40に対応して、前記一対のコラム10と対向する他の一対のコラム10間で横架された第2フレーム40とを備え、各電力変換装置200は、第1フレーム40及び第2フレーム40上に保持されている。
【選択図】図1
特許請求の範囲
【請求項1】
複数の電力変換装置が厚み方向を上下方向にして集積された変換装置集積体であって、
平面視で矩形をなすように配設された、上下方向に延在する4つのコラムと、
上下方向に隔てられ、一対のコラム間で横架された複数の第1フレームと、
各第1フレームに対応して、前記一対のコラムと対向する他の一対のコラム間で横架された第2フレームとを備え、
各電力変換装置は、前記第1フレーム及び前記第2フレーム上に保持されている変換装置集積体。
続きを表示(約 750 文字)
【請求項2】
各電力変換装置は電子部品が収納された筐体を備え、
前記筐体は前記第1フレーム及び前記第2フレームの一端部寄りに配設されており、
前記第1フレーム及び前記第2フレームの他端部側の前記筐体の側壁には、AC端子及びDC端子が設けられている請求項1に記載の変換装置集積体。
【請求項3】
前記第1フレーム及び前記第2フレームの前記一端部側にて、前記コラム同士の上端部を連結する横架部材を備えており、
上下方向において、最上位の電力変換装置及び前記横架部材間の間隙は、前記電力変換装置同士間の間隙よりも広い請求項2に記載の変換装置集積体。
【請求項4】
前記筐体の下面には、送風ファンが収納された収納箱が突設されており、
前記収納箱は、前記筐体の前記側壁に隣り合う前記筐体の両側壁から、該両側壁の対向方向に隔てて設けられている請求項2に記載の変換装置集積体。
【請求項5】
前記第1フレーム及び前記第2フレーム上に前記筐体の前記両側壁と対向するように夫々設けられ、前記第1フレーム及び前記第2フレームに沿って延びるレール部材を備え、
各レール部材は、
前記筐体の前記両側壁以上であり、前記第1フレーム及び前記第2フレームよりも短い長さを有し、
非塗装状態である請求項4に記載の変換装置集積体。
【請求項6】
前記筐体の前記両側壁のうち、一方の側壁には、前記電子部品を制御するための制御端子が設けられており、
前記一方の側壁及び該一方の側壁近傍のコラム間の間隙は、他方の側壁及び該他方の側壁近傍のコラム間の間隙よりも広い請求項4に記載の変換装置集積体。
発明の詳細な説明
【技術分野】
【0001】
本発明は、変換装置集積体に関する。
続きを表示(約 1,300 文字)
【背景技術】
【0002】
最近、太陽光発電、風力発電等の再生可能エネルギーに対する関心が高まっており、これに伴って、再生可能エネルギーのマネジメントにおいて電力貯蔵(ESS)技術の開発も盛んにおこなわれている。
【0003】
例えば、特許文献1には、複数の蓄電素子及び記憶装置を備える保守支援システムにおいて、記憶装置に逐次記憶してある各蓄電素子に関する測定データに基づいて蓄電素子の異常の予兆を検知し、検知された異常の予兆に対応する保守作業に係る情報を、保守作業の作業者に通知することが開示されている。
【先行技術文献】
【特許文献】
【0004】
特開2023-168390号公報
【発明の概要】
【発明が解決しようとする課題】
【0005】
再生可能エネルギーのマネジメントにおいては、例えば太陽光発電、風力発電等で作られた不安定な電気(直流電力)を家庭、ビル、工場などで使える安定な電気(交流電力)に変換する電力変換装置が用いられる。そして、近年、太陽光発電、風力発電等の規模が大きくなりつつあり、これに伴って電力変換装置の大容量化が要求されている。
【0006】
しかし、特許文献1の保守支援システムではこのような問題に対して工夫されておらず、対応できない。
【0007】
本発明は斯かる事情に鑑みてなされたものであり、より簡単に電力変換装置の大容量化を実現できる変換装置集積体を提供することを目的とする。
【課題を解決するための手段】
【0008】
本発明に係る変換装置集積体は、複数の電力変換装置が厚み方向を上下方向にして集積された変換装置集積体であって、平面視で矩形をなすように配設された、上下方向に延在する4つのコラムと、上下方向に隔てられ、一対のコラム間で横架された複数の第1フレームと、各第1フレームに対応して、前記一対のコラムと対向する他の一対のコラム間で横架された第2フレームとを備え、各電力変換装置は、前記第1フレーム及び前記第2フレーム上に保持されている。
【発明の効果】
【0009】
本発明によれば、より簡単に電力変換装置の大容量化を実現できる。
【図面の簡単な説明】
【0010】
実施形態1に係る変換装置集積体の一例を示す例示図である。
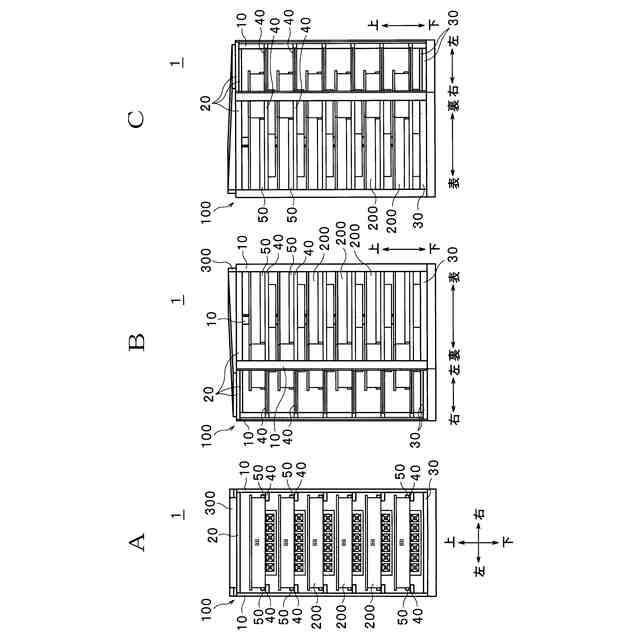
変換装置集積体の枠体から、最上段の電力変換装置を取り除いた状態を示す図である。
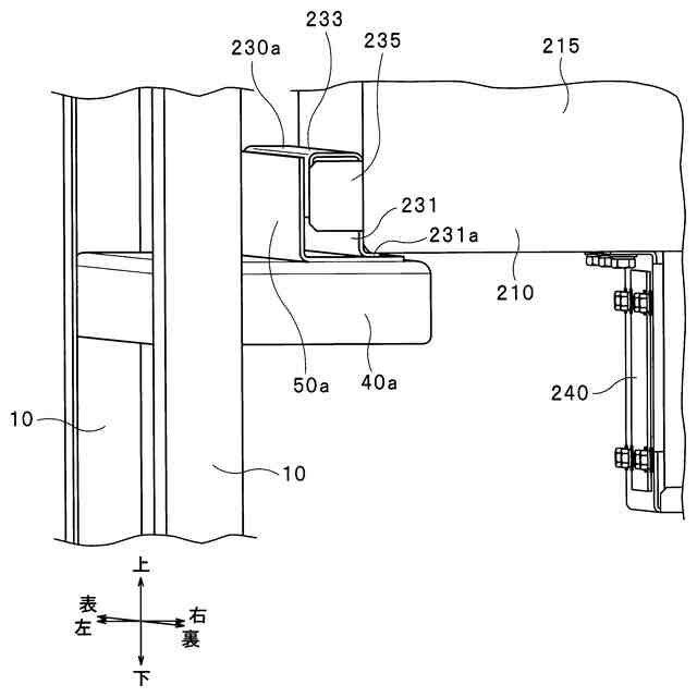
変換装置集積体の枠体の扁平フレームを示す斜視図である。
変換装置集積体の電力変換装置を示す斜視図である。
変換装置集積体の電力変換装置の下方を示す斜視図である。
変換装置集積体の電力変換装置の側面を示す側面図である。
変換装置集積体の電力変換装置の摺動部を示す斜視図である。
組立完了後の変換装置集積体を示す図である。
変換装置集積体の組立完了時における摺動部と案内レールとの位置関係を示す図である。
実施形態2に係る変換装置集積体の一例を示す例示図である。
【発明を実施するための形態】
(【0011】以降は省略されています)
この特許をJ-PlatPat(特許庁公式サイト)で参照する
関連特許
株式会社ダイヘン
充電装置
15日前
株式会社ダイヘン
充電装置
15日前
株式会社ダイヘン
搬送装置
15日前
株式会社ダイヘン
充電装置
15日前
株式会社ダイヘン
制御装置
15日前
株式会社ダイヘン
充電装置
15日前
株式会社ダイヘン
回生ユニット
16日前
株式会社ダイヘン
電力システム
18日前
株式会社ダイヘン
溶接電源装置
15日前
株式会社ダイヘン
電力変換装置
18日前
株式会社ダイヘン
絶縁紙巻回装置
23日前
株式会社ダイヘン
変圧器組立装置
15日前
株式会社ダイヘン
インバータ装置
15日前
株式会社ダイヘン
パルス電源装置
15日前
株式会社ダイヘン
インバータ装置
10日前
株式会社ダイヘン
プラズマ発生器
26日前
株式会社ダイヘン
ロボットシステム
23日前
株式会社ダイヘン
ロボットシステム
26日前
株式会社ダイヘン
熱加工用電源装置
2日前
株式会社ダイヘン
パワーモジュール
15日前
株式会社ダイヘン
パワーモジュール
15日前
株式会社ダイヘン
パワーモジュール
15日前
株式会社ダイヘン
アーク溶接システム
15日前
株式会社ダイヘン
直流パルス電源装置
16日前
株式会社ダイヘン
制御装置及び研削システム
15日前
株式会社ダイヘン
サブマージアーク溶接システム
15日前
株式会社ダイヘン
サブマージアーク溶接システム
15日前
株式会社ダイヘン
充電装置、および、電力システム
8日前
株式会社ダイヘン
通信システム、および、通信方法
16日前
株式会社ダイヘン
絶縁紙巻回装置及び絶縁紙巻回方法
23日前
株式会社ダイヘン
変圧器組立方法及び変圧器組立装置
15日前
株式会社ダイヘン
溶接検査装置、形状計測装置および外観検査装置
16日前
株式会社ダイヘン
搬送ロボットの教示システム、および搬送ロボットの教示方法
15日前
株式会社ダイヘン
搬送ロボットの教示システム、および搬送ロボットの教示方法
15日前
株式会社ダイヘン
フラットパネル製造システム及びそれに用いられるロボット制御装置
16日前
株式会社ダイヘン
フラットパネル製造システム及びそれに用いられるロボット制御装置
16日前
続きを見る
他の特許を見る