TOP
|
特許
|
意匠
|
商標
特許ウォッチ
Twitter
他の特許を見る
公開番号
2025128979
公報種別
公開特許公報(A)
公開日
2025-09-03
出願番号
2024037621
出願日
2024-02-22
発明の名称
貯水槽
出願人
タニコー株式会社
代理人
主分類
F25D
13/00 20060101AFI20250827BHJP(冷凍または冷却;加熱と冷凍との組み合わせシステム;ヒートポンプシステム;氷の製造または貯蔵;気体の液化または固体化)
要約
【課題】 熱媒体の熱を効率良く貯水槽の水に伝えることで、短時間で調理物の温度調整ができる温度調整貯水装置であって、流し台としても使用できる温度調整貯水装置を提供する。
【解決手段】 間に空隙を有する二重壁構造の貯水槽にて、空隙に熱媒体を流通させた。貯水槽の外側全面を断熱材で覆って外気との熱交換を低減した。貯水槽の底部に開閉可能な排水孔を設けた。
【選択図】図1
特許請求の範囲
【請求項1】
間に空隙を有する二重壁構造の貯水槽にて、前記空隙に熱媒体を流通させ、前記貯水槽の底部に開閉自在の排水孔を設けた、ことを特徴とする貯水槽。
続きを表示(約 210 文字)
【請求項2】
前記貯水槽の外側を発泡合成樹脂で覆ったことを特徴とする、請求項1記載の貯水槽。
【請求項3】
前記発泡合成樹脂がウレタンフォームであることを特徴とする、請求項2記載の貯水槽。
【請求項4】
間に空隙を有する二重壁構造の貯水槽にて、前記空隙に熱媒体を流通させ、前記貯水槽の外側に隙間を開けて貯水槽外装があり、前記隙間にウレタンフォームを充填した、ことを特徴とする貯水槽。
発明の詳細な説明
【技術分野】
【0001】
本発明は、調理物を短時間で冷やすことができる冷却貯水槽、または、調理物を短時間で温めることができる加熱貯水槽に関し、流し台としても使用できる温度調整貯水槽に関する。
続きを表示(約 1,500 文字)
【0002】
以下、温度調整貯水槽の例として冷却貯水槽について記載するが、短時間で調理物の温度調整ができる特徴は加熱貯水槽と共通する。
【背景技術】
【0003】
飲食店等では熱い汁やスープを短時間で冷やすことがある。熱い状態で冷蔵庫や冷凍庫に入れると冷蔵庫や冷凍庫に過大な負荷が掛かってしまうために、熱い汁やスープを入れた容器を貯水槽の冷水に浸して冷やすことが一般的に行われている。冷水は、貯水槽の中に氷を入れたり、チラー(熱媒体を冷却して循環させる装置)の熱媒体が通る金属製の管を貯水槽の外側に密着させて巻き回したり、チラーの熱媒体が通る金属製の管をコイル状に巻いて貯水槽に浸漬したりして得ている。
【0004】
しかし、氷で冷やす場合は氷を補充する手間が生じるという問題があった。また、熱媒体が通る金属製の管を貯水槽の外側に密着させて巻き回す場合には、管と貯水槽の接触面積が少ないために熱交換の効率が低いという問題があり、熱媒体が通る金属製の管をコイル状に巻いて貯水槽に浸漬する場合には、コイルに汚れが付着して清掃が面倒になるという問題があった。更に、貯水槽は一般的にステンレスなどの熱伝導性が良い金属製であるため外気を冷やしてしまう無駄があって熱交換の効率を下げていた。
【発明の概要】
【発明が解決しようとする課題】
【0005】
本発明の課題は、熱媒体の熱を効率良く貯水槽の水に伝えることで、短時間で調理物の温度調整ができる貯水槽であって、流し台としても使用できる貯水槽を提供することである。
【課題を解決するための手段】
【0006】
熱交換の効率を上げるために熱媒体との接触面積を広げることは有効な手段である。また、熱媒体の熱を無駄にしないことも大事である。そのため、貯水槽を間に空隙を有する二重壁構造とし、空隙に冷却された熱媒体を流通させて貯水槽に溜めた水を冷やすようにした。また、貯水槽の外側全面を断熱材で覆うことで冷却された熱媒体が外気を冷やしてしまう無駄を無くした。更に、貯水槽の底部に開閉可能な排水孔を設けた。
【発明の効果】
【0007】
以下、間に空隙を有する二重壁構造の貯水槽にて、内側を貯水内側槽、外側を貯水外側槽と称する。間に空隙を有する二重壁構造の貯水槽は、空隙に冷却された熱媒体を流通させると、貯水槽に溜めた水と冷却された熱媒体が貯水内側槽全面を介して熱交換することになり、熱交換の効率がとても高くなる。また、貯水外側槽全面を断熱材で覆うと、冷却された熱媒体が外気を冷やすことがなくなるので、無駄に熱媒体の温度が高くなることがない。故に、熱い調理物を入れた容器を貯水槽に浸した際に、貯水槽の冷水の温度が上がっても短時間で元の温度に戻ることができるので、熱い調理物を短時間で冷やすことができる。また、貯水槽の底部に開閉可能な排水孔を設けたので冷却貯水槽として使用しないときは流し台として使用可能になるが、清掃の手間が増えることはない。
【図面の簡単な説明】
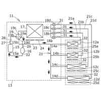
【0008】
冷却貯水装置全体図
冷却貯水装置分解図
貯水槽
貯水槽A-A’断面図
冷却貯水装置側面図
【発明を実施するための形態】
【0009】
図面を参照しながら、本発明の実施形態を説明する。
【0010】
図1は冷却貯水装置1の全体の概略を示す図である。脚部はキャスターにしても良い。
(【0011】以降は省略されています)
この特許をJ-PlatPat(特許庁公式サイト)で参照する
関連特許
ホシザキ株式会社
冷凍装置
4日前
フクシマガリレイ株式会社
断熱扉
今日
フクシマガリレイ株式会社
冷却貯蔵庫
4日前
ダイキン工業株式会社
冷凍装置
11日前
フクシマガリレイ株式会社
ショーケース
13日前
ダイキン工業株式会社
冷媒充填方法
11日前
フクシマガリレイ株式会社
商品販売システム
6日前
株式会社富士通ゼネラル
冷凍サイクル装置
12日前
株式会社前川製作所
冷却装置
11日前
株式会社富士通ゼネラル
冷凍サイクル装置
5日前
株式会社富士通ゼネラル
冷凍サイクル装置
12日前
東芝ライフスタイル株式会社
冷却装置
6日前
東芝ライフスタイル株式会社
冷却装置
6日前
日本碍子株式会社
空調システム
6日前
ダイキン工業株式会社
冷凍装置
14日前
三菱重工サーマルシステムズ株式会社
蒸発器
14日前
東プレ株式会社
冷凍装置及び冷凍装置の運転方法
12日前
SWCC株式会社
超電導ケーブルの冷却システム
11日前
大陽日酸株式会社
低温ガス発生装置
4日前
株式会社 E&E SYSTEM
二酸化炭素回収システム
7日前
ダイキン工業株式会社
冷凍装置、および臭気成分の供給方法
11日前
三菱電機株式会社
ヒートポンプ装置
今日
ダイキン工業株式会社
熱源ユニット及び冷凍装置
14日前
エスペック株式会社
雪細分装置及び降雪装置
12日前
株式会社富士通ゼネラル
冷凍サイクル装置
12日前
株式会社富士通ゼネラル
多室型空気調和機
12日前
大陽日酸株式会社
希釈冷凍機及びその制御方法
今日
アサヒビール株式会社
容器詰飲料用冷却器
5日前
ダイキン工業株式会社
磁気冷凍ユニット及び冷凍装置
7日前
パナソニックIPマネジメント株式会社
冷凍装置
4日前
パナソニックIPマネジメント株式会社
冷凍装置
4日前
パナソニックIPマネジメント株式会社
冷凍装置
4日前
パナソニックIPマネジメント株式会社
冷凍装置
4日前
三菱重工サーマルシステムズ株式会社
輸送用冷凍機械
4日前
ダイキン工業株式会社
監視装置、監視システム、監視方法、監視プログラム
11日前
株式会社富士通ゼネラル
冷凍サイクル装置及び冷凍サイクル装置の制御方法
12日前
続きを見る
他の特許を見る