TOP
|
特許
|
意匠
|
商標
特許ウォッチ
Twitter
他の特許を見る
10個以上の画像は省略されています。
公開番号
2025154981
公報種別
公開特許公報(A)
公開日
2025-10-14
出願番号
2024047097
出願日
2024-03-22
発明の名称
磁気冷凍ユニット及び冷凍装置
出願人
ダイキン工業株式会社
代理人
弁理士法人前田特許事務所
主分類
F25B
21/00 20060101AFI20251003BHJP(冷凍または冷却;加熱と冷凍との組み合わせシステム;ヒートポンプシステム;氷の製造または貯蔵;気体の液化または固体化)
要約
【課題】必要最低限な磁石量で、磁気作業物質に対して適切な磁場を印加できるようにする。
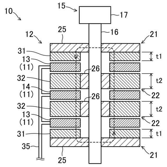
【解決手段】2つの第1回転体(21)は、回転軸(16)の軸方向に間隔をあけて配置される。第2回転体(22)は、2つの第1回転体(21)の間に配置される。第1磁気作業物質(13)は、第1回転体(21)と第2回転体(22)との間に配置される。第1回転体(21)には、第1磁石(31)が設けられる。第2回転体(22)には、第2磁石(32)が設けられる。第1磁石(31)の起磁力F1、第2磁石(32)の起磁力F2は、F1<F2<2×F1という条件を満たす。
【選択図】図2
特許請求の範囲
【請求項1】
回転軸(16)と、
前記回転軸(16)の軸方向に間隔をあけて配置され、前記回転軸(16)とともに回転する2つの第1回転体(21)と、
2つの前記第1回転体(21)の間に配置され、前記回転軸(16)とともに回転する第2回転体(22)と、
前記第1回転体(21)と前記第2回転体(22)との間に配置された第1磁気作業物質(13)と、
前記第1回転体(21)に設けられ、前記回転軸(16)の軸方向に対向して前記第1磁気作業物質(13)に磁場を印加する第1磁石(31)と、
前記第2回転体(22)に設けられ、前記回転軸(16)の軸方向に対向して前記第1磁気作業物質(13)に磁場を印加する第2磁石(32)と、を備え、
前記第1磁石(31)の起磁力F1、前記第2磁石(32)の起磁力F2が、F1<F2<2×F1という条件を満たす
磁気冷凍ユニット。
続きを表示(約 540 文字)
【請求項2】
請求項1の磁気冷凍ユニットにおいて、
前記第2回転体(22)は、前記回転軸(16)の軸方向に間隔をあけて2つ以上設けられ、
2つの前記第2回転体(22)の間に配置された第2磁気作業物質(14)を備える
磁気冷凍ユニット。
【請求項3】
請求項1又は2の磁気冷凍ユニットにおいて、
前記第1磁石(31)及び前記第2磁石(32)は、保磁力が同じ材料で構成され、
前記第1磁石(31)の厚みt1、前記第2磁石(32)の厚みt2が、t1<t2<2×t1という条件を満たす
磁気冷凍ユニット。
【請求項4】
請求項1又は2の磁気冷凍ユニットにおいて、
前記第1磁石(31)及び前記第2磁石(32)は、巻線(40)に通電することで起磁力を生ずる電磁石(50)で構成され、
前記第1磁石(31)と前記第2磁石(32)とは、前記巻線(40)のターン数及び通電する電流値の少なくとも一方が異なる
磁気冷凍ユニット。
【請求項5】
請求項1又は2の磁気冷凍ユニット(10)と、
前記磁気冷凍ユニット(10)と熱交換する熱媒体回路(2)と、を備えた冷凍装置。
発明の詳細な説明
【技術分野】
【0001】
本開示は、磁気冷凍ユニット及び冷凍装置に関するものである。
続きを表示(約 1,300 文字)
【背景技術】
【0002】
特許文献1には、周状に複数の磁石が配置された円板と、複数の磁石がそれぞれ対向するように間隔をあけて円板を積層することによって形成される磁場作用空間に配置された磁気作業物質と、円板が固定された回転軸(シャフト)を回転させる駆動機構と、を備えた回転磁場発生装置が開示されている。
【先行技術文献】
【特許文献】
【0003】
国際公開第2022/190586号
【発明の概要】
【発明が解決しようとする課題】
【0004】
ところで、回転軸の軸方向に3つ以上の磁石を配置し、磁石間に配置された磁気作業物質に磁場を印加する場合に、起磁力が同じ磁石を用いると、磁気作業物質が必要とする印加磁場強度に対して、磁石量が過剰になり、コストが増大するという問題がある。
【0005】
本開示の目的は、必要最低限な磁石量で、磁気作業物質に対して適切な磁場を印加できるようにすることにある。
【課題を解決するための手段】
【0006】
本開示の第1の態様は、回転軸(16)と、前記回転軸(16)の軸方向に間隔をあけて配置され、前記回転軸(16)とともに回転する2つの第1回転体(21)と、2つの前記第1回転体(21)の間に配置され、前記回転軸(16)とともに回転する第2回転体(22)と、前記第1回転体(21)と前記第2回転体(22)との間に配置された第1磁気作業物質(13)と、前記第1回転体(21)に設けられ、前記回転軸(16)の軸方向に対向して前記第1磁気作業物質(13)に磁場を印加する第1磁石(31)と、前記第2回転体(22)に設けられ、前記回転軸(16)の軸方向に対向して前記第1磁気作業物質(13)に磁場を印加する第2磁石(32)と、を備え、前記第1磁石(31)の起磁力F1、前記第2磁石(32)の起磁力F2が、F1<F2<2×F1という条件を満たす磁気冷凍ユニットである。
【0007】
第1の態様では、第1磁石(31)の起磁力と、第2磁石(32)の起磁力とを適切に設定することで、必要最低限な磁石量で、第1磁気作業物質(13)に対して適切な磁場を印加することができ、第1磁石(31)及び第2磁石(32)のコスト低減を図ることができる。
【0008】
本開示の第2の態様は、第1の態様の磁気冷凍ユニットにおいて、前記第2回転体(22)は、前記回転軸(16)の軸方向に間隔をあけて2つ以上設けられ、2つの前記第2回転体(22)の間に配置された第2磁気作業物質(14)を備える。
【0009】
第2の態様では、第2回転体(22)を複数設けることで、第2磁気作業物質(14)に対して磁場を印加することができる。
【0010】
本開示の第3の態様は、第1又は2の態様の磁気冷凍ユニットにおいて、前記第1磁石(31)及び前記第2磁石(32)は、保磁力が同じ材料で構成され、前記第1磁石(31)の厚みt1、前記第2磁石(32)の厚みt2が、t1<t2<2×t1という条件を満たす。
(【0011】以降は省略されています)
この特許をJ-PlatPat(特許庁公式サイト)で参照する
関連特許
タニコー株式会社
貯水槽
1か月前
アクア株式会社
冷蔵庫
1か月前
ホシザキ株式会社
製氷機
20日前
個人
ヒートポンプ型空気調和機
26日前
富士電機株式会社
冷却装置
19日前
富士ベンダーサービス株式会社
保管庫
28日前
富士電機株式会社
冷却システム
1か月前
ダイキン工業株式会社
冷凍装置
5日前
フクシマガリレイ株式会社
ショーケース
7日前
三菱重工冷熱株式会社
低温冷水供給装置
26日前
アクア株式会社
冷蔵庫
13日前
ダイキン工業株式会社
冷媒充填方法
5日前
シャープ株式会社
冷蔵庫
1か月前
ホシザキ株式会社
液体凍結装置
1か月前
フクシマガリレイ株式会社
商品販売システム
今日
シャープ株式会社
冷蔵庫
26日前
株式会社アイシン
冷暖房システム
12日前
島田工業株式会社
製氷装置及び製氷方法
13日前
株式会社富士通ゼネラル
冷凍サイクル装置
6日前
株式会社オカムラ
故障予知システム
20日前
株式会社前川製作所
冷却装置
5日前
株式会社富士通ゼネラル
冷凍サイクル装置
6日前
タキゲン製造株式会社
冷蔵庫の庫内気圧調整装置
1か月前
東芝ライフスタイル株式会社
冷却装置
今日
三菱重工冷熱株式会社
冷却装置
28日前
日本碍子株式会社
空調システム
今日
三菱重工冷熱株式会社
冷却装置
1か月前
東芝ライフスタイル株式会社
冷却装置
今日
ダイキン工業株式会社
冷凍装置
20日前
富士電機株式会社
店舗用冷却装置制御システム
20日前
ホシザキ株式会社
冷却貯蔵庫
1か月前
ホシザキ株式会社
冷却貯蔵庫
14日前
ダイキン工業株式会社
冷凍装置
8日前
アイスマン株式会社
造雪装置及び製氷装置
1か月前
東芝ライフスタイル株式会社
冷蔵庫
19日前
ダイキン工業株式会社
空気調和装置
12日前
続きを見る
他の特許を見る