TOP
|
特許
|
意匠
|
商標
特許ウォッチ
Twitter
他の特許を見る
10個以上の画像は省略されています。
公開番号
2025153626
公報種別
公開特許公報(A)
公開日
2025-10-10
出願番号
2024056188
出願日
2024-03-29
発明の名称
冷却装置
出願人
株式会社前川製作所
代理人
IBC一番町弁理士法人
主分類
F25D
13/00 20060101AFI20251002BHJP(冷凍または冷却;加熱と冷凍との組み合わせシステム;ヒートポンプシステム;氷の製造または貯蔵;気体の液化または固体化)
要約
【課題】食品の凍結、および食品と保持器の間の接触面の解氷を連続的に行うことのできる冷却装置を提供する。
【解決手段】
冷却装置は、食品が保持された保持器21が搬入される搬入口11、および食品が保持された保持器が搬出される搬出口12を備える断熱箱体10と、断熱箱体の内部に設けられ、前記食品を冷却凍結するクーラーユニット30と、断熱箱体内において、食品が保持された保持器を搬入口から搬出口へ搬送する搬送装置20と、断熱箱体内の搬出口側に設けられた第1隔壁40によって区切られ、搬出口に連通する第1領域R1と、第1領域に設けられ、保持器を加熱する加熱部70と、を有する。
【選択図】図1
特許請求の範囲
【請求項1】
食品が保持された保持器が搬入される搬入口、および前記食品が保持された前記保持器が搬出される搬出口を備える断熱箱体と、
前記断熱箱体の内部に設けられ、前記食品を冷却凍結するクーラーユニットと、
前記断熱箱体内において、前記食品が保持された前記保持器を前記搬入口から前記搬出口へ搬送する搬送装置と、
前記断熱箱体内の前記搬出口側に設けられた第1隔壁によって区切られ、前記搬出口に連通する第1領域と、
前記第1領域に設けられ、前記保持器を加熱する加熱部と、を有する冷却装置。
続きを表示(約 570 文字)
【請求項2】
前記加熱部は、前記搬送装置のうち前記搬入口から前記搬出口に向かう往路の下方から前記保持器を加熱する、請求項1に記載の冷却装置。
【請求項3】
前記加熱部は、圧縮空気を吹き出すブロアを有する、請求項1または2に記載の冷却装置。
【請求項4】
前記第1領域には、開閉自在な通気口が設けられる、請求項1または2に記載の冷却装置。
【請求項5】
前記第1隔壁、および前記第1隔壁よりも前記搬入口側に設けられる第2隔壁によって区切られる第2領域をさらに有する、請求項1または2に記載の冷却装置。
【請求項6】
前記第1隔壁は断熱パネルである、請求項1または2に記載の冷却装置。
【請求項7】
前記保持器は、前記搬送装置に固定されている、請求項1または2に記載の冷却装置。
【請求項8】
前記第1領域に設けられ、前記保持器に付着した結露水を除去する除去部を有する、請求項7に記載の冷却装置。
【請求項9】
前記除去部および前記加熱部は、一体から構成される、請求項8に記載の冷却装置。
【請求項10】
前記断熱箱体は、溶接躯体である、請求項1または2に記載の冷却装置。
(【請求項11】以降は省略されています)
発明の詳細な説明
【技術分野】
【0001】
本発明は、冷却装置に関する。
続きを表示(約 2,000 文字)
【背景技術】
【0002】
従来から、食品等の被冷却物を冷却する冷却装置が種々開発されている(例えば下記の特許文献1)。一般的に、冷却装置では、製品の形状に沿った保持器に食品等の被冷却物を人手で載せて、フリーザーに保持器ごと投入して凍結している。
【先行技術文献】
【特許文献】
【0003】
特開2019-113224号公報
【発明の概要】
【発明が解決しようとする課題】
【0004】
一般的に、保持器に食品を載せて、フリーザーに保持器ごと投入して凍結した後、食品と保持器の間の接触面の解氷を行うために、所定の時間、室温で放置した後に、食品を保持器から剥離して取り出している。このため、食品と保持器の間の接触面が解氷するまで待つ必要があり、時間がかかる。
【0005】
本発明は、上記課題を解決するために発明されたものであり、食品の凍結、および食品と保持器の間の接触面の解氷を連続的に行うことのできる冷却装置を提供することを目的とする。
【課題を解決するための手段】
【0006】
上記目的を達成する本発明に係る冷却装置は、食品が保持された保持器が搬入される搬入口、および前記食品が保持された前記保持器が搬出される搬出口を備える断熱箱体と、前記断熱箱体の内部に設けられ、前記食品を冷却凍結するクーラーユニットと、前記断熱箱体内において、前記食品が保持された前記保持器を前記搬入口から前記搬出口へ搬送する搬送装置と、前記断熱箱体内の前記搬出口側に設けられた第1隔壁によって区切られ、前記搬出口に連通する第1領域と、前記第1領域に設けられ、前記保持器を加熱する加熱部と、を有する。
【発明の効果】
【0007】
上述の冷却装置によれば、第1隔壁の上流側で凍結された食品が保持された保持器を、第1領域において加熱部によって加熱することによって、食品を完全に解凍することなく、食品と保持器の間の接触面を解氷することができる。したがって、食品の凍結、ならびに食品と保持器の間の接触面の解氷を連続的に行うことのできる冷却装置を提供することができる。
【図面の簡単な説明】
【0008】
本発明の実施形態に係る冷却装置を示す平面図である。
本実施形態に係る冷却装置を示す正面図である。
本実施形態に係る冷却装置の搬入口近傍を示す平面図である。
本実施形態に係る冷却装置の搬出口近傍を示す平面図である。
本実施形態に係る冷却装置の搬出口近傍を示す正面図である。
図5のA部を示す部分拡大図である。
図5のB部を示す部分拡大図である。
吸込式のクーラーファンを説明するための図である。
押込式のクーラーファンを説明するための図である。
【発明を実施するための形態】
【0009】
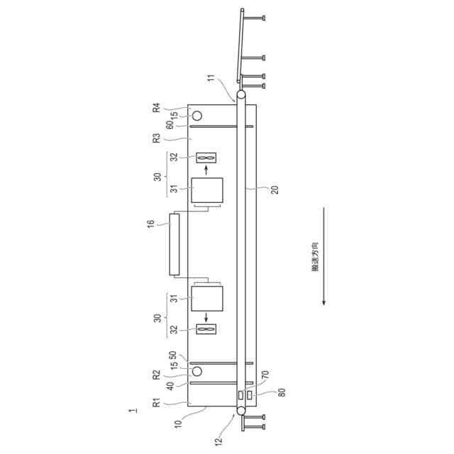
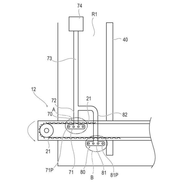
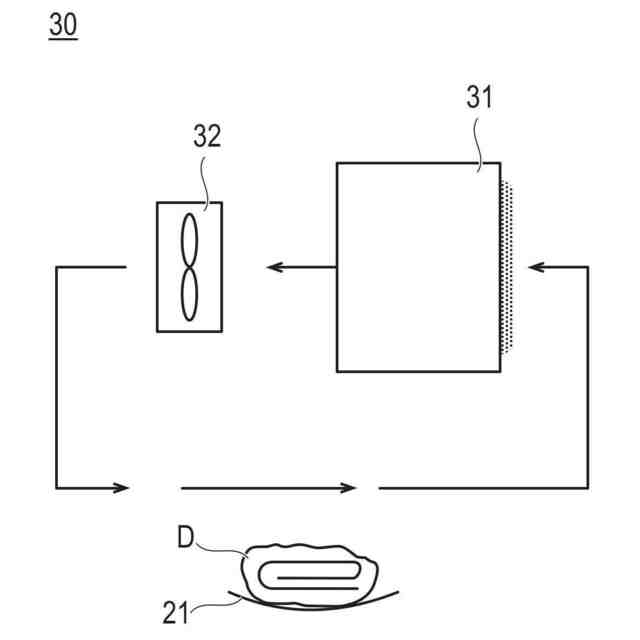
本発明の実施形態に係る冷却装置1を、図1~図9を参照しつつ説明する。図1は、本発明の実施形態に係る冷却装置1を示す平面図である。図2は、本実施形態に係る冷却装置1を示す正面図である。図3は、本実施形態に係る冷却装置1の搬入口11近傍を示す平面図である。図4は、本実施形態に係る冷却装置1の搬出口12近傍を示す平面図である。図5は、本実施形態に係る冷却装置1の搬出口12近傍を示す正面図である。図6は、図5のA部を示す部分拡大図である。図7は、図5のB部を示す部分拡大図である。図8は、吸込式のクーラーファン32を説明するための図である。図9は、押込式のクーラーファン32を説明するための図である。なお、図面の説明において同一の要素には同一の符号を付し、重複する説明を省略する。図面の寸法比率は、説明の都合上誇張されており、実際の比率とは異なる場合がある。
【0010】
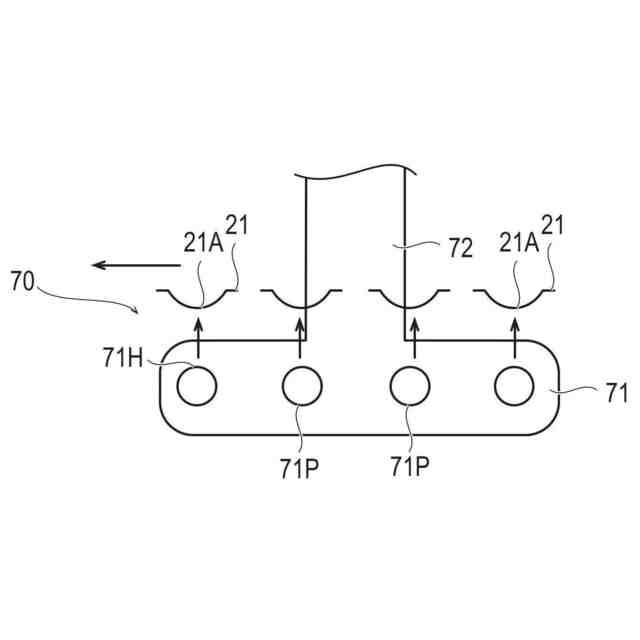
本実施形態において冷却装置1が冷却する被冷却物としては食品を挙げることができ、例えば伊達巻、だし巻き卵、かまぼこ、ロールケーキ等を例に挙げることができる。以下、被冷却物として伊達巻Dを挙げて説明する。冷却装置1は、図1~図7に示すように、搬入口11および搬出口12を備える断熱箱体10と、保持器21によって保持された被冷却物を搬入口11から搬出口12へ搬送する搬送装置20と、断熱箱体10の内部に設けられるクーラーユニット30と、断熱箱体10内を、第1領域R1および第2領域R2に区切る第1隔壁40と、断熱箱体10内を、第2領域R2および第3領域R3に区切る第2隔壁50と、断熱箱体10内を、第3領域R3および第4領域R4に区切る第3隔壁60と、第1領域R1に設けられ、保持器21を加熱する加熱部70と、第1領域R1に設けられ、保持器21に付着した結露水を除去する除去部80と、を有する。
(【0011】以降は省略されています)
この特許をJ-PlatPat(特許庁公式サイト)で参照する
関連特許
株式会社前川製作所
冷却装置
2日前
株式会社前川製作所
排気装置及び地盤凍結システム
1か月前
タニコー株式会社
貯水槽
1か月前
株式会社コロナ
ヒートポンプ装置
2か月前
アクア株式会社
冷蔵庫
1か月前
ホシザキ株式会社
製氷機
17日前
個人
ヒートポンプ型空気調和機
23日前
株式会社ツインバード
スターリング機関
2か月前
富士電機株式会社
冷却装置
16日前
富士電機株式会社
冷却装置
1か月前
富士電機株式会社
冷却装置
1か月前
シャープ株式会社
冷蔵庫
1か月前
個人
液体窒素凝縮による冷凍サイクル
1か月前
富士ベンダーサービス株式会社
保管庫
25日前
ダイキン工業株式会社
冷凍装置
2日前
富士電機株式会社
冷却システム
1か月前
フクシマガリレイ株式会社
ショーケース
4日前
株式会社ゼロカラ
冷凍装置
1か月前
シャープ株式会社
冷却装置
1か月前
三菱重工冷熱株式会社
低温冷水供給装置
23日前
アクア株式会社
冷蔵庫
10日前
ダイキン工業株式会社
冷媒充填方法
2日前
FrostiX株式会社
急速冷凍装置
1か月前
ホシザキ株式会社
液体凍結装置
1か月前
シャープ株式会社
冷蔵庫
1か月前
シャープ株式会社
冷蔵庫
23日前
島田工業株式会社
製氷装置及び製氷方法
10日前
株式会社アイシン
冷暖房システム
9日前
株式会社富士通ゼネラル
冷凍サイクル装置
3日前
株式会社オカムラ
故障予知システム
17日前
株式会社富士通ゼネラル
冷凍サイクル装置
3日前
株式会社前川製作所
冷却装置
2日前
東芝ライフスタイル株式会社
冷蔵庫
1か月前
タキゲン製造株式会社
冷蔵庫の庫内気圧調整装置
1か月前
シャープ株式会社
収容庫および冷蔵庫
1か月前
三菱重工冷熱株式会社
冷却装置
1か月前
続きを見る
他の特許を見る