TOP
|
特許
|
意匠
|
商標
特許ウォッチ
Twitter
他の特許を見る
公開番号
2025157952
公報種別
公開特許公報(A)
公開日
2025-10-16
出願番号
2024060333
出願日
2024-04-03
発明の名称
容器詰飲料用冷却器
出願人
アサヒビール株式会社
,
株式会社ベルソス
代理人
個人
,
個人
,
個人
主分類
F25D
11/00 20060101AFI20251008BHJP(冷凍または冷却;加熱と冷凍との組み合わせシステム;ヒートポンプシステム;氷の製造または貯蔵;気体の液化または固体化)
要約
【課題】容器詰飲料用冷却器において冷却能力の向上を図る。
【解決手段】
容器詰飲料用冷却器は、底面および底面の縁から立ち上がる筒状の側面を有する飲料容器と、飲料容器に充填された飲料とを含む容器詰飲料を冷却するための容器詰飲料用冷却器である。容器詰飲料用冷却器は、中心軸線に沿って延びた筒状であり、飲料容器の側面を取り囲む内周面、および中心軸線を中心とする径方向において内周面と間隔を開けて配置された外周面を有するホルダと、ホルダの外周面にそれぞれ接触し、中心軸線を中心とする周方向において互いにずれて配置された2つの冷却部とを備える。各冷却部は、互いに対向して配置された吸熱面および放熱面を有し、吸熱面がホルダの外周面に接触して配置されたペルチェモジュールを備える。
【選択図】図2
特許請求の範囲
【請求項1】
底面および前記底面の縁から立ち上がる筒状の側面を有する飲料容器と、前記飲料容器に充填された飲料とを含む容器詰飲料を冷却するための容器詰飲料用冷却器であって、
中心軸線に沿って延びた筒状であり、前記飲料容器の前記側面を取り囲む内周面、および前記中心軸線を中心とする径方向において前記内周面と間隔を開けて配置された外周面を有するホルダと、
前記ホルダの前記外周面にそれぞれ接触し、前記中心軸線を中心とする周方向において互いにずれて配置された2つの冷却部と
を備え、
各冷却部は、互いに対向して配置された吸熱面および放熱面を有し、前記吸熱面が前記ホルダの前記外周面に接触して配置されたペルチェモジュールを備える、容器詰飲料用冷却器。
続きを表示(約 1,100 文字)
【請求項2】
前記ホルダ内に組み込まれた温度センサと、
前記温度センサで検出された検出温度が入力され、前記検出温度に基づいて前記容器詰飲料を第1温度まで冷却するように前記2つの冷却部を制御する制御部と
を備え、
前記制御部は、前記検出温度が前記第1温度よりも低い第2温度に到達するまで前記2つの冷却部により前記容器詰飲料が冷却された後、前記検出温度が前記第1温度に維持されるように、前記2つの冷却部を制御する、請求項1に記載の容器詰飲料用冷却器。
【請求項3】
前記第2温度は、前記2つの冷却部により前記容器詰飲料が冷却された場合において、前記飲料の温度が前記第1温度となるときの前記検出温度よりも低い温度に設定されている、請求項2に記載の容器詰飲料用冷却器。
【請求項4】
前記第1温度は、0℃以下、かつ前記飲料の凝固点よりも高い温度であり、
前記第2温度は、前記2つの冷却部により前記容器詰飲料が冷却されている間に前記飲料が凍結しない温度である、請求項2に記載の容器詰飲料用冷却器。
【請求項5】
前記中心軸線が延びる中心軸線方向において前記ホルダに対して一方側に配置された断熱材を備え、
前記温度センサは、前記中心軸線方向において前記ホルダの中央に対して一方側に配置されている、請求項2または3に記載の容器詰飲料用冷却器。
【請求項6】
前記ペルチェモジュールと前記温度センサとは、前記周方向においてずれた位置に配置されている、請求項2または3に記載の容器詰飲料用冷却器。
【請求項7】
前記ペルチェモジュールは、互いに対向する素子吸熱面および素子放熱面をそれぞれ有する2つのペルチェ素子を有し、
前記2つのペルチェ素子は、前記2つのペルチェ素子の一方の前記素子吸熱面と前記2つのペルチェ素子の他方の前記素子放熱面とが対向するように重ねて配置されている、請求項1に記載の容器詰飲料用冷却器。
【請求項8】
前記ホルダおよび前記2つの冷却部を収容するケーシングを更に備え、
各冷却部は、
前記ペルチェモジュールの前記放熱面に接触して配置されたヒートシンクと、
前記ヒートシンクを冷却するためのファンと
を備え、
前記ケーシングは、
前記ファンにより空気が引き込まれる吸気口と、
前記吸気口の開口方向と交差する方向に開口し、前記ファンによって引き込まれ、前記ヒートシンクの冷却に用いられた熱が空気により排出される排気口と
を備える、請求項1に記載の容器詰飲料用冷却器。
発明の詳細な説明
【技術分野】
【0001】
本開示は、容器詰飲料用冷却器に関する。
続きを表示(約 1,500 文字)
【背景技術】
【0002】
特許文献1には、ペルチェ素子と、ペルチェ素子に取り付けられ、ペルチェ素子の発熱面により温度が上昇するヒートシンクと、温度が上昇したヒートシンクのフィンの隙間に空気を通す送風装置とを有する保冷器が開示されている。
【先行技術文献】
【特許文献】
【0003】
特開2001-208465号公報
【発明の概要】
【発明が解決しようとする課題】
【0004】
特許文献1に記載の保冷器には、冷却能力の向上という点で改善の余地がある。
【0005】
本開示は、冷却能力を向上することができる容器詰飲料用冷却器を提供することを目的とする。
【課題を解決するための手段】
【0006】
本開示の一態様は、
底面および前記底面の縁から立ち上がる筒状の側面を有する飲料容器と、前記飲料容器に充填された飲料とを含む容器詰飲料を冷却するための容器詰飲料用冷却器であって、
中心軸線に沿って延びた筒状であり、前記飲料容器の前記側面を取り囲む内周面、および前記中心軸線を中心とする径方向において前記内周面と間隔を開けて配置された外周面を有するホルダと、
前記ホルダの前記外周面に接触するようにそれぞれ配置された2つの冷却部と
を備え、
各冷却部は、互いに対向して配置された吸熱面および放熱面を有し、前記吸熱面が前記ホルダの前記外周面に接触して配置されたペルチェモジュールを備える、容器詰飲料用冷却器を提供する。
【0007】
この構成によれば、ペルチェモジュールをそれぞれ有する2つの冷却部が周方向において互いに異なる2箇所でホルダを冷却することにより、ホルダに取り囲まれる容器詰飲料が冷却される。これにより、1つのペルチェモジュールを用いて容器詰飲料を冷却する構成と比較して、容器詰飲料を冷却するための冷却能力を向上することができる。その結果、容器詰飲料を急速に冷却することができる。また、例えば、飲料を0℃以下に冷却することができる。
【0008】
また、缶などの飲料容器は、一般に、側面の面積が底面の面積よりも大きい。この構成によれば、ペルチェモジュールをそれぞれ有する2つの冷却部が飲料容器の側面を取り囲むホルダを冷却することにより、冷却されたホルダにより飲料容器の側面から熱が奪われて、容器詰飲料が冷却される。このため、ホルダにより飲料容器の底面から熱が奪われて容器詰飲料が冷却される構成と比較して、容器詰飲料からホルダへ熱が伝わる面積が大きくなるため、容器詰飲料を急速に冷却することができる。
【発明の効果】
【0009】
本発明によれば、容器詰飲料を急速に冷却することができる容器詰飲料用冷却器を提供することができる。
【図面の簡単な説明】
【0010】
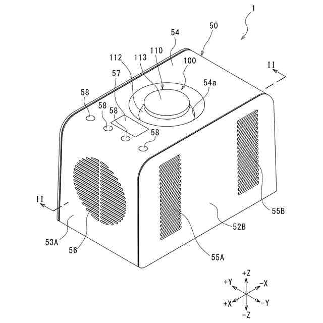
図1は、本開示の一実施形態に係る容器詰飲料用冷却器の斜視図である。
図2は、図1のII-II線に沿った断面図である。
図3は、図2のIII-III線に沿った断面図である。
図4は、図2に示すホルダの斜視図である。
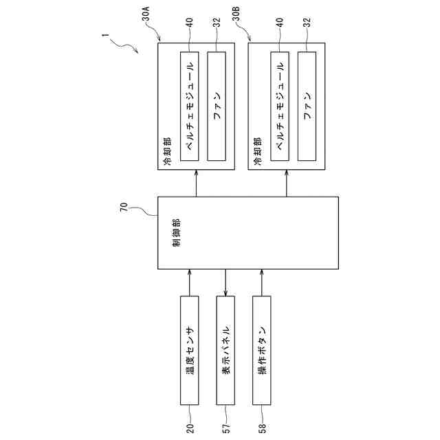
図5は、図1に示す容器詰飲料用冷却器のシステムブロック図である。
図6は、図5に示す制御部による冷却制御のフローチャートである。
図7は、図6に示す冷却工程のフローチャートである。
図8は、図6に示す保冷工程のフローチャートである。
【発明を実施するための形態】
(【0011】以降は省略されています)
この特許をJ-PlatPat(特許庁公式サイト)で参照する
関連特許
株式会社不二工機
膨張弁
1日前
株式会社不二工機
膨張弁
1日前
タニコー株式会社
貯水槽
1か月前
アクア株式会社
冷蔵庫
1か月前
ホシザキ株式会社
製氷機
28日前
個人
ヒートポンプ型空気調和機
1か月前
富士電機株式会社
冷却装置
27日前
ホシザキ株式会社
冷凍装置
6日前
フクシマガリレイ株式会社
断熱扉
2日前
富士電機株式会社
自動販売機
今日
フクシマガリレイ株式会社
冷却貯蔵庫
6日前
富士電機株式会社
冷却システム
1か月前
ダイキン工業株式会社
冷凍装置
13日前
富士ベンダーサービス株式会社
保管庫
1か月前
フクシマガリレイ株式会社
ショーケース
15日前
三菱重工冷熱株式会社
低温冷水供給装置
1か月前
アクア株式会社
冷蔵庫
21日前
ダイキン工業株式会社
冷媒充填方法
13日前
シャープ株式会社
冷蔵庫
1か月前
シャープ株式会社
冷蔵庫
1か月前
フクシマガリレイ株式会社
商品販売システム
8日前
ホシザキ株式会社
液体凍結装置
1か月前
株式会社アイシン
冷暖房システム
20日前
島田工業株式会社
製氷装置及び製氷方法
21日前
株式会社オカムラ
故障予知システム
28日前
株式会社前川製作所
冷却装置
13日前
株式会社富士通ゼネラル
冷凍サイクル装置
14日前
株式会社富士通ゼネラル
冷凍サイクル装置
14日前
株式会社富士通ゼネラル
冷凍サイクル装置
7日前
東芝ライフスタイル株式会社
冷却装置
8日前
東芝ライフスタイル株式会社
冷却装置
8日前
日本碍子株式会社
空調システム
8日前
三菱重工冷熱株式会社
冷却装置
1か月前
富士電機株式会社
店舗用冷却装置制御システム
28日前
ホシザキ株式会社
冷却貯蔵庫
1か月前
ダイキン工業株式会社
冷凍装置
28日前
続きを見る
他の特許を見る