TOP
|
特許
|
意匠
|
商標
特許ウォッチ
Twitter
他の特許を見る
10個以上の画像は省略されています。
公開番号
2025128982
公報種別
公開特許公報(A)
公開日
2025-09-03
出願番号
2024038482
出願日
2024-02-22
発明の名称
折り畳み作業机搭載の変型台車
出願人
個人
代理人
主分類
B62B
3/02 20060101AFI20250827BHJP(鉄道以外の路面車両)
要約
【課題】荷物の形状や目的に応じて複数の形態に変型させられることで、一台の運搬用台車のみで、より多くの荷物の運搬を可能とし、かつ様々な場面で作業机としても使用することができる運搬用台車を提供する。
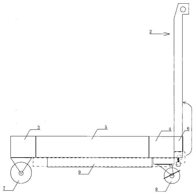
【解決手段】台板15と、台板15支えて移動するための車輪7及び8を基盤として構成される運搬用台車において、脱着可能の手押し用ハンドル2を有し、ハンドル固定部6及びハンドル収納部9を装備した。これにより平台車と手押し台車の性能が得られた。また、台板15上部には、天板10及び11、並びに天板を支持するための側面板12、13と、脱着可能の棚板14を搭載した。そして、台板15と側面板12、13と天板11の接続部には、丁番21やステー金物22等を用いて連結することにより折り畳み式で昇降を可能とした。これにより二段式台車と三段式台車の性能も獲得した。また、天板10と11の接続にも丁番21を使用し、天板10を180度回動させられるようにし、ハンドル2で支持することで作業机としても使用可能とした。
【選択図】図15
特許請求の範囲
【請求項1】
車輪を有する台板を基盤とし、前記台板を移動させるための脱着可能な手押し部を有し、かつ、昇降可能な天板を有する運搬用台車において、
前記台板の外周面及び、底面には、前記手押し部の差し込み固定部と、並びに収納部を備える。
また、前記台板の上部に備えた前記天板は、丁番により連結され回動可能な二枚合わせの仕様とし、前記天板の二枚合わせのうち回動側の一枚には、前記手押し部と接合可能な加工を施す。
さらに、前記台板と前記天板との間には、前記天板の昇降を可能とする装置、及び、前記天板を支持するための側面板を装備する。
以上の構造により、平台車、手押し台車、二段式台車、以上3種の運搬用台車における性能を有し、
かつ、前記天板の回動部側を展開し、前記手押し部と接合して支持することにより、作業用長机としての性能も有する。以上の使用形態を特徴とする運搬用台車。
続きを表示(約 500 文字)
【請求項2】
前記台板上部に中段板を備え、前記中段板を支持するための棚受けレールと棚受け金具を前記側面板に組み込むことで、三段式台車としての性能も有した請求項1に記載の運搬用台車。
【請求項3】
前記手押し部において、書類収納部と、前記天板を支持する際の高さ調節装置を組み込んだ手押し用ハンドルを有する請求項1又は2に記載の運搬用台車。
【請求項4】
使用目的、並びに積載重量に応じて、前記天板、前記台板、前記側面板、前記手押し部らの素材は、木製、樹脂製、金属製の使い分け、あるいは組み合わせとし、必要に応じて各所接合部における補強を施した請求項1又は2、3に記載の運搬用台車。
【請求項5】
前記台板において、衝突時の衝撃緩和、並びに前記天板、前記側面板、前記中段板の収納を目的とした外周枠を備えた請求項1又は2、3、4に記載の運搬用台車。
【請求項6】
前記天板の展開時において両端には連結用の加工を施し、作業用長机として使用する際に複数の同一運搬用台車の連結を可能とした請求項1又は2、3、4、5に記載の運搬用台車。
発明の詳細な説明
【技術分野】
【0001】
本発明は、主に運搬用台車に関するもので、かつ作業机としての機能の付随した発明に係る。
続きを表示(約 1,400 文字)
【背景技術】
【0002】
一般に運搬用台車の種類は、ハンドルの有るものと無いものに大きく分かれ、無いものを平台車と呼び、有るものを手押し台車と呼ぶ。また、手押し台車には一段のもの以外に二段式台車や三段式台車等があり、これらは集積に適さない形状の荷物において活躍し、また、天板を作業机として使用することもできる。一方で一段のものは、ハンドルを折りたためるものが多く、収納時や持ち運びに優れている。
【先行技術文献】
【特許文献】
【0003】
特開2015-081053号公報
【発明の概要】
【発明が解決しようとする課題】
【0004】
本発明が解決しようとする課題は、建築現場やイベント会場、および災害被災地等においての資材や物資の運搬、並びに開封や配布、および加工等の一連の作業を容易に行うための作業用長机としても使用できる運搬用台車を提供すること。
【0005】
そこで、解決しようとする課題において酷似している特許文献1の運搬用台車がある。しかしながら、特許文献1の運搬用台車は作業机として使用した際、天板の面積が台車ハンドルの面積までに限られ手狭であり、([0004])の様な使用においては適していない。また、ハンドルが台板と接合されているため台車よりも面積の広いものや全長の長い荷物の運搬には適さない。そのため本発明は、この様な問題を解決するためになされ、従来の発明よりも、作業机としての天板面積を拡張でき、さらに、荷物の形状に対応して変型させられることで一台の運搬用台車のみで、より多くの運搬を可能とする運搬用台車の提供を課題とする。
【発明の効果】
【0006】
本発明の運搬用台車を使用することにより、一般的な荷物だけでなく不安定で重ね積みの難しいものから、棒状で全長の長いものや、板状で面積が広いものまで、一台の運搬用台車のみでより多くの荷物の運搬を可能にした。さらに、作業に適した長机を任意の場所へ設営することが容易となった。
【課題を解決するための手段】
【0007】
前記の課題を解決するにあたり、本発明の運搬用台車を構成する上で、基盤となる車輪を有する台板と、並びに脱着可能な手押し用ハンドルを備える。台板上部には折り畳み式の天板と側面板が丁番やステー金物等によって連結されており、さらに可動棚用の中段板が搭載されている。また、台板周囲は枠で囲い、枠の一方には手押し用ハンドルの固定部と、台板下部には手押し用ハンドルの収納部を設け、これらの装備を基本設備とする。
【0008】
また、手押し用ハンドルには、支柱と横つなぎを前板と背面板によって挟み込むことで空間を作り、図面やノート等に使用するための収納部を設け、さらに、ハンドル先端には、高さ調節用のアジャスターを取付ける。
【0009】
また、折り畳み式の側面板には、可動棚用のレールと棚受け金具を装備する。さらに、側面板と天板の接続部、あるいは、側面板と台板の接続部、又はその両部には、ステー金物を用いた接続、並びに補強を行う。
【0010】
また、本発明の運搬用台車において、台板、側面板、天板、中段板及びハンドル収納部のうち少なくとも一つが樹脂によって作られてもよい。
(【0011】以降は省略されています)
この特許をJ-PlatPat(特許庁公式サイト)で参照する
関連特許
個人
カート
2か月前
個人
走行装置
3か月前
個人
乗り物
4か月前
個人
電動走行車両
3か月前
個人
電動モビリティ
7か月前
個人
折り畳み自転車
10か月前
個人
発音装置
6か月前
個人
駐輪設備
27日前
個人
閂式ハンドル錠
3か月前
個人
自転車用傘捕捉具
11か月前
個人
ボギー・フレーム
1か月前
個人
自由方向乗車自転車
7か月前
個人
ルーフ付きトライク
1か月前
個人
ルーフ付きトライク
2か月前
個人
体重掛けリフト台車
10か月前
個人
“zen-go.”
2か月前
個人
キャンピングトライク
8か月前
個人
自転車用荷物台
10か月前
個人
パワーアシスト自転車
1か月前
個人
アタッチメント
11か月前
個人
ステアリングの操向部材
8か月前
株式会社CPM
駐輪機
11か月前
株式会社豊田自動織機
産業車両
4か月前
株式会社三五
リアサブフレーム
10か月前
個人
フロントフットブレーキ。
3か月前
個人
乗用自動車のディフューザー
6日前
学校法人千葉工業大学
車両
9か月前
学校法人千葉工業大学
車両
9か月前
個人
ホイールハブ駆動構造
3か月前
豊田鉄工株式会社
小型車両
2か月前
学校法人千葉工業大学
車両
9か月前
ヤマハ発動機株式会社
車両
11か月前
ヤマハ発動機株式会社
車両
11か月前
ヤマハ発動機株式会社
車両
11か月前
豊田合成株式会社
操舵装置
11か月前
ヤマハ発動機株式会社
車両
11か月前
続きを見る
他の特許を見る