TOP
|
特許
|
意匠
|
商標
特許ウォッチ
Twitter
他の特許を見る
10個以上の画像は省略されています。
公開番号
2025129510
公報種別
公開特許公報(A)
公開日
2025-09-05
出願番号
2024026187
出願日
2024-02-26
発明の名称
玩具
出願人
株式会社バンダイ
代理人
主分類
A63H
3/04 20060101AFI20250829BHJP(スポーツ;ゲーム;娯楽)
要約
【課題】興趣性の高い玩具を提供する。
【解決手段】販売形態である第1形態1Fと遊戯形態である第2形態2Fとに変化可能な玩具であって、主部品10と、主部品10を保持可能な副部品20と、を備え、主部品10は、副部品20に保持されている第1形態1Fにおいて、その一部が玩具の外表面を形成している。第1形態1Fにおいて外殻を構成する副部品20に対し、内部に収容されている主部品10が第1形態1Fの玩具の外表面の一部を形成するように設けられていることで、主部品10による玩具の外表面の演出が可能である。
【選択図】図2
特許請求の範囲
【請求項1】
販売形態である第1形態と遊戯形態である第2形態とに変化可能な玩具であって、
主部品と、前記主部品を保持可能な副部品と、を備え、
前記主部品は、前記副部品に保持されている前記第1形態において、その一部が玩具の外表面を形成している、玩具。
続きを表示(約 860 文字)
【請求項2】
請求項1に記載の玩具であって、
前記主部品の外表面は、平面を成し、
前記副部品の外表面は、曲面を成している、玩具。
【請求項3】
請求項2に記載の玩具であって、
前記主部品は、多面体型形状を成し、
前記副部品は、球型形状を成している、玩具。
【請求項4】
請求項3に記載の玩具であって、
前記副部品には、第1開口部が形成され、
前記主部品は、前記第1形態において、その一部が前記第1開口部の少なくとも一部を閉じる前記玩具の外表面を形成している、玩具。
【請求項5】
請求項4に記載の玩具であって、
前記主部品の前記外表面は、前記第1形態において、前記副部品の外表面と連続しない面となるように構成されている、玩具。
【請求項6】
請求項5に記載の玩具であって、
前記主部品は、前記第1形態において、前記主部品に連結可能な連結部品を収容可能に構成されている、玩具。
【請求項7】
請求項6に記載の玩具であって、
前記連結部品は、前記第2形態において、前記主部品に連結可能に構成されている、玩具。
【請求項8】
請求項7に記載の玩具であって、
前記連結部品は、前記第1形態において前記主部品に収容されているときに、前記主部品の内表面に当接可能に構成されている、玩具。
【請求項9】
請求項8に記載の玩具であって、
前記連結部品は、前記第1形態において、前記主部品に収容されているときに、前記主部品から取り出し不可能に構成されている、玩具。
【請求項10】
請求項9に記載の玩具であって、
前記連結部品は、形状が異なる複数の連結部品を含み、前記複数の連結部品は、前記第1形態において、前記主部品内に整列状態で収容可能に構成されている、玩具。
(【請求項11】以降は省略されています)
発明の詳細な説明
【技術分野】
【0001】
本発明は、玩具に関する。
続きを表示(約 1,800 文字)
【背景技術】
【0002】
従来、カプセル内部に人形などを収納して自動販売機で販売されるカプセル玩具がある。例えば特許文献1においては、カプセル構成部材で構成されるカプセ内部には、玩具を組立てるための部品が収納されている。カプセル構成部材の切り口には、切欠が所定数設けられており、この切欠に部品の一部又は全てを嵌入させて玩具を形成し得るようになっている。また、カプセルの離脱防止策として、カプセル構成部材の内壁には、カプセル構成部材の切り口を狭持するためのリブが所定数設けられている構成が、開示されている。
【先行技術文献】
【特許文献】
【0003】
特開平07-148358号公報
【発明の概要】
【発明が解決しようとする課題】
【0004】
特許文献1においては、カプセル自体を玩具の部品とし利用する構造が記載されている。しかしながら、組立て用の部品は、単にカプセル内にばらばらで収容されているだけで特別な工夫がなされたものではなく、販売形態(カプセル形態)においてキャラクターを楽しくことができるものではなかった。
【0005】
本発明は、販売形態(カプセル形態)においてもキャラクターを楽しむことができ、興趣性の高い玩具を提供することを目的とする。
【課題を解決するための手段】
【0006】
本発明の一態様の玩具は、販売形態である第1形態と遊戯形態である第2形態とに変化可能な玩具であって、主部品と、主部品を保持可能な副部品と、を備え、主部品は、副部品に保持されている第1形態において、その一部が玩具の外表面を形成している、ものである。
【発明の効果】
【0007】
本発明によれば、興趣性の高い玩具を提供することができる。
【図面の簡単な説明】
【0008】
本発明の第1の態様における玩具の第1形態を示す斜視図である。
図1に示す玩具の底面側を示す斜視図である。
第1形態において連結面部に沿った部分の断面図である。
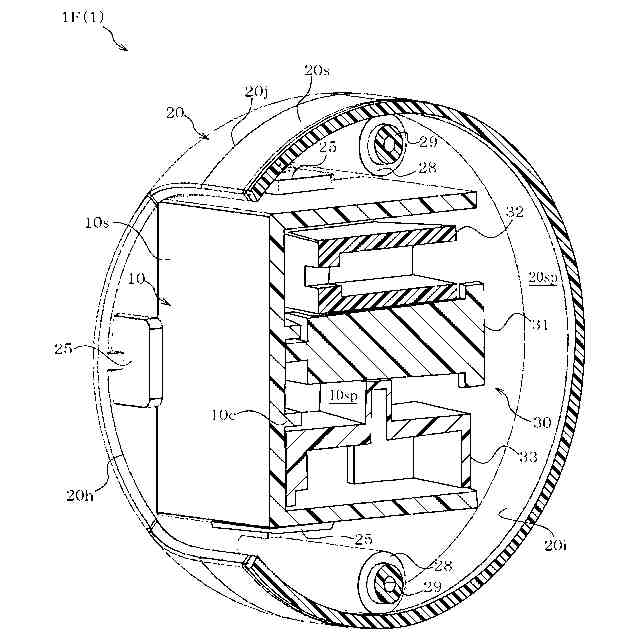
第1の態様の主部品及び副部品の内部を示す斜視図である。
第1の態様の主部品及び連結部品を示す斜視図である。
第1の態様において主部品内に連結部品が収容された状態を示す斜視図である。
第1の態様の玩具の組み立て方を示す斜視図である。
第1の態様の玩具の第2形態を示す斜視図である。
第2の態様における玩具の第2形態を示す斜視図である。
第2の態様において主部品内に連結部品が収容された状態を示す斜視図である。
第2の態様の玩具の組み立て方を示す斜視図である。
第3の態様における玩具の第2形態を示す斜視図である。
第3の態様において主部品内に連結部品が収容された状態を示す斜視図である。
第3の態様の玩具の組み立て方を示す斜視図である。
【発明を実施するための形態】
【0009】
(第1の態様)
以下、本発明の第1の態様の玩具1について、図1~図8を参照して説明する。
図1は、玩具1の第1形態1Fにおける斜視図である。
玩具1は、図1に示すように外観が略球形で成した第1形態1Fと、展示或いは遊戯形態である第2形態2F(図8参照)とに変化可能な玩具である。この第1形態1Fは、販売時の形態であり、球形状の外殻を成した副部品20によりその内部に多面体型形状の主部品10が保持されている。外殻を構成する副部品20は、例えば半球形の第1副部品21、及び第2副部品22の組合せにて構成されており、連結面部20jの部分により連結されている。例えば合成樹脂を素材として形成され適宜剛性を備えている。
【0010】
副部品20は、図1に示す第1形態1Fにおいては略球形状で、それ自体が転がり易い転動可能な構成である。したがって、物品供給装置からの供給・販売形態をとることができる。また、第1形態1Fにおける副部品20の内部空間20sp(図3参照)には、キャラクター(図8参照)用の部品である主部品10、及び連結部品30(図5参照)を収容する。なお、玩具1は、第1形態1Fにおいては、必要に応じて、図1に示す状態で更にその外側をラッピングフィルムにて覆うようにしても良い。
(【0011】以降は省略されています)
この特許をJ-PlatPat(特許庁公式サイト)で参照する
関連特許
株式会社バンダイ
玩具
1日前
株式会社バンダイ
玩具
10日前
株式会社バンダイ
玩具
8日前
株式会社バンダイ
物品
3日前
株式会社バンダイ
ゲーム装置
3日前
株式会社バンダイ
ゲーム装置
3日前
株式会社バンダイ
ゲーム装置
3日前
株式会社バンダイナムコエクスペリエンス
袋体供給装置
1日前
株式会社バンダイナムコエクスペリエンス
ゲームシステム
2日前
株式会社バンダイナムコエンターテインメント
コンピュータシステム
12日前
株式会社バンダイナムコエンターテインメント
コンピュータシステム
8日前
株式会社バンダイ
模型部品及び模型玩具
9日前
株式会社バンダイナムコエンターテインメント
コンピュータシステム
12日前
株式会社バンダイ
模型部品及び模型玩具
8日前
株式会社バンダイナムコエクスペリエンス
ゲーム装置および操作具
2日前
株式会社バンダイ
模型玩具、及び模型部品
9日前
株式会社バンダイ
模型玩具、及び模型部品
12日前
株式会社バンダイ
模型玩具、及び模型部品
8日前
株式会社バンダイ
プログラム及びゲーム装置
1日前
株式会社バンダイ
模型部品、および模型玩具
8日前
株式会社バンダイ
プログラム及びゲーム装置
1日前
株式会社バンダイ
ゲーム装置及びプログラム
1日前
株式会社バンダイ
ゲーム装置及びプログラム
1日前
株式会社バンダイ
プログラム、及びゲーム装置
8日前
株式会社バンダイ
プログラム、及びゲーム装置
1日前
株式会社バンダイ
プログラム、及びゲーム装置
3日前
株式会社バンダイ
プログラム、及びゲーム装置
3日前
株式会社バンダイ
プログラム、及びゲーム装置
8日前
株式会社バンダイ
プログラム、及びゲーム装置
8日前
株式会社バンダイ
プログラム、及びゲーム装置
3日前
株式会社バンダイ
プログラム、及びゲーム装置
3日前
株式会社バンダイ
プログラム、及びゲーム装置
8日前
株式会社バンダイ
プログラム、及びゲーム装置
1日前
株式会社バンダイ
プログラム、及びゲーム装置
3日前
株式会社バンダイ
プログラム、及びゲーム装置
8日前
株式会社バンダイ
ゲーム玩具、及びプログラム
2日前
続きを見る
他の特許を見る