TOP
|
特許
|
意匠
|
商標
特許ウォッチ
Twitter
他の特許を見る
公開番号
2025145221
公報種別
公開特許公報(A)
公開日
2025-10-03
出願番号
2024045294
出願日
2024-03-21
発明の名称
模型部品及び模型玩具
出願人
株式会社バンダイ
代理人
弁理士法人大塚国際特許事務所
主分類
A63H
3/36 20060101AFI20250926BHJP(スポーツ;ゲーム;娯楽)
要約
【課題】模型玩具の姿勢制御における新規な仕組みを備えた模型部品、及び、当該模型部品を用いた模型玩具を提供する。
【解決手段】模型玩具の玩具部品であって、第1のパーツと、第2のパーツと、第3のパーツと、第4のパーツとを備え、前記第1のパーツは、前記第2のパーツおよび前記第3のパーツと回動可能に接続され、前記第2のパーツと前記第3のパーツとは回動可能に接続され、前記第4のパーツは、前記第1のパーツの前記回動に応じて連動するように前記第1のパーツと接続され、前記第2のパーツが前記第3のパーツに対して回動されることに応じて、前記第1のパーツが前記第2のパーツおよび前記第3のパーツに対して回動し、前記第4のパーツが前記第1のパーツの回動と連動して前傾するように構成されている。
【選択図】図1
特許請求の範囲
【請求項1】
模型玩具の玩具部品であって、
第1のパーツと、第2のパーツと、第3のパーツと、第4のパーツとを備え、
前記第1のパーツは、前記第2のパーツおよび前記第3のパーツと回動可能に接続され、
前記第2のパーツと前記第3のパーツとは回動可能に接続され、
前記第4のパーツは、前記第1のパーツの前記回動に応じて連動するように前記第1のパーツと接続され、
前記第2のパーツが前記第3のパーツに対して回動されることに応じて、前記第1のパーツが前記第2のパーツおよび前記第3のパーツに対して回動し、前記第4のパーツが前記第1のパーツの回動と連動して前傾するように構成された玩具部品。
続きを表示(約 1,500 文字)
【請求項2】
前記第1のパーツは、第1の開口、第1の突起部及び第2の突起部を有し、
前記第2のパーツは、第2の開口及び第3の開口を有し、
前記第3のパーツは、第4の開口、第3の突起部、第4の突起部、第5の開口を有し、
前記第4のパーツは、第5の突起部と、第6の突起部とを有し、
前記第1のパーツの前記第1の開口と前記第4のパーツの前記第5の突起部とが係合することにより、前記第4のパーツが前記第1のパーツの回動に連動し、
前記第1のパーツの前記第2の突起部と、前記第2のパーツの前記第3の開口とが係合し、前記第1のパーツの前記第1の突起部と、前記第3のパーツの前記第4の開口とが係合することにより、前記第2のパーツが前記第3のパーツに対して回動されることに応じて前記第1のパーツが前記第2のパーツおよび前記第3のパーツに対して回動され、
前記第2のパーツの前記第2の開口と、前記第3のパーツの前記第4の突起部とが係合することにより、前記第2のパーツと前記第3のパーツとが回動可能に接続される、ように構成された請求項1に記載の玩具部品。
【請求項3】
前記第3のパーツの前記第5の開口と、前記第4のパーツの前記第6の突起部とが係合し、
前記第4のパーツが、前記第1のパーツの前記第2のパーツと前記第3のパーツとに対する回動と連動する場合に、前記第4のパーツの第6の突起部は、前記第3のパーツの前記第5の開口内を第1の位置から第2の位置に移動するように構成された、請求項2に記載の玩具部品。
【請求項4】
前記第1の位置は、前記第5の開口における第1の端部に近い位置であり、前記第2の位置は、前記第5の開口における前記第1の端部とは反対側の第2の端部に近い位置であって、
前記第6の突起部が、前記第5の開口内の前記第2の位置にある場合に、前記第4のパーツの少なくとも一部が前記第3のパーツから最も離間して位置する、請求項3に記載の玩具部品。
【請求項5】
第5のパーツを更に備え、
前記第5のパーツの少なくとも一部は前記第3のパーツの内側に配置され、
前記第5のパーツは、前記第1のパーツが前記第2のパーツと前記第3のパーツとに対して回動した場合に、前記第1のパーツの下側端部の少なくとも一部を収容する第6の開口を有する、請求項4に記載の玩具部品。
【請求項6】
前記第5のパーツは、第1の他の玩具部品と回動可能に接続するための突起部を更に有する、請求項5に記載の玩具部品。
【請求項7】
前記第4のパーツは、第2の他の玩具部品を回動可能に接続するための第7の開口を更に有する、請求項6に記載の玩具部品。
【請求項8】
前記第2の他の玩具部品は、前記第4のパーツの前記前傾の前後のいずれの状態においても回動可能に前記第4のパーツに接続される、請求項7に記載の玩具部品。
【請求項9】
前記第4のパーツは、第1のサブパーツと第2のサブパーツとが回動可能に接続されて構成され、
前記第1のサブパーツが前記第5の突起部と、前記第7の開口とを有し、
前記第2のサブパーツが前記第6の突起部を有する、請求項8に記載の玩具部品。
【請求項10】
前記第1のサブパーツは、前記第1のパーツと前記第2のサブパーツとに対し、第5の突起部に基づく軸において回動可能に構成されている、請求項9に記載の玩具部品。
(【請求項11】以降は省略されています)
発明の詳細な説明
【技術分野】
【0001】
本発明は、模型部品及び模型玩具に関する。
続きを表示(約 1,500 文字)
【背景技術】
【0002】
特許文献1には、人形玩具のような模型玩具において胴体部、腕部、脚部等の各部位に関節構造を設けることが記載されている。ユーザは、このような模型玩具を所望の姿勢にすることができる。
【先行技術文献】
【特許文献】
【0003】
実開平1-138492号公報
【発明の概要】
【発明が解決しようとする課題】
【0004】
模型玩具において姿勢制御に関する様々な仕組みが提案されているが、模型玩具の形状や所望の可動域等によっては従来の仕組みは適さない場合もあり、模型玩具の姿勢制御における新規な仕組みの提案が求められていた。
【0005】
本発明は、模型玩具の姿勢制御における新規な仕組みを備えた模型部品、及び、当該模型部品を用いた模型玩具を提供することを可能にする。
【課題を解決するための手段】
【0006】
本発明は、例えば、模型玩具の玩具部品であって、第1のパーツと、第2のパーツと、第3のパーツと、第4のパーツとを備え、前記第1のパーツは、前記第2のパーツおよび前記第3のパーツと回動可能に接続され、前記第2のパーツと前記第3のパーツとは回動可能に接続され、前記第4のパーツは、前記第1のパーツの前記回動に応じて連動するように前記第1のパーツと接続され、前記第2のパーツが前記第3のパーツに対して回動されることに応じて、前記第1のパーツが前記第2のパーツおよび前記第3のパーツに対して回動し、前記第4のパーツが前記第1のパーツの回動と連動して前傾するように構成されている。
【発明の効果】
【0007】
本発明によれば、模型玩具の姿勢制御における新規な仕組みを備えた可能な模型部品、及び、当該模型部品を用いた模型玩具を提供することができる。
【図面の簡単な説明】
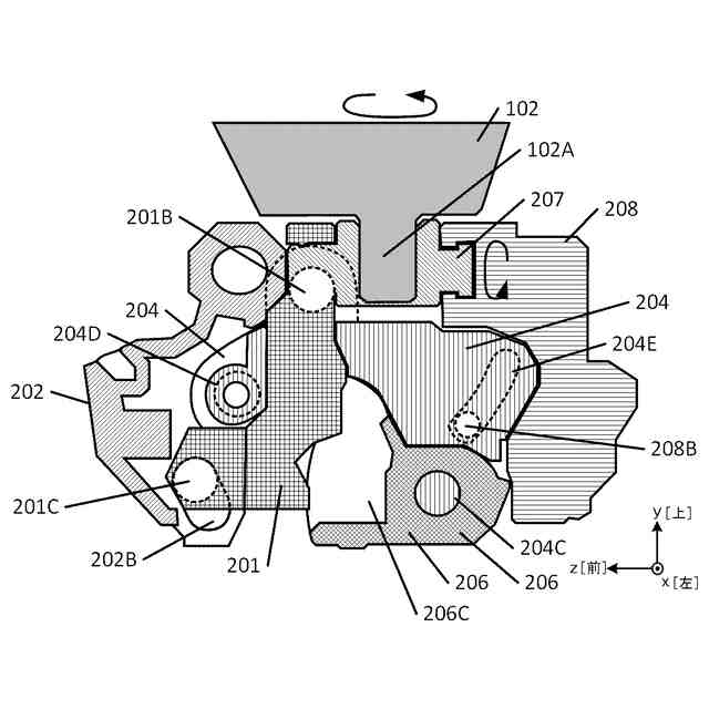
【0008】
一実施形態に係る模型玩具100の一形態の(A)外観正面及び(B)外観側面の一例を示す図。
一実施形態に係る模型玩具100の腰部105の外観構成の一例を示す図。
一実施形態に係る模型玩具100の腰部105における模型部品200の外観構成の一例を示す図。
一実施形態に係る模型部品200を構成する部材の接続関係を説明するための図。
一実施形態に係る模型玩具100の腰部105における模型部品200のA-A断面における構成の一例を示す断面図。
一実施形態に係る模型玩具100の腰部105における模型部品200のA-A断面における構成の他の一例を示す断面図。
【発明を実施するための形態】
【0009】
以下、添付図面を参照して実施形態を詳しく説明する。尚、以下の実施形態は特許請求の範囲に係る発明を限定するものではなく、また実施形態で説明されている特徴の組み合わせの全てが発明に必須のものとは限らない。実施形態で説明されている複数の特徴うち二つ以上の特徴が任意に組み合わされてもよい。また、同一若しくは同様の構成には同一の参照番号を付し、重複した説明は省略する。
【0010】
まず図1を参照して、本実施形態に係る模型玩具100の外観構成の一例について説明する。図1(A)は模型玩具100の外観正面を示し、図1(B)は模型玩具100の外観側面を示す。なお、x,y,zの矢印はそれぞれ模型玩具における上、左、前方向の向きを示し、他の図面についても同様である。
(【0011】以降は省略されています)
この特許をJ-PlatPat(特許庁公式サイト)で参照する
関連特許
株式会社バンダイ
玩具
2日前
株式会社バンダイ
玩具
7日前
株式会社バンダイ
玩具
28日前
株式会社バンダイ
玩具
1か月前
株式会社バンダイ
玩具
1か月前
株式会社バンダイ
玩具
今日
株式会社バンダイ
模型部品
8日前
株式会社バンダイ
発光玩具
14日前
株式会社バンダイナムコエンターテインメント
コンピュータシステム
今日
株式会社バンダイナムコエンターテインメント
コンピュータシステム
4日前
株式会社バンダイナムコエンターテインメント
コンピュータシステム
4日前
株式会社バンダイ
模型部品及び模型玩具
1日前
株式会社バンダイナムコエンターテインメント
コンピュータシステム
1か月前
株式会社バンダイ
模型部品及び模型玩具
今日
株式会社バンダイナムコエンターテインメント
コンピュータシステム
1か月前
株式会社バンダイ
模型玩具、及び模型部品
今日
株式会社バンダイ
模型玩具、及び模型部品
1日前
株式会社バンダイ
プログラム及び通信端末
24日前
株式会社バンダイ
模型玩具、及び模型部品
4日前
株式会社バンダイ
プログラム及びゲーム装置
24日前
株式会社バンダイ
模型部品、および模型玩具
今日
株式会社バンダイ
模型素体及びその製造方法
8日前
株式会社バンダイ
プログラム及びゲーム装置
24日前
株式会社バンダイ
プログラム及びゲーム装置
24日前
株式会社バンダイ
プログラム及びゲーム装置
24日前
株式会社バンダイ
プログラム、及びゲーム装置
14日前
株式会社バンダイ
プログラム、及びゲーム装置
14日前
株式会社バンダイ
プログラム、及びゲーム装置
14日前
株式会社バンダイ
プログラム、及びゲーム装置
9日前
株式会社バンダイ
プログラム、及びゲーム装置
今日
株式会社バンダイ
プログラム、及びゲーム装置
今日
株式会社バンダイ
プログラム、及びゲーム装置
今日
株式会社バンダイ
プログラム、及びゲーム装置
25日前
株式会社バンダイ
プログラム、及びゲーム装置
今日
株式会社バンダイ
プログラム、及びゲーム装置
今日
株式会社バンダイ
プログラム、及びゲーム装置
25日前
続きを見る
他の特許を見る