TOP
|
特許
|
意匠
|
商標
特許ウォッチ
Twitter
他の特許を見る
公開番号
2025132278
公報種別
公開特許公報(A)
公開日
2025-09-10
出願番号
2024029713
出願日
2024-02-29
発明の名称
自転車用ヘルメット
出願人
株式会社谷沢製作所
代理人
デロイトトーマツ弁理士法人
主分類
A42B
3/10 20060101AFI20250903BHJP(頭部に着用するもの)
要約
【課題】強度低下を防止して通気性を向上させ、高い通気性と高い保護性能とを両立させることができる自転車用ヘルメットを提供する。
【解決手段】殻層2と内部層3とを備える。内部層3及び殻層2を厚み方向に貫通する複数の貫通孔4を形成する。内部層3に、フレーム部材8を埋設する。フレーム部材8は、人頭の周囲を包囲する形状の第1フレーム部10と、第1フレーム部10からアーチ状に立ち上がる形状であって両端が夫々第1フレーム部10の互いに対向する位置で連結された第2フレーム部11と、前後方向に延びて前端が第1フレーム部10に連結され後端が第2フレーム部11に連結された第3フレーム部12とを備える。
【選択図】図4
特許請求の範囲
【請求項1】
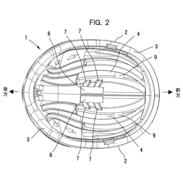
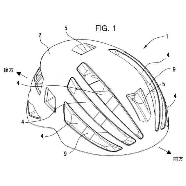
外表面を覆う殻層と、前記殻層よりも厚手に形成されて前記殻層の内側で人頭に接する内部層とを備え、前記内部層及び前記殻層を厚み方向に貫通する複数の貫通孔が形成された自転車用ヘルメットにおいて、
前記内部層には、フレーム部材が埋設されており、
前記フレーム部材は、人頭の周囲を包囲する形状の第1フレーム部と、前記第1フレーム部からアーチ状に立ち上がる形状であって両端が夫々第1フレーム部の互いに対向する位置で連結された第2フレーム部と、前後方向に延びて前端が前記第1フレーム部に連結され後端が前記第2フレーム部に連結された第3フレーム部とを備えることを特徴とする自転車用ヘルメット。
続きを表示(約 420 文字)
【請求項2】
請求項1記載の自転車用ヘルメットにおいて、
前記第1フレーム部、第2フレーム部、及び第3フレーム部の夫々の所定位置に、突起状のブロック体を設けたことを特徴とする自転車用ヘルメット。
【請求項3】
請求項1記載の自転車用ヘルメットにおいて、
前記内部層に形成されて、前記内部層を前方から後方に貫通する通気トンネルと、
前記通気トンネルの一部に連通して前記内部層の人頭に対向する内面側で開口する連通孔とを備えることを特徴とする自転車用ヘルメット。
【請求項4】
請求項1記載の自転車用ヘルメットにおいて、
前記貫通孔は、前後方向に延びるスリット状に形成されており、
前記フレーム部材と別体の他のフレーム部材を備え、
前記他のフレーム部材は、前記貫通孔を横切って左右方向にアーチ状に延びる形状に形成されていることを特徴とする自転車用ヘルメット。
発明の詳細な説明
【技術分野】
【0001】
本発明は、自転車用ヘルメットに関する。
続きを表示(約 1,300 文字)
【背景技術】
【0002】
近年では、ロードバイクやマウンテンバイク等のスポーツ走行時に限らず、通勤や通学といった通常の走行時においても自転車用ヘルメットを着用して安全対策の強化が一般的となっている。
【0003】
従来、この種の自転車用ヘルメットは、比較的硬質の殻層と、殻層の内側で人頭を覆って衝撃を吸収する内部層とを備えている。そして、この種の自転車用ヘルメットにおいては、人頭に対する高い保護性能を有するだけでなく、人頭を冷却する機能を備えているものが知られている(例えば、下記特許文献1参照)。
【先行技術文献】
【特許文献】
【0004】
特開2023‐59843号公報
【発明の概要】
【発明が解決しようとする課題】
【0005】
従来の自転車用ヘルメットにおいては、人頭を冷却する機能を得るために、殻層及び内部層を厚み方向に貫通する複数の貫通孔を設けている。これにより、人頭と帽体との間での熱気を含んだ空気が抜けやすく、通気による快適性が得られるようになっている。
【0006】
しかし、複数の貫通孔は、殻層及び内部層の強度を低下させる不都合がある。殻層及び内部層の強度低下を防止するためには、貫通孔の数や大きさを小さくする等が考えられるが、そうすると通気性が悪化してしまい、人頭に対する十分な冷却効果を得ることができない。このように、従来の自転車用ヘルメットの構造では、十分な通気性を得ることと、高い保護性能を得ることとを両立させることが困難であった。
【0007】
上記の点に鑑み、本発明は、強度低下を防止して通気性を向上させ、高い通気性と高い保護性能とを両立させることができる自転車用ヘルメットを提供することを目的とする。
【課題を解決するための手段】
【0008】
かかる目的を達成するために、本発明は、外表面を覆う殻層と、前記殻層よりも厚手に形成されて前記殻層の内側で人頭に接する内部層とを備え、前記内部層及び前記殻層を厚み方向に貫通する複数の貫通孔が形成された自転車用ヘルメットにおいて、前記内部層には、フレーム部材が埋設されており、前記フレーム部材は、人頭の周囲を包囲する形状の第1フレーム部と、前記第1フレーム部からアーチ状に立ち上がる形状であって両端が夫々第1フレーム部の互いに対向する位置で連結された第2フレーム部と、前後方向に延びて前端が前記第1フレーム部に連結され後端が前記第2フレーム部に連結された第3フレーム部とを備えることを特徴とする。
【0009】
本発明によれば、内部層にフレーム部材が埋設されているので、自転車用ヘルメットの強度を向上させることができる。従って、強度低下を防止して複数の貫通孔を設けることができ、十分な通気性と高い保護性能とを両立させた自転車用ヘルメットを提供することができる。
【0010】
本発明において、前記第1フレーム部、第2フレーム部、及び第3フレーム部の夫々の所定位置に、突起状のブロック体を設けたことを特徴とする。
(【0011】以降は省略されています)
この特許をJ-PlatPat(特許庁公式サイト)で参照する
関連特許
株式会社谷沢製作所
風管ガイド体、風管装置
1か月前
個人
帽子
4か月前
個人
フレーム
8か月前
個人
瞬間日陰
6か月前
個人
頭部装着具
6か月前
個人
雨除け帽子
10か月前
個人
通気性帽子
10か月前
個人
健康帽子
10か月前
個人
かぶり物
8か月前
個人
熱中症対策帽子
5か月前
株式会社K設計
サウナハット
9か月前
株式会社TAT
冷却具
8か月前
株式会社コカジ
帽子の製造方法
12か月前
株式会社スペースシーファイブ
帽子
4か月前
個人
制振機能を有する疲労軽減ヘルメット
6か月前
有限会社トラッド
冷却装置付きヘルメット
3か月前
有限会社トップエンタープライズ
帽子
2か月前
東洋物産工業株式会社
分割ヘルメット
3か月前
株式会社トーヨーセーフティ
ヘルメット
1か月前
パイオニア株式会社
通信装置
24日前
パイオニア株式会社
通信装置
24日前
ミドリ安全株式会社
帽体、ヘルメット
6か月前
株式会社イエロー
頭部保護具用内装材
5か月前
ミドリ安全株式会社
インナーキャップ
5か月前
個人
スマートあご紐を有するヘルメット
2か月前
ミドリ安全株式会社
保護帽
6か月前
株式会社日曜発明ギャラリー
帽子等に用いる冷却構造
3か月前
ミドリ安全株式会社
保護帽
7か月前
株式会社アーテック
折り畳み式ヘルメット
11か月前
株式会社ダイセル
保護装置
2か月前
株式会社サンロード
帽子
10か月前
補装具工房スタンス株式会社
頭蓋形状誘導ヘルメット
4か月前
株式会社谷沢製作所
ヘルメット
3か月前
株式会社谷沢製作所
ヘルメット
3か月前
パイオニア株式会社
通信装置、ヘルメット
24日前
株式会社セフト研究所
スペーサ及びスペーサ付帽子
8か月前
続きを見る
他の特許を見る