TOP
|
特許
|
意匠
|
商標
特許ウォッチ
Twitter
他の特許を見る
公開番号
2025133179
公報種別
公開特許公報(A)
公開日
2025-09-11
出願番号
2024030963
出願日
2024-03-01
発明の名称
風管ガイド体、風管装置
出願人
株式会社谷沢製作所
,
株式会社山谷鉄工所
代理人
個人
,
個人
主分類
E21F
1/04 20060101AFI20250904BHJP(地中もしくは岩石の削孔;採鉱)
要約
【課題】分岐路などにおける風管にも硬管ではなくリング無しの軟管を用いることができるように、湾曲設置した軟管の折れ曲がりによる断面積の減少を防止する風管ガイド体及び風管装置を提供する。
【解決手段】風管ガイド体2は、地下路に配設される軟質の風管1の曲がり部に適用するものであり、間隔をあけて軸方向に並ぶ環状のリング材10とリング材10同士を局所的に連結する連結材20とにより曲管状を成しており、リング材10の内径が風管1の外径よりも大きく、曲管状の一端αと他端βは開口しており、曲管状の内側は風管1が通される空間となっている。
【選択図】図1
特許請求の範囲
【請求項1】
地下路に配設される軟質の風管の曲がり部に適用する風管ガイド体であり、
間隔をあけて軸方向に並ぶ環状のリング材と前記リング材同士を局所的に連結する連結材とにより曲管状を成しており、
前記リング材の内径が前記風管の外径よりも大きく、
前記曲管状の一端と他端は開口しており、前記曲管状の内側は前記風管が通される空間となっていることを特徴とする風管ガイド体。
続きを表示(約 410 文字)
【請求項2】
前記連結材は、周方向に90度間隔で計四箇所、又は120度間隔で計三箇所に設けられていることを特徴とする請求項1に記載の風管ガイド体。
【請求項3】
前記リング材の内径は、前記風管の外径よりも5mm~50mm大きいことを特徴とする請求項1に記載の風管ガイド体。
【請求項4】
前記連結材で前記リング材同士が局所的に連結された円筒状の分割体を複数接続してなることを特徴とする請求項1に記載の風管ガイド体。
【請求項5】
接続されている前記分割体には、軸線が直線である直管分割体と、軸線が曲線である曲管分割体が、それぞれ一つ以上含まれることを特徴とする請求項4に記載の風管ガイド体。
【請求項6】
請求項1から請求項5のいずれか一項に記載の風管ガイド体と、
前記風管ガイド体に通す軟質の風管とを備えたことを特徴する風管装置。
発明の詳細な説明
【技術分野】
【0001】
本発明は、トンネル工事や採掘作業等において仮設される風管の曲がり部に適用する風管ガイド体及び風管装置に関する。
続きを表示(約 2,800 文字)
【背景技術】
【0002】
トンネル工事現場や採掘現場等では、送気や排気による換気等を目的として、例えば特許文献1のように筒状の風管体が複数連結されてなる軟質で可撓性を有した風管を設けることがある。
また、坑道にT字路やY字路等がある場合は、例えば特許文献2のように風管を分岐させて配設することがある。
また、特許文献3には、切替ダンパと掃気ファンとを90°の曲り管である鋼管(第三の補助管)で接続することが開示されている。
【先行技術文献】
【特許文献】
【0003】
特開2009-264034号公報
特開2014-202046号公報
特開2006-348696号公報
【発明の概要】
【発明が解決しようとする課題】
【0004】
トンネル等の地下路の掘削工事などにおいて換気等のために仮設される風管は、数百メートル以上に及ぶこともある。風管の種類には、軟管としては、難燃性の生地内にリング状の硬鋼線が所定間隔で配置されたリング式の軟管、難燃性の生地の表面に鋼線が螺旋状に巻かれたスパイラル式の軟管、及び硬鋼線等の支持材が設けられていないリング無しの軟管等があり、硬管としてはスパイラル鋼管等がある。
上記のうち、リング無しの軟管は、軽量かつ安価で大口径にも対応しているといった特長があるが、湾曲設置した場合に、折れ曲がり等により湾曲部分の断面積(口径)が小さくなり、内部を流れる空気等の流体の円滑な流れを妨げる可能性がある。そのため、風管の全長のうちの大部分を占める直線箇所にはリング無しの軟管を用い、分岐路など風管の曲げを伴う箇所のみスパイラル鋼管を用いるというように、軟管と硬管を併用する場合もある。
しかしながら、そのような場合に用いられるスパイラル鋼管は、重量が100kgを超えることが殆どであるため、トンネル内の天井部分への吊り下げ等を行う際に大型クレーンが必要となるなど、設置/移設/撤去作業等が大掛かりとなり、また万一落下した場合は大変危険である。
そこで本発明は、分岐路などにおける風管にも硬管ではなくリング無しの軟管を用いることができるように、湾曲設置したリング無しの軟管の折れ曲がりによる断面積の減少を防止する風管ガイド体及び風管装置を提供することを目的とする。
【課題を解決するための手段】
【0005】
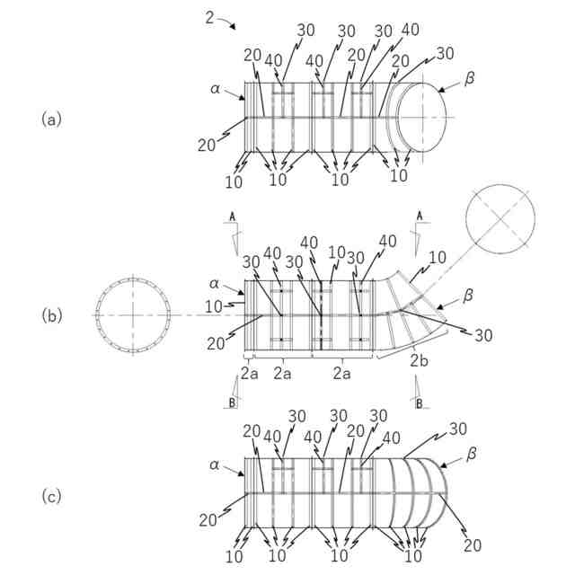
請求項1記載の本発明の風管ガイド体2は、地下路に配設される軟質の風管1の曲がり部に適用するものであり、間隔をあけて軸方向に並ぶ環状のリング材10とリング材10同士を局所的に連結する連結材20とにより曲管状を成しており、リング材10の内径が風管1の外径よりも大きく、曲管状の一端αと他端βは開口しており、曲管状の内側は風管1が通される空間となっていることを特徴とする。
請求項2記載の本発明は、請求項1に記載の風管ガイド体2において、連結材20は、周方向に90度間隔で計四箇所、又は120度間隔で計三箇所に設けられていることを特徴とする。
請求項3記載の本発明は、請求項1に記載の風管ガイド体2において、リング材10の内径は、風管1の外径よりも5mm~50mm大きいことを特徴とする。
請求項4記載の本発明は、請求項1に記載の風管ガイド体2において、連結材20でリング材10同士が局所的に連結された円筒状の分割体を複数接続してなることを特徴とする。
請求項5記載の本発明は、請求項4に記載の風管ガイド体2において、接続されている分割体には、軸線が直線である直管分割体2aと、軸線が曲線である曲管分割体2bが、それぞれ一つ以上含まれることを特徴とする。
請求項6記載の本発明の風管装置は、請求項1から請求項5のいずれか一項に記載の風管ガイド体2と、風管ガイド体2に通す軟質の風管1とを備えたことを特徴する。
【発明の効果】
【0006】
本発明の風管ガイド体又は風管装置を用いることで、リング無しの軟管の折れ曲がりによる断面積の減少を防止できるため、分岐路などにおける風管にも硬管ではなくリング無しの軟管を用いることができる。
【図面の簡単な説明】
【0007】
本発明の一実施例による風管ガイド体を示す図
同風管を風管ガイド体に通した状態を示す写真
【発明を実施するための形態】
【0008】
本発明の第1の実施の形態による風管ガイド体は、地下路に配設される軟質の風管の曲がり部に適用する風管ガイド体であり、間隔をあけて軸方向に並ぶ環状のリング材とリング材同士を局所的に連結する連結材とにより曲管状を成しており、リング材の内径が風管の外径よりも大きく、曲管状の一端と他端は開口しており、曲管状の内側は風管が通される空間となっているものである。
本実施の形態によれば、軟管である風管の曲がり部は、風管ガイド体の内側に通されており、送風時に円管状となると風管ガイド体によってほぼ全周にわたり外側から支持されるため、折れ曲がりが生じず、円滑な空気の流れを維持することができる。また、風管ガイド体はリング材と連結材により構成されており硬管よりも軽量であること、及び硬管と軟管との接続が不要となることなどから、設置や移設作業等が容易となる。
【0009】
本発明の第2の実施の形態は、第1の実施の形態による風管ガイド体において、連結材は、周方向に90度間隔で計四箇所、又は120度間隔で計三箇所に設けられているものである。
本実施の形態によれば、リング材の形状維持と風管ガイド体の軽量化をバランスよく両立させることができる。
【0010】
本発明の第3の実施の形態は、第1の実施の形態による風管ガイド体において、リング材の内径は、風管の外径よりも5mm~50mm大きいものである。
本実施の形態によれば、風管の外径よりもリング材の内径を5mm以上大きくすることにより、風管は、軟質であることによる多少の伸びが生じたとしても、風管ガイド体の内側に収められている部分も収められていない部分と同じ大きさまで送風時に膨らむことができるので、風管のうち風管ガイド体が設けられている部分とその前後の部分とに段差が生じにくくなり、空気の流れを円滑なものとすることができる。また、リング材の内径を風管の外径+50mm以下に抑えることで、送風時に円管状となった風管がリング材と全周にわたって接触しやすくなり、折れ曲がりをより確実に防止して空気の流れを円滑なものとすることができる。
(【0011】以降は省略されています)
この特許をJ-PlatPat(特許庁公式サイト)で参照する
関連特許
個人
掘削機
4か月前
株式会社奥村組
地山探査方法
2か月前
株式会社奥村組
地山探査装置
2か月前
株式会社奥村組
地山探査装置
2か月前
株式会社奥村組
地山探査装置
2か月前
株式会社奥村組
シールド掘進機
24日前
株式会社奥村組
シールド掘進機
4か月前
花王株式会社
岩盤の掘削方法
3か月前
岐阜工業株式会社
トンネルセントル
24日前
個人
オープンシールド機
1か月前
個人
オープンシールド機
1か月前
株式会社奥村組
セグメントの組立方法
1か月前
株式会社奥村組
泥土圧シールド掘進機
5か月前
個人
箱形ルーフおよびその施工法
17日前
大阪瓦斯株式会社
牽引装置
5か月前
デンカ株式会社
静的破砕方法
1か月前
株式会社金澤製作所
発進坑口のエントランス装置
4か月前
地中空間開発株式会社
トンネル掘削機
10日前
個人
メタンハイドレート等海底鉱物資源の採取方法
2か月前
岐阜工業株式会社
トンネルセントルの妻板装置
2か月前
株式会社ケー・エフ・シー
トンネル水圧調整装置
1か月前
日鉄建材株式会社
構造物用補強リング及び構造物
18日前
株式会社奥村組
地山探査装置に用いる地山保持材
2か月前
戸田建設株式会社
掘削機切削部側壁
3か月前
株式会社奥村組
先行ビットおよびそれを備える掘削機
1か月前
株式会社奥村組
先行ビットおよびそれを備える掘削機
1か月前
株式会社大林組
カッタビット
5か月前
株式会社奥村組
シールド掘進機およびシールド掘進方法
1か月前
株式会社大林組
作業空間の養生設備
5か月前
鹿島建設株式会社
シールド掘進機
11日前
株式会社大林組
カッタビット
5か月前
株式会社奥村組
爆薬装填装置
11日前
西松建設株式会社
移動式型枠及び施工管理システム
5か月前
株式会社横河NSエンジニアリング
合成セグメント
2か月前
株式会社トーキンオール
延伸鋼管
1か月前
鹿島建設株式会社
掘進管理システム
5か月前
続きを見る
他の特許を見る