TOP
|
特許
|
意匠
|
商標
特許ウォッチ
Twitter
他の特許を見る
公開番号
2025132460
公報種別
公開特許公報(A)
公開日
2025-09-10
出願番号
2024030055
出願日
2024-02-29
発明の名称
車両側部構造
出願人
スズキ株式会社
代理人
個人
,
個人
,
個人
,
個人
,
個人
,
個人
主分類
B62D
25/04 20060101AFI20250903BHJP(鉄道以外の路面車両)
要約
【課題】ダッシュサイド部におけるパネル振動を抑制する。
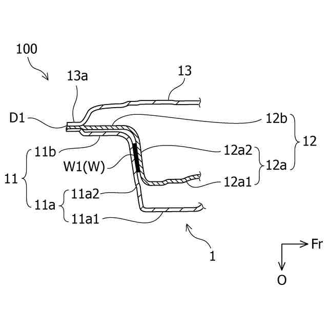
【解決手段】車両側部構造100は、車両側部の前側においてドアヒンジが取り付けられるダッシュサイド部1を含む。ダッシュサイド部1は、サイドボディアウタパネル11とサイドボディアウタパネル11に対して車幅方向内側に位置するヒンジリンフォース12とを有し、サイドボディアウタパネル11は、車両後方に臨み上下方向に延びる外側後壁11a2であって、ドアストッパの端部が取り付けられるドアストッパ取付部を有する外側後壁11a2を、有し、ヒンジリンフォース12は、外側後壁11a2に対向し上下方向に延びる内側後壁12a2を有し、外側後壁11a2と内側後壁12a2は、互いに、ドアストッパ取付部において接合されるとともに、ドアストッパ取付部に対して上方に設けられる上接合部Wにおいて接合されている。
【選択図】図4
特許請求の範囲
【請求項1】
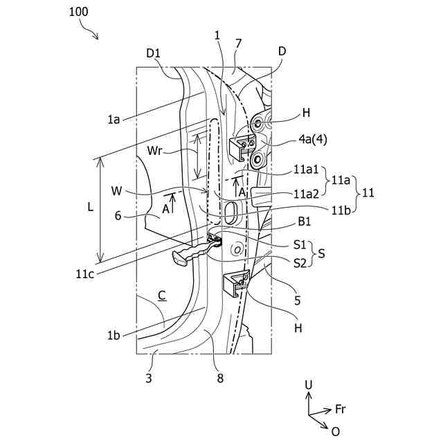
車両側部の前側に設けられるドア開口部の前縁の下側部分を構成するとともに前記ドア開口部を開閉するドアのヒンジが取り付けられるダッシュサイド部を含む、車両側部構造であって、
前記ダッシュサイド部は、サイドボディアウタパネルと該サイドボディアウタパネルに対して車幅方向内側に位置するヒンジリンフォースとを有し、上下方向に延びており、
前記サイドボディアウタパネルは、車両後方に臨み上下方向に延びる外側後壁であって、前記ドアの開度を規定するドアストッパの端部が取り付けられるドアストッパ取付部を有する外側後壁を、有し、
前記ヒンジリンフォースは、前記外側後壁に対向し上下方向に延びる内側後壁を有し、
前記外側後壁と前記内側後壁は、互いに、前記ドアストッパ取付部において接合されるとともに、前記ドアストッパ取付部に対して上方に設けられる上接合部において接合されている、ことを特徴とする車両側部構造。
続きを表示(約 530 文字)
【請求項2】
前記ダッシュサイド部の上方で前記ドア開口部の前縁の上側部分を構成するとともに、上方に向かうほど前記ダッシュサイド部から後方に離れるように延びるフロントピラー部と、
前記ダッシュサイド部の前側上部に接合され前方に延びるカウルサイドメンバと、
を更に含み、
前記上接合部は、前記ダッシュサイド部と前記カウルサイドメンバとの接合箇所に対して後方に位置する後方部分を含む、請求項1に記載の車両側部構造。
【請求項3】
前記上接合部は、前記ドアストッパ取付部から前記ダッシュサイド部の上端までの範囲内において、上下方向に所定の長さを有する範囲に設けられている、請求項1に記載の車両側部構造。
【請求項4】
前記ドアストッパ取付部から前記ダッシュサイド部の上端までの範囲の上下方向についての中心高さ位置を基準点とした場合に、前記上接合部の前記所定の長さを有する範囲は、前記基準点を含むように設けられている、請求項3に記載の車両側部構造。
【請求項5】
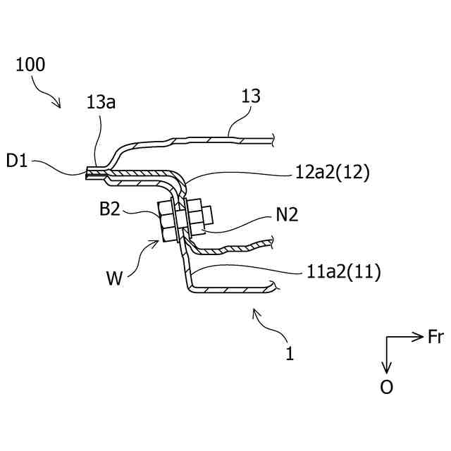
前記上接合部において、前記外側後壁と前記内側後壁とは接着剤によって接合されている、請求項1から4のいずれか一つに記載の車両側部構造。
発明の詳細な説明
【技術分野】
【0001】
本発明は、車両側部構造に関する。
続きを表示(約 1,800 文字)
【背景技術】
【0002】
一般に、車両側部の前側のドア(つまり、フロントサイドドア)は、車両側部の前側に設けられるドア開口部の前縁の下側部分を構成する上下方向に延びるダッシュサイド部に取り付けられたヒンジによって、回動可能に支持されている。
【0003】
ダッシュサイド部を有する車両側部構造の一例として、特許文献1に開示された車両側部構造が知られている。特許文献1に開示された車両側部構造では、ダッシュサイド部は、サイドボディアウタパネルと、このサイドボディアウタパネルの車内側に配置されるピラーヒンジリンフォースと、を有している。そして、ピラーヒンジリンフォースには、上下方向にわたって車外側に膨らんだヒンジ膨出部が形成されており、このヒンジ膨出部によって、ダッシュサイド部(ヒンジピラー部とも称され得る)の剛性の向上が図られている。
【先行技術文献】
【特許文献】
【0004】
特開2015-229369号公報
【発明の概要】
【発明が解決しようとする課題】
【0005】
しかしながら、特許文献1に開示された車両側部構造では、ダッシュサイド部(ヒンジピラー部)における相対的に剛性の低い部位において、パネル振動が生じるおそれがあり、当該車両側部構造では、振動騒音の点で改善の余地がある。
【0006】
そこで、本発明は、ダッシュサイド部におけるパネル振動を抑制することのできる構造を有した車両側部構造を提供することを目的とする。
【課題を解決するための手段】
【0007】
上記目的を達成するため本発明の一態様によると、車両側部の前側に設けられるドア開口部の前縁の下側部分を構成するとともに前記ドア開口部を開閉するドアのヒンジが取り付けられるダッシュサイド部を含む、車両側部構造が提供される。この車両側部構造において、前記ダッシュサイド部は、サイドボディアウタパネルと該サイドボディアウタパネルに対して車幅方向内側に位置するヒンジリンフォースとを有し、上下方向に延びており、前記サイドボディアウタパネルは、車両後方に臨み上下方向に延びる外側後壁であって、前記ドアの開度を規定するドアストッパの端部が取り付けられるドアストッパ取付部を有する外側後壁を、有し、前記ヒンジリンフォースは、前記外側後壁に対向し上下方向に延びる内側後壁を有し、前記外側後壁と前記内側後壁は、互いに、前記ドアストッパ取付部において接合されるとともに、前記ドアストッパ取付部に対して上方に設けられる上接合部において接合されている。
【発明の効果】
【0008】
本発明の一態様によれば、ダッシュサイド部におけるパネル振動を抑制することのできる構造を有した車両側部構造を提供することができる。
【図面の簡単な説明】
【0009】
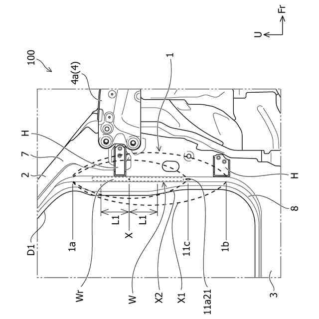
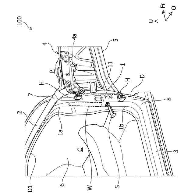
本発明の実施形態に係る車両側部構造を車幅方向外側から視た斜視図である。
図1の部分拡大図である。
車両側部構造の内部構造を説明するための斜視図である。
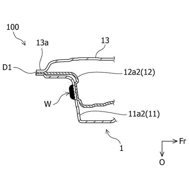
図2に示すA-A線におけるダッシュサイド部の部分断面図である。
車両側部構造における外側後壁と内側後壁との接合構造について説明するための図である。
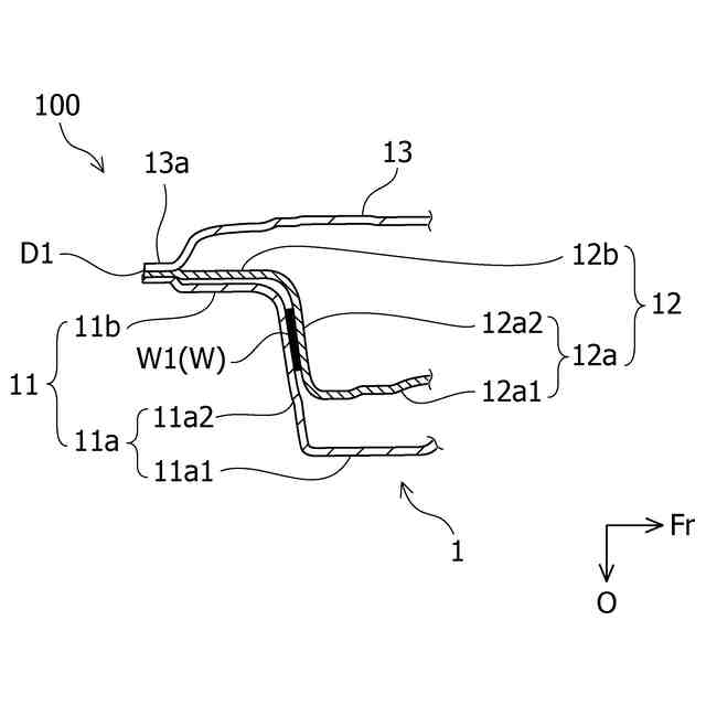
上接合部の変形例を説明するための図である。
上接合部の別の変形例を説明するための図である。
【発明を実施するための形態】
【0010】
以下、本発明の実施の形態について添付図面を参照して説明する。図1は本発明の一実施形態に係る車両側部構造を車幅方向外側から視た斜視図であり、図2は図1の部分拡大図である。なお、図において、矢印Fr方向は車両前後方向で車両前方を示し、矢印O方向は車幅方向で外方を示し、矢印U方向は車両上下方向で上方を示している。以下の説明における「前」及び「後」は車両前後方向における前及び後に対応し、「上」及び「下」は車両上下方向における上及び下に対応している。また、本実施形態では、車幅方向については、車室内から車両前方を視た状態で、「左」及び「右」が規定されている。
(【0011】以降は省略されています)
この特許をJ-PlatPat(特許庁公式サイト)で参照する
関連特許
個人
カート
3か月前
個人
走行装置
4か月前
個人
三輪バイク
4日前
個人
乗り物
5か月前
個人
電動走行車両
4か月前
個人
駐輪設備
1か月前
個人
折り畳み自転車
10か月前
個人
電動モビリティ
7か月前
個人
自転車用歩数計
12日前
個人
閂式ハンドル錠
4か月前
個人
発音装置
7か月前
個人
ボギー・フレーム
2か月前
個人
自転車用傘捕捉具
12か月前
個人
ルーフ付きトライク
2か月前
個人
体重掛けリフト台車
11か月前
個人
自由方向乗車自転車
7か月前
個人
“zen-go.”
2か月前
個人
ルーフ付きトライク
3か月前
個人
三輪電動車両
12日前
個人
パワーアシスト自転車
2か月前
個人
自転車用荷物台
11か月前
個人
キャンピングトライク
9か月前
個人
アタッチメント
12か月前
個人
ステアリングの操向部材
9か月前
個人
フロントフットブレーキ。
4か月前
株式会社豊田自動織機
産業車両
4か月前
株式会社三五
リアサブフレーム
10か月前
個人
ホイールハブ駆動構造
4か月前
個人
乗用自動車のディフューザー
1か月前
学校法人千葉工業大学
車両
10か月前
学校法人千葉工業大学
車両
10か月前
学校法人千葉工業大学
車両
10か月前
豊田鉄工株式会社
小型車両
3か月前
個人
自転車の駐輪場システム
6か月前
ヤマハ発動機株式会社
自転車
4か月前
株式会社カインズ
台車
10か月前
続きを見る
他の特許を見る