TOP
|
特許
|
意匠
|
商標
特許ウォッチ
Twitter
他の特許を見る
10個以上の画像は省略されています。
公開番号
2025133154
公報種別
公開特許公報(A)
公開日
2025-09-11
出願番号
2024030917
出願日
2024-03-01
発明の名称
ダイナミックダンパ及びプロペラシャフト
出願人
Astemo株式会社
代理人
個人
,
個人
,
個人
主分類
F16F
15/12 20060101AFI20250904BHJP(機械要素または単位;機械または装置の効果的機能を生じ維持するための一般的手段)
要約
【課題】第1弾性部材による筒状部材の保持力の低下を抑制することができるダイナミックダンパ及びプロペラシャフトを提供する。
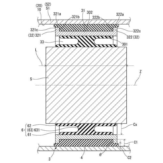
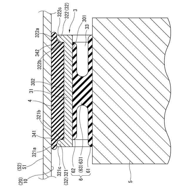
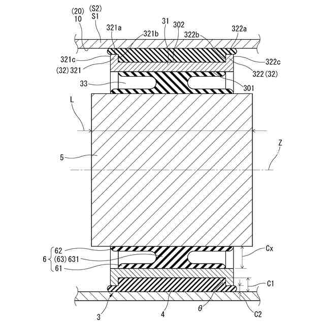
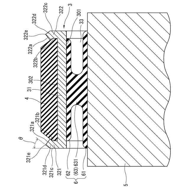
【解決手段】本発明に係るダイナミックダンパDD及びプロペラシャフトPSでは、筒状部材3の外周面302の軸方向両端部に、一対の端壁部である第1端壁部321及び第2端壁部322が設けられ、第1弾性部材4が、筒状部材3の外周面302と第1、第2端壁部322とからなる3つの面によって拘束され、軸方向に切断した断面において径方向から視たときに、第1弾性部材4の径方向長さが、筒状部材3の第1、第2端壁部321,322よりも大きくなっている。これにより、第1弾性部材4が熱老化により亀裂が発生した場合も、第1、第2端壁部321,322が第1弾性部材4の軸方向の逃げを抑制し、第1弾性部材4による筒状部材3の保持力の低下を抑制することができる。
【選択図】図5
特許請求の範囲
【請求項1】
円筒状の起振部材の内周側に収容される筒状部材と、
前記筒状部材の外周面に設けられ、前記起振部材の内周面において前記筒状部材を弾性的に支持する第1弾性部材と、
前記筒状部材の内周側に配置されるウエイト部材と、
前記筒状部材の内周面において前記ウエイト部材を弾性的に支持する第2弾性部材と、
を備え、
前記筒状部材は、軸方向の両端部に、前記筒状部材の外周面から径方向の外側へ向かって延びる一対の端壁部を有し、
前記軸方向に切断した断面において前記径方向から視たとき、前記第1弾性部材の径方向長さは、前記一対の端壁部の径方向長さよりも大きい、
ことを特徴とするダイナミックダンパ。
続きを表示(約 940 文字)
【請求項2】
請求項1に記載のダイナミックダンパであって、
前記一対の端壁部は、前記筒状部材の全周にわたって設けられている、
ことを特徴とするダイナミックダンパ。
【請求項3】
請求項1に記載のダイナミックダンパであって、
前記一対の端壁部の前記径方向の長さは、前記筒状部材の前記径方向の長さの1/2以上に設定されている、
ことを特徴とするダイナミックダンパ。
【請求項4】
請求項1に記載のダイナミックダンパであって、
前記一対の端壁部は、前記筒状部材の外周面に対して前記径方向の外側へ垂直に延びる、
ことを特徴とするダイナミックダンパ。
【請求項5】
請求項1に記載のダイナミックダンパであって、
前記一対の端壁部は、前記筒状部材の外周面に対して前記径方向の外側へ、かつ前記軸方向の内側へ傾倒するように傾斜状に延びる、
ことを特徴とするダイナミックダンパ。
【請求項6】
請求項1~5のいずれか一項に記載のダイナミックダンパであって、
前記一対の端壁部は、それぞれ前記第1弾性部材に臨む先端部の内側縁に、前記軸方向の断面が円弧状をなすR面取り部を有する、
ことを特徴とするダイナミックダンパ。
【請求項7】
車体に支持され、回転力を伝達する筒状のチューブと、
前記チューブの内周側に収容される筒状部材と、
前記筒状部材の外周面に設けられ、前記起振部材の内周面において前記筒状部材を弾性的に支持する第1弾性部材と、
前記筒状部材の内周側に配置されるウエイト部材と、
前記筒状部材の内周面において前記ウエイト部材を弾性的に支持する第2弾性部材と、
を備え、
前記筒状部材は、前記チューブの回転軸の方向において、前記筒状部材の両端部に、前記筒状部材の外周面から前記回転軸の方向に対する径方向の外側へ向かって延びる一対の端壁部を有し、
前記第1弾性部材の径方向長さは、前記一対の端壁部の径方向長さよりも大きい、
ことを特徴とするプロペラシャフト。
発明の詳細な説明
【技術分野】
【0001】
本発明は、ダイナミックダンパ及びプロペラシャフトに関する。
続きを表示(約 1,400 文字)
【背景技術】
【0002】
従来のダイナミックダンパとしては、例えば以下の特許文献1に記載されたものが知られている。
【0003】
概略を説明すれば、このダイナミックダンパは、起振部材の内周側に収容される筒状部材と、筒状部材の外周側に設けられ、起振部材の内周面に筒状部材を弾性的に支持する第1弾性部材と、筒状部材の内周側に配置されるウエイト部材と、筒状部材とウエイト部材との間に介装され、筒状部材の内周面にウエイト部材を弾性的に支持する第2弾性部材と、を備えている。
【先行技術文献】
【特許文献】
【0004】
特開2010-216578号公報
【発明の概要】
【発明が解決しようとする課題】
【0005】
しかしながら、前記従来のダイナミックダンパでは、前記第1弾性部材が、筒状部材の軸方向に解放されている。このため、第1弾性部材が熱老化により亀裂が発生した際に、当該第1弾性部材の圧縮力が解放されてしまい、軸方向へ逃げやすくなってしまう。これにより、第1弾性部材の保持力の低下を招来してしまうおそれがある点で、なおも改善の余地が残されていた。
【0006】
そこで、本発明は、前記従来のダイナミックダンパの技術的課題に鑑みて案出されたものであり、第1弾性部材による筒状部材の保持力の低下を抑制することができるダイナミックダンパ及びプロペラシャフトを提供することを目的としている。
【課題を解決するための手段】
【0007】
本発明は、その一態様として、筒状部材には軸方向の両端部の外周面に端壁部がそれぞれ設けられていて、軸方向に切断した断面において径方向から視たときに、第1弾性部材の径方向長さが前記筒状部材の前記端壁部の径方向長さよりも大きくなっている。
【発明の効果】
【0008】
本発明によれば、第1弾性部材による筒状部材の保持力の低下を抑制することができる。
【図面の簡単な説明】
【0009】
本発明に係るダイナミックダンパを備えたプロペラシャフトの回転軸の方向に沿う半断面図である。
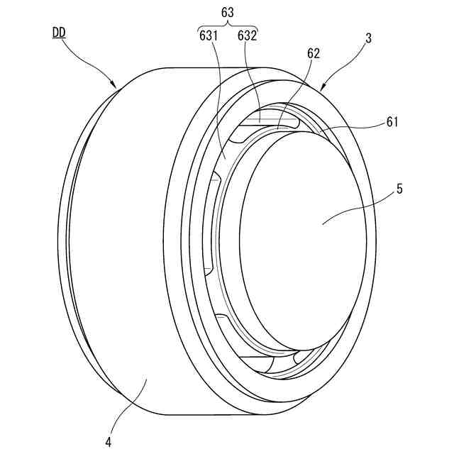
本発明の第1実施形態に係るダイナミックダンパの斜視図である。
図2に示すダイナミックダンパの正面図である。
図3のA-A線断面図である。
図4に示すダイナミックダンパの取付状態を示すプロペラシャフトの軸方向断面図である。
本発明の第2実施形態に係るダイナミックダンパの軸方向の断面図である。
図6に示すダイナミックダンパの取付状態を示すプロペラシャフトの軸方向断面図である。
本発明の第3実施形態に係るダイナミックダンパの軸方向の断面図である。
図8に示すダイナミックダンパの取付状態を示すプロペラシャフト軸方向断面図である。
【発明を実施するための形態】
【0010】
以下に、本発明に係るダイナミックダンパ及びプロペラシャフトの実施形態を図面に基づいて詳述する。なお、下記の実施形態では、ダイナミックダンパ及びプロペラシャフトを、従来と同様に、自動車用のプロペラシャフトに適用したものを例示して説明する。換言すれば、本発明に係るダイナミックダンパについては、本実施形態において例示する自動車用のプロペラシャフトのほか、種々の起振部材に適用することができる。
(【0011】以降は省略されています)
この特許をJ-PlatPat(特許庁公式サイト)で参照する
関連特許
Astemo株式会社
緩衝器
3日前
Astemo株式会社
電子制御装置
2日前
本田技研工業株式会社
車両の制御装置及び制御方法
2日前
Astemo株式会社
外界認識装置、および、外界認識方法
5日前
個人
鍋虫ねじ
1か月前
個人
回転伝達機構
2か月前
個人
ホース保持具
5か月前
個人
紛体用仕切弁
1か月前
個人
トーションバー
6か月前
個人
差動歯車用歯形
3か月前
個人
ジョイント
23日前
個人
給排気装置
5日前
個人
ナット
24日前
個人
ボルトナットセット
6か月前
株式会社不二工機
電磁弁
5か月前
個人
回転式配管用支持具
7か月前
個人
地震の揺れ回避装置
2か月前
株式会社不二工機
電磁弁
3か月前
個人
吐出量監視装置
1か月前
カヤバ株式会社
緩衝器
3か月前
カヤバ株式会社
緩衝器
7か月前
カヤバ株式会社
ダンパ
3か月前
柿沼金属精機株式会社
分岐管
1か月前
カヤバ株式会社
緩衝器
4日前
個人
ベルトテンショナ
7か月前
カヤバ株式会社
緩衝器
3か月前
株式会社三協丸筒
枠体
6か月前
カヤバ株式会社
ダンパ
3か月前
株式会社ノーリツ
分配弁
9日前
日東精工株式会社
樹脂被覆ねじ
7か月前
個人
角型菅の連結構造及び工法
7か月前
個人
固着具と固着具の固定方法
4か月前
個人
固着具と固着具の固定方法
4か月前
個人
固着具と固着具の固定方法
6か月前
個人
固着具と固着具の固定方法
4か月前
株式会社不二工機
電動弁
5日前
続きを見る
他の特許を見る